公布日:2023.12.15
申請日:2023.11.01
分類號:C02F1/52(2023.01)I;C02F1/00(2023.01)I;B60S3/04(2006.01)I;C02F103/44(2006.01)N
摘要
本發明涉及廢水循環利用技術領域,具體涉及一種攪拌車洗車廢水循環利用裝置,包括凈化臺,凈化臺內設置有中空管狀結構的凈化單元,凈化單元內固定設置有推動氣缸,推動氣缸的伸縮端固定安裝有第一推板,第一推板上固定安裝有驅動電機,驅動電機的輸出軸上固定安裝有轉動軸,轉動軸上轉動連接有第二推板,轉動軸的底部設置有分離機構。本發明通過推動氣缸帶動第二推板和分離機構移動至指定位置,使定量的廢水和沉淀劑在指定的腔室中進行定量反應,通過推動氣缸帶動分離機構下移,配合輔助機構使分離環上移,使凈化后的水流入移動塞下面的腔室中,并使沉淀物留在移動塞的上表面,通過循環機構將水泵出進行循環利用。

權利要求書
1.一種攪拌車洗車廢水循環利用裝置,包括凈化臺(1),凈化臺(1)內開設有廢水槽(101),廢水槽(101)的內壁上固定設置有中空管狀結構的凈化單元(2),其特征在于:所述凈化單元(2)的頂部和底部均密封,凈化單元(2)內固定設置有推動氣缸(21),推動氣缸(21)的伸縮端通過支架固定安裝有第一推板(22),第一推板(22)與凈化單元(2)的內壁抵觸,第一推板(22)的頂部固定安裝有驅動電機(23),驅動電機(23)的輸出軸貫穿第一推板(22),驅動電機(23)的輸出軸上固定安裝有轉動軸(24),轉動軸(24)上轉動連接有第二推板(25),轉動軸(24)遠離驅動電機(23)的一端并位于第一推板(22)的底部設置有分離機構;所述分離機構由移動塞(3)、分離環(4)組成,移動塞(3)轉動連接在轉動軸(24)遠離驅動電機(23)的一端,分離環(4)滑動連接在移動塞(3)的外環壁上,分離環(4)的外環壁與凈化單元(2)的內壁抵觸,分離環(4)的內環壁上開設有弧形結構的過濾槽(41),過濾槽(41)的內壁上固定安裝有過濾板(42),轉動軸(24)的外壁上固定安裝有若干弧形結構的攪動葉片(5),凈化單元(2)內設置有輔助機構(6)和循環機構;所述循環機構由抽水泵(71)、送水泵(72)、C字形中空結構的洗車臺(73)組成,抽水泵(71)和送水泵(72)均通過支架固定安裝在廢水槽的內壁上,抽水泵(71)上固定安裝有三相電控閥(8),三相電控閥(8)的輸入端固定安裝有抽水管(9),三相電控閥(8)的三個接口分別通過水管連通有蓄水池(10)、沉淀液池(11)和凈化單元(2),送水泵(72)通過送水管與凈化單元(2)相連通,洗車臺(73)固定安裝在凈化臺(1)的一側,洗車臺(73)的頂部固定安裝有增壓閥(12),增壓閥(12)通過水管與送水泵(72)相連通,增壓閥(12)通過水管與洗車臺(73)相連通,增壓閥(12)和送水泵(72)之間連通有混合閥(13),混合閥(13)通過水管與外接水源連通;所述洗車臺(73)的底部固定安裝有支撐臺(14),支撐臺(14)上開設有凹槽(141),凹槽(141)的內壁上固定安裝有過濾結構(142),凹槽(141)的內壁上開設有連通槽(143),連通槽(143)與廢水槽(101)相連通,凹槽(141)之間固定設置有傳送裝置,傳送裝置的外側套設有過濾帶(144),支撐臺(14)的頂部開設有斜面(145),斜面(145)與過濾帶(144)抵觸;所述分離環(4)的底部固定安裝有環形結構的導液環(15);所述分離環(4)上開設有廢料槽(43),廢料槽(43)與過濾槽(41)呈交替設置,凈化單元(2)上開設有出料口(16),出料口(16)與廢料槽(43)一一對應,攪動葉片(5)的底部開設有缺口(51),攪動葉片(5)上轉動連接有轉動桿(52),轉動桿(52)的底部位于缺口(51)上固定安裝有轉動葉片(54),轉動桿(52)的頂部固定安裝有轉動輪(53),轉動輪(53)與凈化單元(2)的內壁抵觸,凈化單元(2)的底部固定安裝有收集機構(17),收集機構(17)與出料口(16)相連通。
2.根據權利要求1所述的一種攪拌車洗車廢水循環利用裝置,其特征在于:所述輔助機構(6)由連接桿(61)、聯動盤(62)和圓柱形結構的固定臺(63)組成,固定桿固定安裝在分離環(4)的底部,聯動盤(62)固定安裝在連接桿(61)的底部,固定臺(63)固定安裝在凈化單元(2)的內壁上,聯動盤(62)上開設有兩個對稱設置的通孔(64),固定臺(63)的頂部固定安裝有插桿(65),插桿(65)與通孔(64)一一對應并貫穿對應設置的通孔(64)。
3.根據權利要求2所述的一種攪拌車洗車廢水循環利用裝置,其特征在于:所述聯動盤(62)上固定安裝有弧形結構的擋板(18),擋板(18)與出料口(16)一一對應。
4.根據權利要求1所述的一種攪拌車洗車廢水循環利用裝置,其特征在于:所述凈化單元(2)的內壁上固定安裝有若干均勻分布的彈簧拉桿(19),彈簧拉桿(19)的伸縮端固定安裝在聯動盤(62)的底部。
發明內容
本發明的目的是為了解決背景技術中的問題,而提出的一種攪拌車洗車廢水循環利用裝置。
為了實現上述目的,本發明采用了如下技術方案:一種攪拌車洗車廢水循環利用裝置,包括凈化臺,凈化臺內開設有廢水槽,廢水槽的內壁上固定設置有中空管狀結構的凈化單元,所述凈化單元的頂部和底部均密封,凈化單元內固定設置有推動氣缸,推動氣缸的伸縮端通過支架固定安裝有第一推板,第一推板與凈化單元的內壁抵觸,第一推板的頂部固定安裝有驅動電機,驅動電機的輸出軸貫穿第一推板,驅動電機的輸出軸上固定安裝有轉動軸,轉動軸上轉動連接有第二推板,轉動軸遠離驅動電機的一端并位于第一推板的底部設置有分離機構;
所述分離機構由移動塞、分離環組成,移動塞轉動連接在轉動軸遠離驅動電機的一端,分離環滑動連接在移動塞的外環壁上,分離環的外環壁與凈化單元的內壁抵觸,分離環的內環壁上開設有弧形結構的過濾槽,過濾槽的內壁上固定安裝有過濾板,轉動軸的外壁上固定安裝有若干弧形結構的攪動葉片,攪動葉片與轉動軸相切,凈化單元內設置有輔助機構和循環機構。
在上述的一種攪拌車洗車廢水循環利用裝置中,所述輔助機構由連接桿、聯動盤和圓柱形結構的固定臺組成,固定桿固定安裝在分離環的底部,聯動盤固定安裝在連接桿的底部,固定臺固定安裝在凈化單元的內壁上,聯動盤上開設有兩個對稱設置的通孔,固定臺的頂部固定安裝有插桿,插桿與通孔一一對應并貫穿對應設置的通孔。
在上述的一種攪拌車洗車廢水循環利用裝置中,所述循環機構由抽水泵、送水泵、C字形中空結構的洗車臺組成,抽水泵和送水泵均通過支架固定安裝在廢水槽的內壁上,抽水泵上固定安裝有三相電控閥,三相電控閥的輸入端固定安裝有抽水管,三相電控閥的三個接口分別通過水管連通有蓄水池、沉淀液池和凈化單元,洗車臺固定安裝在凈化臺的一側,洗車臺的頂部固定安裝有增壓閥,增壓閥通過水管與送水泵相連通,增壓閥通過水管與洗車臺相連通,增壓閥和送水泵之間連通有混合閥,混合閥通過水管與外接水源連通,凈化單元連通有儲存罐,送水泵與儲存罐相連通。
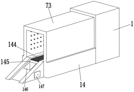
在上述的一種攪拌車洗車廢水循環利用裝置中,所述洗車臺的底部固定安裝有支撐臺,支撐臺上開設有凹槽,凹槽的內壁上固定安裝有過濾結構,凹槽的內壁上開設有連通槽,連通槽與廢水槽相連通,凹槽之間固定設置有傳送裝置,傳送裝置的外側套設有過濾帶,支撐臺的頂部開設有斜面,支撐臺的一側開設有泥渣槽,泥渣槽的頂部貫通斜面的上表面,泥渣槽內插設有拉箱,斜面與過濾帶抵觸。
在上述的一種攪拌車洗車廢水循環利用裝置中,所述分離環的底部固定安裝有環形結構的導液環。
在上述的一種攪拌車洗車廢水循環利用裝置中,所述分離環上開設有廢料槽,廢料槽與過濾槽呈交替設置,凈化單元上開設有出料口,出料口與廢料槽一一對應,攪動葉片的底部開設有缺口,攪動葉片上轉動連接有轉動桿,轉動桿的底部并位于缺口上固定安裝有轉動葉片,轉動桿的頂部固定安裝有轉動輪,轉動輪與凈化單元的內壁抵觸,凈化單元的底部固定安裝有收集機構,收集機構與出料口相連通。
在上述的一種攪拌車洗車廢水循環利用裝置中,所述聯動盤上固定安裝有弧形結構的擋板,擋板與出料口一一對應。
在上述的一種攪拌車洗車廢水循環利用裝置中,所述凈化單元的內壁上固定安裝有若干均勻分布的彈簧拉桿,彈簧拉桿的伸縮端固定安裝在聯動盤的底部。
與現有的技術相比,本發明的優點在于:1、本發明設計了推動氣缸、第二推板和分離機構,通過推動氣缸帶動第二推板和分離機構移動至指定位置,使定量的廢水和沉淀劑在指定的腔室中進行定量反應,通過推動氣缸帶動分離機構下移,配合輔助機構使分離環上移,使凈化后的水流入移動塞下面的腔室中,并使沉淀物留在移動塞的上表面通過,通過循環機構將水泵出進行循環利用。
2、本發明設計了攪動葉片、轉動桿、轉動輪和轉動葉片,通過推動氣缸帶動分離環下移指定距離,使廢料槽與出料口相對應,通過驅動電機帶動攪動葉片轉動,配合轉動輪抵觸凈化單元的內壁,使轉動輪帶動轉動葉片旋轉,通過攪動葉片的弧形面將沉淀物刮至攪動葉片的邊緣處,通過轉動葉片將邊緣處的沉淀物通過廢料槽和出料口送至收集機構中,實現了對沉淀物的清潔和收集,避免沉淀物堆積。
3、本發明設計了過濾帶和斜面,通過過濾帶的滾動,使不溶于水的顆粒雜質通過過濾帶按照指定方向運輸,使泥水進入凹槽中進行初步過濾,配合斜面抵觸過濾帶,使顆粒附著物通過斜面被去除,提高了廢水的凈化效率。
(發明人:陳守偉;孔偉;陳書偉;季桂強;陳利齊;張魯)






