公布日:2023.12.15
申請日:2023.10.31
分類號:B01D29/03(2006.01)I;B01D29/68(2006.01)I;B01D29/72(2006.01)I;C02F1/00(2023.01)I;C02F103/34(2006.01)N;C02F101/30(2006.01)N
摘要
本發明公開了一種農藥廢水處理用循環反洗裝置及其實施方法,屬于農藥廢水處理裝置反洗處理領域。一種農藥廢水處理用循環反洗裝置,包括裝置底座,裝置底座的上端設置有農藥過濾桶,農藥過濾桶的前后兩端均設置有支撐固定架。本發明解決了現有高效反洗裝置是通過水流以及氣體的沖擊完成清洗,而單純的液體流動以及氣體沖擊不能使得異物松動后順利的排出,沒有浸泡會造成松動的異物進一步進入過濾結構的內部,會影響反洗的效率的問題,本發明通過旋轉調整裝置底座的朝向,裝置底座朝向的調整可使得排出的液體先沖刷農藥過濾網,農藥過濾網受到沖刷后隨著液體的接觸而逐步浸泡。

權利要求書
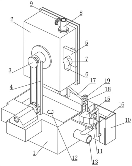
1.一種農藥廢水處理用循環反洗裝置,包括裝置底座(1),所述裝置底座(1)的上端設置有農藥過濾桶(2),其特征在于,所述農藥過濾桶(2)的前后兩端均設置有支撐固定架(4),所述支撐固定架(4)與農藥過濾桶(2)之間通過角度調整軸(3)轉動連接,所述農藥過濾桶(2)內部的上端設置有超聲波發生組件(26),所述超聲波發生組件(26)的下端設置有農藥過濾網(24),所述農藥過濾網(24)的下端橫向設置有排水噴頭(23)。
2.根據權利要求1所述的一種農藥廢水處理用循環反洗裝置,其特征在于:所述排水噴頭(23)的一端設置有第二扇形傳動齒輪(22),所述第二扇形傳動齒輪(22)外部的一側設置有第一扇形傳動齒輪(21),所述第一扇形傳動齒輪(21)的外部與第二扇形傳動齒輪(22)的外部嚙合連接,所述第一扇形傳動齒輪(21)的一端設置有配重塊(6)。
3.根據權利要求2所述的一種農藥廢水處理用循環反洗裝置,其特征在于:所述配重塊(6)與第一扇形傳動齒輪(21)之間通過轉動連接軸(7)轉動連接,所述轉動連接軸(7)外部的一側設置有連接片(5),所述連接片(5)的內部與轉動連接軸(7)的外部轉動連接,所述連接片(5)的一側與農藥過濾桶(2)的外壁焊接固定。
4.根據權利要求3所述的一種農藥廢水處理用循環反洗裝置,其特征在于:所述農藥過濾桶(2)的上下兩端均設置有密封閥門(8),所述密封閥門(8)設置有兩個,兩個所述密封閥門(8)分別位于裝置底座(1)的上下兩端,且密封閥門(8)均與裝置底座(1)密封連接。
5.根據權利要求4所述的一種農藥廢水處理用循環反洗裝置,其特征在于:所述裝置底座(1)內部的中間設置有三通閥門(25),所述三通閥門(25)的上端設置有落水口(12),所述三通閥門(25)的一側設置有第一朝向排水口(13),所述三通閥門(25)的另一側設置有第二朝向排水口(14)。
6.根據權利要求5所述的一種農藥廢水處理用循環反洗裝置,其特征在于:所述第一朝向排水口(13)外部的上端設置有抽液泵(15),所述抽液泵(15)的一端設置有儲水桶(11),所述儲水桶(11)抽取位置與第一朝向排水口(13)之間通過分流連接管(16)密封連接。
7.根據權利要求6所述的一種農藥廢水處理用循環反洗裝置,其特征在于:所述抽液泵(15)排水位置與儲水桶(11)之間通過其中一條傳輸軟管(17)密封連接,所述排水噴頭(23)和儲水桶(11)之間通過其中另一條所述傳輸軟管(17)密封連接。
8.根據權利要求7所述的一種農藥廢水處理用循環反洗裝置,其特征在于:所述農藥過濾桶(2)的外部環狀設置有兩條導向條(9),兩條導向條(9)的間距與傳輸軟管(17)的口徑相同,所述傳輸軟管(17)在農藥過濾桶(2)旋轉調整朝向的時候于兩個導向條(9)之間固定,兩個所述導向條(9)之間焊接設置有管道限制條(20)。
9.根據權利要求8所述的一種農藥廢水處理用循環反洗裝置,其特征在于:所述儲水桶(11)上端朝向落水口(12)的一側焊接設置有固定支撐架(18),所述固定支撐架(18)內部的上下兩端均設置有限制滾輪(19),兩個所述限制滾輪(19)之間的間距與傳輸軟管(17)的口徑相同。
10.基于權利要求9所述的農藥廢水處理用循環反洗裝置的實施方法,其特征在于:包括如下步驟:步驟一、液體進入農藥過濾桶(2)并接觸農藥過濾網(24),液體穿過農藥過濾網(24)完成初步過濾;步驟二、液體處理完成后開啟其中另一個密封閥門(8),可將農藥過濾桶(2)內完全處理液體排出至裝置底座(1)上端,開啟三通閥門(25),排出至裝置底座(1)內的液體由落水口(12)流動后穿過三通閥門(25)并由第一朝向排水口(13)排出;步驟三、啟動抽液泵(15),抽液泵(15)通過分流連接管(16)抽取第一朝向排水口(13)內流動的一部分液體,通過儲水桶(11)進行臨時儲存;步驟四、電機輸出軸通過傳動帶帶動農藥過濾桶(2)以角度調整軸(3)為圓心轉動,轉動的同時會帶動后端的第一扇形傳動齒輪(21)進行旋轉,第一扇形傳動齒輪(21)會通過第二扇形傳動齒輪(22)帶動排水噴頭(23)進行轉動;步驟五、由一對導向條(9)和兩個導向條(9)之間的管道限制條(20)拉動傳輸軟管(17),使得傳輸軟管(17)纏繞放置于兩個導向條(9)之間;步驟六、液體通過排水噴頭(23)排出后會首先沖刷農藥過濾網(24),農藥過濾網(24)受到沖刷后表面的碎末會產生松動,隨著排水噴頭(23)的持續排出,液體會由裝置底座(1)匯聚并逐步浸泡農藥過濾網(24);步驟七、啟動超聲波發生組件(26),超聲波發生組件(26)產生的超聲波會震動農藥過濾網(24),使得農藥過濾網(24)表面松動的碎末脫落;步驟八、使得液體排出后由落水口(12)排出,排出后通過第二朝向排水口(14)朝向另一個位置排出。
發明內容
本發明的目的在于提供一種農藥廢水處理用循環反洗裝置及其實施方法,通過旋轉調整裝置底座的朝向,裝置底座朝向的調整可使得排出的液體先沖刷農藥過濾網,農藥過濾網受到沖刷后隨著液體的接觸而逐步浸泡,解決了上述背景技術中提出的問題。
為實現上述目的,本發明提供如下技術方案:一種農藥廢水處理用循環反洗裝置,包括裝置底座,所述裝置底座的上端設置有農藥過濾桶,所述農藥過濾桶的前后兩端均設置有支撐固定架,所述支撐固定架與農藥過濾桶之間通過角度調整軸轉動連接,所述農藥過濾桶內部的上端設置有超聲波發生組件,所述超聲波發生組件的下端設置有農藥過濾網,所述農藥過濾網的下端橫向設置有排水噴頭。
優選的,所述排水噴頭的一端設置有第二扇形傳動齒輪,所述第二扇形傳動齒輪外部的一側設置有第一扇形傳動齒輪,所述第一扇形傳動齒輪的外部與第二扇形傳動齒輪的外部嚙合連接,所述第一扇形傳動齒輪的一端設置有配重塊。
優選的,所述配重塊與第一扇形傳動齒輪之間通過轉動連接軸轉動連接,所述轉動連接軸外部的一側設置有連接片,所述連接片的內部與轉動連接軸的外部轉動連接,所述連接片的一側與農藥過濾桶的外壁焊接固定。
優選的,所述農藥過濾桶的上下兩端均設置有密封閥門,所述密封閥門設置有兩個,兩個所述密封閥門分別位于裝置底座的上下兩端,且密封閥門均與裝置底座密封連接。
優選的,所述裝置底座內部的中間設置有三通閥門,所述三通閥門的上端設置有落水口,所述三通閥門的一側設置有第一朝向排水口,所述三通閥門的另一側設置有第二朝向排水口。
優選的,所述第一朝向排水口外部的上端設置有抽液泵,所述抽液泵的一端設置有儲水桶,所述儲水桶抽取位置與第一朝向排水口之間通過分流連接管密封連接。
優選的,所述抽液泵排水位置與儲水桶之間通過其中一條傳輸軟管密封連接,所述排水噴頭和儲水桶之間通過其中另一條所述傳輸軟管密封連接。
優選的,所述農藥過濾桶的外部環狀設置有兩條導向條,兩條導向條的間距與傳輸軟管的口徑相同,所述傳輸軟管在農藥過濾桶旋轉調整朝向的時候于兩個導向條之間固定,兩個所述導向條之間焊接設置有管道限制條。
優選的,所述儲水桶上端朝向落水口的一側焊接設置有固定支撐架,所述固定支撐架內部的上下兩端均設置有限制滾輪,兩個所述限制滾輪之間的間距與傳輸軟管的口徑相同。
農藥廢水處理用循環反洗裝置的實施方法,包括如下步驟:
步驟一、液體進入農藥過濾桶并接觸農藥過濾網,液體穿過農藥過濾網完成初步過濾;
步驟二、液體處理完成后開啟其中另一個密封閥門,可將農藥過濾桶內完全處理液體排出至裝置底座上端,開啟三通閥門,排出至裝置底座內的液體由落水口流動后穿過三通閥門并由第一朝向排水口排出;
步驟三、啟動抽液泵,抽液泵通過分流連接管抽取第一朝向排水口內流動的一部分液體,通過儲水桶進行臨時儲存;
步驟四、電機輸出軸通過傳動帶帶動農藥過濾桶以角度調整軸為圓心轉動,轉動的同時會帶動后端的第一扇形傳動齒輪進行旋轉,第一扇形傳動齒輪會通過第二扇形傳動齒輪帶動排水噴頭進行轉動;
步驟五、由一對導向條和兩個導向條之間的管道限制條拉動傳輸軟管,使得傳輸軟管纏繞放置于兩個導向條之間;
步驟六、液體通過排水噴頭排出后會首先沖刷農藥過濾網,農藥過濾網受到沖刷后表面的碎末會產生松動,隨著排水噴頭的持續排出,液體會由裝置底座匯聚并逐步浸泡農藥過濾網;
步驟七、啟動超聲波發生組件,超聲波發生組件產生的超聲波會震動農藥過濾網,使得農藥過濾網表面松動的碎末脫落;
步驟八、使得液體排出后由落水口排出,排出后通過第二朝向排水口朝向另一個位置排出。
與現有技術相比,本發明的有益效果是:
1、本發明通過裝置底座在反沖的過程中通過角度調整軸外部連接的傳動帶帶動,傳動轉動裝置底座,使得裝置底座直接翻轉,關閉兩個農藥過濾桶上下兩端的密封閥門,使得農藥過濾網先受到排水噴頭排出液體的沖擊,沖擊造成的農藥過濾網表面顆粒松動后,隨著排水噴頭液體的逐步排出以及密封閥門的密封,使得裝置底座內部的水位上漲,由沖刷改為浸泡,浸泡可主動使得松動的顆粒因浮力而脫落于農藥過濾網外部,另一方面,浸泡的過程中,超聲波發生組件可發出超聲波,主動去除浸泡在液體中的農藥過濾網表面的松動顆粒,整體反洗的過程中,由沖洗逐步轉變成浸泡,提高反洗的效率,減少沖洗的時間,避免農藥過濾網因長時間的沖洗而受到損傷。
2、本發明通過導向條以角度調整軸為圓心轉動的情況下,配重塊的重量會因自身重量以轉動連接軸為圓心轉動,轉動并由第一扇形傳動齒輪和第二扇形傳動齒輪的傳動后,使得朝向農藥過濾網另一端的排水噴頭旋轉調整為朝向農藥過濾網,避免先前通過農藥過濾網過濾的液體因慣性主動落入排水噴頭內,避免沒有經過下端攪拌結構進一步農藥處理的液體經過傳輸軟管流入儲水桶內,防止后續反洗的農藥過濾網是沒有經過完全處理的液體,主動限制落入排水噴頭內部,提高后續農藥過濾網的清洗效果。
(發明人:杜暉;熊金華;梁成明;周可祥;尹仕兵)






