公布日:2023.10.24
申請日:2023.08.11
分類號:C02F9/00(2023.01)I;C02F1/72(2023.01)I;C02F1/44(2023.01)I;C02F1/42(2023.01)I;C02F1/00(2023.01)I;C02F101/20(2006.01)N
摘要
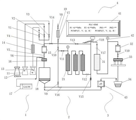
一種含汞污水凈化設備,屬于污水凈化技術領域,該設備包括:氧化單元、凈化單元、超濾單元和控制單元;氧化單元、凈化單元和超濾單元連接,構成嵌套式可變循環流路;控制單元根據觸發信號對流路進行變換,實現不同凈化處理階段。本申請既能夠使得流路簡潔,進而將外觀尺寸微縮化至60*45*50cm以內,大幅度節約占地空間,以適用于常溫條件實驗室級微環境的應用要求,又便于將凈化處理任務拆分成各不同的處理階段,分階段逐級處理,從而對富含微粒吸附高濃度零價汞的含汞污水進行高效凈化,達到就地無害化環保排放標準,進而避免含汞污水累積儲存風險,以及轉移處置責任監管風險,同時實現微型化便捷制造。

權利要求書
1.一種含汞污水凈化設備,其特征在于,包括:氧化單元、凈化單元、超濾單元和控制單元;氧化單元、凈化單元和超濾單元連接,構成嵌套式可變循環流路;控制單元根據觸發信號對流路進行變換,實現不同凈化處理階段。
2.根據權利要求1所述設備,其特征在于,所述氧化單元包括復配模塊和均化氧化流路;所述復配模塊和所述均化氧化流路連接,所述復配模塊用于對含汞污水進行復配混合以得反應液,所述均化氧化流路對反應液進行循環均化氧化。
3.根據權利要求2所述設備,其特征在于,所述均化氧化流路包括動力泵、混合過濾器、氣壓泵和氧化罐;所述動力泵入口連接所述復配模塊,以泵入反應液,所述動力泵出口連接所述混合過濾器入口,所述混合過濾器入口連接所述氣壓泵,所述混合過濾器出口連接所述氧化罐入口,所述氧化罐出口連接至所述動力泵入口。
4.根據權利要求3所述設備,其特征在于,所述均化氧化流路還和氣體放空管路連接。
5.根據權利要求2所述設備,其特征在于,所述凈化單元包括正向吸附過濾流路,所述正向吸附過濾流路入口連接所述均化氧化流路出口,所述正向吸附過濾流路出口連接所述超濾單元。
6.根據權利要求5所述設備,其特征在于,所述正向吸附過濾流路包括三個以上樹脂過濾柱,各所述樹脂過濾柱間隔豎直,且首尾串聯連接。
7.根據權利要求5所述設備,其特征在于,所述正向吸附過濾流路的出口還連接所述均化氧化流路入口,以形成循環增效過濾流路。
8.根據權利要求5所述設備,其特征在于,所述正向吸附過濾流路的出口還連接所述均化氧化流路出口,以形成反向沖洗再生循環流路。
9.根據權利要求1所述設備,其特征在于,所述超濾單元包括緩沖罐、動力泵、過濾膜和廢液池,其中,所述過濾膜采用石英濾膜或石英纖維超濾膜;所述緩沖罐入口與所述凈化單元連接,所述緩沖罐出口依次通過所述動力泵、過濾膜連接至所述廢液池。
10.根據權利要求1所述設備,其特征在于,所述控制單元包括控制器、觸摸屏和檢測單元,所述控制器通過觸摸屏和/或檢測單元獲取觸發信號,其中,所述觸摸屏的觸發信號來自于用戶的觸發設置,所述檢測單元的觸發信號來自于流路中設置的壓力傳感器和pH計;所述控制器根據觸發信號控制各電磁閥的通斷和/或動力泵的開關,以對流路進行變換,實現不同凈化處理階段。
發明內容
鑒于此,本申請的目的在于提供一種針對富含微粒吸附高濃度零價汞的含汞污水凈化設備,不但能夠將含汞污水高效凈化,達到就地排放標準,而且空間占用小,非常適用于實驗室級微環境產生的富含微粒吸附高濃度度零價汞含汞污水的凈化需求。
本申請實施例提了一種含汞污水凈化設備,包括:氧化單元、凈化單元、超濾單元和控制單元;氧化單元、凈化單元和超濾單元連接,構成嵌套式可變循環流路;控制單元根據觸發信號對流路進行變換,實現不同凈化處理階段。
與現有技術相比,本申請至少存在以下有益效果:本申請由于通過將氧化單元、凈化單元和超濾單元連接構成嵌套式可變循環流路,既能夠使得流路簡潔,進而將外觀尺寸微縮化至60*45*50cm以內,大幅度節約占地空間,以適用于常溫條件實驗室級微環境的應用要求,又便于將凈化處理任務拆分成各不同的處理階段,分階段逐級處理,從而對含汞污水進行高效凈化,達到就地無害化環保排放標準,進而避免含汞污水累積儲存風險,以及轉移處置責任監管風險,同時實現微型化便捷制造。
(發明人:李輝;陳彩霞;單春峰;張慶華)






