公布日:2023.01.10
申請日:2022.10.13
分類號:C02F1/52(2006.01)I;B01D36/04(2006.01)I;B01F27/90(2022.01)I;B01D21/24(2006.01)I;B01F35/71(2022.01)I
摘要
本發明公開了一種高效集成凈化器,包括:殼體,所述殼體內設有進水口、絮凝區、沉淀區、溢水機構、過濾區和清水池,污水依次通過進水口、絮凝區、沉淀區、溢水機構和過濾區進入清水池,所述沉淀區底部通過排污管與外接于進水口的加藥裝置連通,使得剩余藥劑可以循環使用,同時及時抽離污泥,避免堆積。

權利要求書
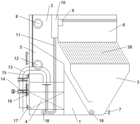
1.一種高效集成凈化器,其特征在于,包括:殼體(1),所述殼體(1)內設有進水口(8)、絮凝區(2)、沉淀區(3)、溢水機構、過濾區(4)和清水池(5),污水依次通過進水口(8)、絮凝區(2)、沉淀區(3)、溢水機構和過濾區(4)進入清水池(5),所述沉淀區(3)底部通過排污管(7)與外接于進水口(8)的加藥裝置連通,使得剩余藥劑可以循環使用,同時及時抽離污泥,避免堆積。
2.根據權利要求1所述的一種高效集成凈化器,其特征在于,所述溢水機構包括:澄清區(6),所述澄清區(6)設于殼體(1)內,所述澄清區(6)位于沉淀區(3)頂端,所述澄清區(6)底端與沉淀區(3)頂端之間均勻設有若干斜板(26),所述澄清區(6)的內壁上設有集水槽(9);布水U形管(11),所述布水U形管(11)的一端與集水斗(10)底端連接,所述集水斗(10)設于絮凝區(2)的內壁上,所述集水斗(10)與所述集水槽(9)連通,所述布水U形管(11)的另一端伸入過濾區(4)內。
3.根據權利要求1所述的一種高效集成凈化器,其特征在于,所述殼體(1)內還設有排污機構,所述排污機構包括:倒U形排污管(13),所述倒U形排污管(13)一端與過濾區(4)頂端連接,所述倒U形排污管(13)的另一端穿過殼體(1),所述倒U形排污管(13)上設有電磁閥(14)。
4.根據權利要求1所述的一種高效集成凈化器,其特征在于,所述加藥裝置包括:混合箱(23),所述混合箱(23)設于殼體(1)的外壁上,所述排污管(7)與混合箱(23)連通,所述混合箱(23)上設有注水管(24)和進水管(25),所述注水管(24)上設有加藥管(19),所述進水管(25)與進水口(8)連接;電機(20),所述電機(20)設于混合箱(23)的外壁上;攪拌軸(21),所述攪拌軸(21)的一端與所述電機(20)連接,所述攪拌軸(21)的另一端伸入混合箱(23)內與若干螺旋葉片(22)連接。
5.根據權利要求1所述的一種高效集成凈化器,其特征在于,所述過濾區(4)的內壁上設有若干裝料孔(16)和卸料孔(17),所述裝料孔(16)位于卸料孔(17)的上方。
6.根據權利要求1所述的一種高效集成凈化器,其特征在于,所述清水池(5)的側壁上設有若干出水口(12)和取樣閥(15)。
7.根據權利要求1所述的一種高效集成凈化器,其特征在于,所述過濾區(4)和沉淀區(3)底端均設有若干放凈口(18)。
8.根據權利要求1所述的一種高效集成凈化器,其特征在于,還包括:檢測裝置,所述檢測裝置包括:檢測塊(70),所述檢測塊(70)套接于所述排污管(7)上,所述檢測塊(70)內設有旋轉腔(29),所述旋轉腔(29)位于排污管(7)的下方,所述旋轉腔(29)的下方設有第一傳動腔(42);第一轉動桿(27),所述第一轉動桿(27)的一端伸入排污管(7)內與檢測葉片(28)連接,所述第一轉動桿(27)的另一端穿過旋轉腔(29)伸入第一傳動腔(42)內與第一錐齒輪(43)連接;第二傳動腔(46),所述第二傳動腔(46)設于殼體(1)內,所述第二傳動腔(46)位于沉淀區(3)的下方;第二轉動桿(45),所述第二轉動桿(45)的一端伸入第一傳動腔(42)內與第二錐齒輪(44)連接,所述第二錐齒輪(44)與第一錐齒輪(43)嚙合,所述第二轉動桿(45)的另一端伸入第二傳動腔(46)內第三錐齒輪(47)連接;第三轉動桿(49),所述第三轉動桿(49)的一端伸入第二傳動腔(46)內與第四錐齒輪(48)連接,所述第四錐齒輪(48)與第三錐齒輪(47)嚙合,所述第三轉動桿(49)的另一端伸入沉淀區(3)內與若干離心葉片(50)連接。
9.根據權利要求8所述的一種高效集成凈化器,其特征在于,所述檢測裝置還包括:轉輪(30),所述轉輪(30)套接于第一轉動桿(27)上,所述轉輪(30)位于旋轉腔(42)內,所述轉輪(30)上均勻設有若干滑動槽(32),所述滑動槽(32)內滑動連接有滑動塊(31),所述滑動塊(31)與滑動槽(32)的內壁之間設有第一彈簧(33);所述旋轉腔(42)的內壁上設有甩出槽(34),所述甩出槽(34)內滑動連接有抵接塊(65),所述抵接塊(65)與甩出槽(34)的內壁之間設有第二彈簧(35);所述檢測塊(70)內設有顯示腔(36),所述顯示腔(36)位于所述旋轉腔(42)的一側,所述顯示腔(36)內設有顯示條(37),所述顯示腔(36)內滑動連接第一導電塊(38),所述第一導電塊(38)與顯示腔(36)的內壁之間設有第三彈簧(39),所述第一導電塊(38)與抵接塊(65)之間通過第一連接繩(41)連接,所述顯示腔(36)的內壁上設有第二導電塊(40),所述第二導電塊(40)與收集裝置電連接,所述收集裝置位于檢測塊(70)內。
10.根據權利要求9所述的一種高效集成凈化器,其特征在于,所述收集裝置包括:回收腔(66),所述回收腔(66)設于所述檢測塊(70)內,所述回收腔(66)與排污管(7)連通,所述回收腔(66)的內壁上設有推動槽(68),所述回收腔(66)的內壁底端設有堆積槽(53),所述回收腔(66)的內壁上設于電磁鐵(56),所述電磁鐵裝置(56)與所述第二導電塊(40)電連接;推動桿(54),所述推動桿(54)的一端滑動連接于所述推動槽(68)內,所述推動桿(54)的另一端設有收集筒(51),所述收集筒(51)內設有過濾網(52),所述推動桿(54)上套接有環形磁鐵塊(55),所述環形磁鐵塊(55)位于所述回收腔(66)內。
發明內容
在發明內容部分中引入了一系列簡化形式的概念,這將在具體實施方式部分中進一步詳細說明。本發明的發明內容部分并不意味著要試圖限定出所要求保護的技術方案的關鍵特征和必要技術特征,更不意味著試圖確定所要求保護的技術方案的保護范圍。
為至少部分地解決上述問題,本發明提供了一種高效集成凈化器,包括:
殼體,所述殼體內設有進水口、絮凝區、沉淀區、溢水機構、過濾區和清水池,污水依次通過進水口、絮凝區、沉淀區、溢水機構和過濾區進入清水池,所述沉淀區底部通過排污管與外接于進水口的加藥裝置連通,使得剩余藥劑可以循環使用,同時及時抽離污泥,避免堆積。
優選的,所述溢水機構包括:
澄清區,所述澄清區設于殼體內,所述澄清區底端與沉淀區頂端之間均勻設有若干斜板,所述澄清區的內壁上設有集水槽;
布水U形管,所述布水U形管的一端與集水斗底端連接,所述集水斗設于絮凝區的內壁上,所述集水斗與所述集水槽連通,所述布水U形管的另一端伸入過濾區內。
優選的,所述殼體內還設有排污機構,所述排污機構包括:
倒U形排污管,所述倒U形排污管一端與過濾區頂端連接,所述倒U形排污管的另一端穿過殼體,所述倒U形排污管上設有電磁閥。
優選的,所述進水口上設有加藥裝置,所述加藥裝置包括:
混合箱,所述混合箱設于殼體的外壁上,所述排污管與混合箱連通,所述混合箱上設有注水管和進水管,所述注水管上設有加藥管,所述進水管與進水口連接;
電機,所述電機設于混合箱的外壁上;
攪拌軸,所述攪拌軸的一端與所述電機連接,所述攪拌軸的另一端伸入混合箱內與若干螺旋葉片連接。
優選的,所述過濾區的內壁上設有若干裝料孔和卸料孔,所述裝料孔位于卸料孔的上方。
優選的,所述清水池的側壁上設有若干出水口和取樣閥。
優選的,所述過濾區和沉淀區底端均設有若干放凈口。
優選的,還包括:檢測裝置,所述檢測裝置包括:檢測塊,所述檢測塊套接于所述排污管上,所述檢測塊內設有旋轉腔,所述旋轉腔位于排污管的下方,所述旋轉腔的下方設有第一傳動腔;第一轉動桿,所述第一轉動桿的一端伸入排污管內與檢測葉片連接,所述第一轉動桿的另一端穿過旋轉腔伸入第一傳動腔內與第一錐齒輪連接;第二傳動腔,所述第二傳動腔設于殼體內,所述第二傳動腔位于沉淀區的下方;第二轉動桿,所述第二轉動桿的一端伸入第一傳動腔內與第二錐齒輪連接,所述第二錐齒輪與第一錐齒輪嚙合,所述第二轉動桿的另一端伸入第二傳動腔內第三錐齒輪連接;第三轉動桿,所述第三轉動桿的一端伸入第二傳動腔內與第四錐齒輪連接,所述第四錐齒輪與第三錐齒輪嚙合,所述第三轉動桿的另一端伸入沉淀區內與若干離心葉片連接。
優選的,所述檢測裝置還包括:轉輪,所述轉輪套接于第一轉動桿上,所述轉輪位于旋轉腔內,所述轉輪上均勻設有若干滑動槽,所述滑動槽內滑動連接有滑動塊,所述滑動塊與滑動槽的內壁之間設有第一彈簧;所述旋轉腔的內壁上設有甩出槽,所述甩出槽內滑動連接有抵接塊,所述抵接塊與甩出槽的內壁之間設有第二彈簧;
所述檢測塊內設有顯示腔,所述顯示腔位于所述旋轉腔的一側,所述顯示腔內設有顯示條,所述顯示腔內滑動連接第一導電塊,所述第一導電塊與顯示腔的內壁之間設有第三彈簧,所述第一導電塊與抵接塊之間通過第一連接繩連接,所述顯示腔的內壁上設有第二導電塊,所述第二導電塊與收集裝置電連接,所述收集裝置位于檢測塊內。
優選的,所述收集裝置包括:回收腔,所述回收腔設于所述檢測塊內,所述回收腔與排污管連通,所述回收腔的內壁上設有推動槽,所述回收腔的內壁底端設有堆積槽,所述回收腔的內壁上設于電磁鐵,所述電磁鐵裝置與所述第二導電塊電連接;
推動桿,所述推動桿的一端滑動連接于所述推動槽內,所述推動桿的另一端設有收集筒,所述收集筒內設有過濾網,所述推動桿上套接有環形磁鐵塊,所述環形磁鐵塊位于所述回收腔內;
翻轉腔,所述翻轉腔設于檢測塊內,所述翻轉腔位于回收腔的一側,所述翻轉腔的內壁上設有限位槽,所述推動桿穿過限位槽;
第四轉動桿,所述第四轉動桿的兩端均轉動連接于翻轉腔的內壁上,所述第四轉動桿上套接有直齒輪和卷線輪,所述卷線輪與所述翻轉腔的內壁之間設有扭轉彈簧;
花鍵輪,所述花鍵輪套接于所述推桿上,所述花鍵輪位于所述限位槽內,所述花鍵輪與所述推動桿通過花鍵連接,所述花鍵輪與直齒輪嚙合;
推動塊,所述推動塊滑動連接于所述推動槽內,所述推動塊與推動槽的內壁之間設有第四彈簧;
第二連接繩,所述第二連接繩的一端與推動桿連接,所述第二連接繩的另一端伸入所述翻轉腔內與卷線輪連接。
相比現有技術,本發明至少包括以下有益效果:
本發明所述的一種高效集成凈化器通過進水口向絮凝區中注入水和藥物,注水的水和藥物在絮凝區內發生反應并沿絮凝區內的斜坡進入斗狀沉淀區的底端,污泥會通過排污管及時排出,避免污泥堆積腐蝕凈化器;排污管排出污泥及水會再次進入絮凝區,使得殘存的藥劑再次發生反應,降低藥劑消耗;同時沉淀區中的水經過溢水機構進入過濾區,經過過濾區的過濾后進入清水池中,從而完成高效凈水。
(發明人:王瑞清)






