公布日:2023.10.31
申請日:2023.09.14
分類號:B01D33/11(2006.01)I;B01D29/01(2006.01)I;B01D29/00(2006.01)I;B01D29/66(2006.01)I;B01D35/16(2006.01)I
摘要
本發明公開一種反硝化深床濾池一體化污水設備及其使用方法,涉及污水處理設備領域。該反硝化深床濾池一體化污水設備包括設備底板,所述設備底板的頂部設有主池體,所述主池體的內部設有濾磚、承接層、濾料和過濾池,所述主池體的內部固定連接有配水槽,所述設備底板的頂部固定連接有第一水泵,所述第一水泵上連接有第一連接管,所述第一連接管上連接有雜質分離設備。該反硝化深床濾池一體化污水設備整體結構緊湊,易于維護,雜質分離設備能夠實現對污水中的雜質進行分離,使用過濾網筒的旋轉分離式設計,雜質分離效率高,不易堵塞,減少維護工作。

權利要求書
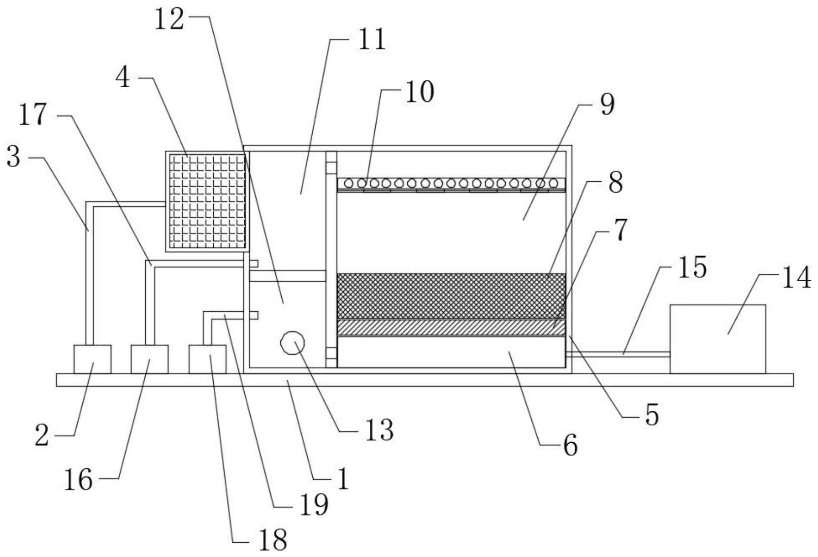
1.一種反硝化深床濾池一體化污水設備,包括設備底板(1),其特征在于:所述設備底板(1)的頂部設有主池體(5),所述主池體(5)的內部設有濾磚(6)、承接層(7)、濾料(8)和過濾池(9),所述主池體(5)的內部固定連接有配水槽(10);所述設備底板(1)的頂部固定連接有第一水泵(2),所述第一水泵(2)上連接有第一連接管(3),所述第一連接管(3)上連接有雜質分離設備(4);所述主池體(5)的側壁上固定連接有污水池(11)和凈水池(12),所述雜質分離設備(4)和污水池(11)相連接;所述雜質分離設備(4)包括承載座(401)、液體池(402)、雜質收納倉(403)、支撐架(404)、固定頂板(405)、過濾網筒(406)和壓縮組件。
2.根據權利要求1所述的一種反硝化深床濾池一體化污水設備,其特征在于:所述設備底板(1)的頂部固定連接有氣泵(14),所述氣泵(14)上固定連接有氣路連接管(15),所述氣路連接管(15)與主池體(5)連接;所述設備底板(1)的頂部固定連接有第三水泵(18),所述第三水泵(18)上連接有第三連接管(19),所述第三連接管(19)與凈水池(12)相連接,所述凈水池(12)上連接有出水管(13);所述設備底板(1)上連接有第二水泵(16),所述第二水泵(16)上連接有第二連接管(17),所述第二連接管(17)與污水池(11)相連。
3.根據權利要求1所述的一種反硝化深床濾池一體化污水設備,其特征在于:所述承載座(401)固定連接在設備底板(1)上,所述液體池(402)固定連接在承載座(401)上,所述液體池(402)上設有污水連接管(4021),所述雜質收納倉(403)固定連接在液體池(402)側壁上,所述支撐架(404)固定連接在承載座(401)上,所述固定頂板(405)固定連接在支撐架(404)上,所述過濾網筒(406)設置在固定頂板(405)底部。
4.根據權利要求3所述的一種反硝化深床濾池一體化污水設備,其特征在于:所述固定頂板(405)的底部固定連接有軸承座(4051)和加固架(4052),所述第一連接管(3)固定連接在加固架(4052)上,所述過濾網筒(406)轉動連接在軸承座(4051)上;所述過濾網筒(406)包括旋轉管(4061),所述旋轉管(4061)上固定連接有齒環(4062),所述固定頂板(405)的底部固定連接有電機支架(407),所述電機支架(407)的底部固定連接有電機本體(408),所述電機本體(408)的輸出端固定連接有傳動齒輪(4081),所述傳動齒輪(4081)與齒環(4062)嚙合。
5.根據權利要求1所述的一種反硝化深床濾池一體化污水設備,其特征在于:所述壓縮組件包括電動推桿(4031),所述電動推桿(4031)固定連接在雜質收納倉(403)的側壁上,所述電動推桿(4031)的輸出端固定連接有擠壓板(4032),所述擠壓板(4032)上固定連接有側向支撐桿(4033),所述雜質收納倉(403)上固定連接有側向支撐管(4034),所述側向支撐桿(4033)滑動連接在側向支撐管(4034)內。
6.根據權利要求1所述的一種反硝化深床濾池一體化污水設備,其特征在于:所述雜質收納倉(403)的底部固定連接有卡位軌道(22),所述卡位軌道(22)的內部活動卡接有可拆卸底板(20),所述可拆卸底板(20)上固定連接有把手(2001),所述雜質收納倉(403)上設有與把手(2001)相對應的鎖緊機構(21)。
7.根據權利要求6所述的一種反硝化深床濾池一體化污水設備,其特征在于:所述鎖緊機構(21)包括第一連接塊(2101)、第二連接塊(2102)、鎖緊桿(2103)、平面板(2104)和彈簧(2105),所述第一連接塊(2101)和第二連接塊(2102)固定連接在雜質收納倉(403)上,所述鎖緊桿(2103)滑動連接在第一連接塊(2101)上,所述平面板(2104)固定連接在鎖緊桿(2103)上,所述彈簧(2105)固定連接在平面板(2104)和第二連接塊(2102)之間;所述把手(2001)上開設有鎖緊孔(2002),所述鎖緊桿(2103)活動卡接在鎖緊孔(2002)內。
8.根據權利要求7所述的一種反硝化深床濾池一體化污水設備,其特征在于:所述平面板(2104)的頂部固定連接有拉桿(2106),所述拉桿(2106)的頂部滑動連接在第二連接塊(2102)上。
9.根據權利要求1-8任一項所述的一種反硝化深床濾池一體化污水設備的使用方法,其特征在于:所述使用方法包括如下步驟:步驟S1:通過第一水泵(2)和第一連接管(3)將污水輸送到雜質分離設備(4)上,進行雜質分離;步驟S2:第一連接管(3)將污水傳輸至過濾網筒(406)的內部,過濾網筒(406)旋轉,污水過濾至液體池(402)收集,雜質通過過濾網筒(406)進入雜質收納倉(403)的內部;步驟S3:污水通過液體池(402)和污水連接管(4021)進入污水池(11)內部,污水池(11)內部的污水達到一定的高度會進入配水槽(10),通過配水槽(10)將污水均勻分布到過濾池(9)內;步驟S4:污水通過過濾池(9)、濾料(8)和承接層(7)過濾掉雜質,并通過反硝化優勢菌種去氮;步驟S5:過濾后的污水通過濾磚(6)進入凈水池(12),最后從出水管(13)排出;步驟S6:第三水泵(18)能夠向凈水池(12)的內部通水,水流依次通過濾磚(6)、承接層(7)、濾料(8)和過濾池(9),并對濾料(8)和過濾池(9)進行反沖洗,把雜質推向污水池(11);步驟S7:氣泵(14)能夠向濾磚(6)、承接層(7)、濾料(8)和過濾池(9)內部進行通氣,實現氣洗,清除濾料(8)和過濾池(9)中的雜質;步驟S8:第二水泵(16)和第二連接管(17)能夠將污水池(11)內部的反洗污水進行排出。
發明內容
(一)解決的技術問題
針對現有技術的不足,本發明提供了一種反硝化深床濾池一體化污水設備及其使用方法,解決了現有的反硝化深床濾池一體化污水設備在進行污水的處理過程中,雜質分離方式采用濾網分隔,而濾網分隔過程中,由于濾網固定不動,容易堆積雜質,出現雜質堵塞,或者雜質過多堆積情況,不利于進行雜質分離,并且雜質堆積后,體積大,不便于后續的處理和運輸,通常在雜質分離過程中,需要做較多的維護工作,增加企業成本的問題。
(二)技術方案
為實現以上目的,本發明通過以下技術方案予以實現:一種反硝化深床濾池一體化污水設備,包括設備底板,所述設備底板的頂部設有主池體,所述主池體的內部設有濾磚、承接層、濾料和過濾池,所述主池體的內部固定連接有配水槽;
所述設備底板的頂部固定連接有第一水泵,所述第一水泵上連接有第一連接管,所述第一連接管上連接有雜質分離設備;
所述主池體的側壁上固定連接有污水池和凈水池,所述雜質分離設備和污水池相連接;
所述雜質分離設備包括承載座、液體池、雜質收納倉、支撐架、固定頂板、過濾網筒和壓縮組件。
優選的,所述設備底板的頂部固定連接有氣泵,所述氣泵上固定連接有氣路連接管,所述氣路連接管與主池體連接;
所述設備底板的頂部固定連接有第三水泵,所述第三水泵上連接有第三連接管,所述第三連接管與凈水池相連接,所述凈水池上連接有出水管;
所述設備底板上連接有第二水泵,所述第二水泵上連接有第二連接管,所述第二連接管與污水池相連。
優選的,所述承載座固定連接在設備底板上,所述液體池固定連接在承載座上,所述液體池上設有污水連接管,所述雜質收納倉固定連接在液體池側壁上,所述支撐架固定連接在承載座上,所述固定頂板固定連接在支撐架上,所述過濾網筒設置在固定頂板底部。
優選的,所述固定頂板的底部固定連接有軸承座和加固架,所述第一連接管固定連接在加固架上,所述過濾網筒轉動連接在軸承座上;
所述過濾網筒包括旋轉管,所述旋轉管上固定連接有齒環,所述固定頂板的底部固定連接有電機支架,所述電機支架的底部固定連接有電機本體,所述電機本體的輸出端固定連接有傳動齒輪,所述傳動齒輪與齒環嚙合。
優選的,所述壓縮組件包括電動推桿,所述電動推桿固定連接在雜質收納倉的側壁上,所述電動推桿的輸出端固定連接有擠壓板,所述擠壓板上固定連接有側向支撐桿,所述雜質收納倉上固定連接有側向支撐管,所述側向支撐桿滑動連接在側向支撐管內。
優選的,所述雜質收納倉的底部固定連接有卡位軌道,所述卡位軌道的內部活動卡接有可拆卸底板,所述可拆卸底板上固定連接有把手,所述雜質收納倉上設有與把手相對應的鎖緊機構。
優選的,所述鎖緊機構包括第一連接塊、第二連接塊、鎖緊桿、平面板和彈簧,所述第一連接塊和第二連接塊固定連接在雜質收納倉上,所述鎖緊桿滑動連接在第一連接塊上,所述平面板固定連接在鎖緊桿上,所述彈簧固定連接在平面板和第二連接塊之間;
所述把手上開設有鎖緊孔,所述鎖緊桿活動卡接在鎖緊孔內。
優選的,所述平面板的頂部固定連接有拉桿,所述拉桿的頂部滑動連接在第二連接塊上。
優選的,所述使用方法包括如下步驟:
步驟S1:通過第一水泵和第一連接管將污水輸送到雜質分離設備上,進行雜質分離;
步驟S2:第一連接管將污水傳輸至過濾網筒的內部,過濾網筒旋轉,污水過濾至液體池收集,雜質通過過濾網筒進入雜質收納倉的內部;
步驟S3:污水通過液體池和污水連接管進入污水池內部,污水池內部的污水達到一定的高度會進入配水槽,通過配水槽將污水均勻分布到過濾池內;
步驟S4:污水通過過濾池、濾料和承接層過濾掉雜質,并通過反硝化優勢菌種去氮;
步驟S5:過濾后的污水通過濾磚進入凈水池,最后從出水管排出;
步驟S6:第三水泵能夠向凈水池的內部通水,水流依次通過濾磚、承接層、濾料和過濾池,并對濾料和過濾池進行反沖洗,把雜質推向污水池;
步驟S7:氣泵能夠向濾磚、承接層、濾料和過濾池內部進行通氣,實現氣洗,清除濾料和過濾池中的雜質;
步驟S8:第二水泵和第二連接管能夠將污水池內部的反洗污水進行排出。
本發明公開了一種反硝化深床濾池一體化污水設備及其使用方法,其具備的有益效果如下:
1、該反硝化深床濾池一體化污水設備,整體結構緊湊,易于維護,利用雜質分離設備、主池體、濾磚、承接層、濾料、過濾池、配水槽、污水池和凈水池來實現對污水進行過濾雜質,并通過反硝化優勢菌種去氮,雜質分離設備能夠實現對污水中的雜質進行分離,使用過濾網筒的旋轉分離式設計,雜質分離效率高,不易堵塞,減少維護工作,降低企業成本,配合壓縮組件的設計,能夠實現對分離的雜質進行擠壓,縮小體積,方便后續處理和運輸。
2、該反硝化深床濾池一體化污水設備,設置的氣泵能夠實現對氣路連接管內進行充氣,并通過濾磚、承接層、濾料和過濾池來實現氣洗,排出濾料和過濾池中的雜質,設置的第二水泵和第二連接管能夠將污水池內部的反洗污水進行排出,進而保證反洗污水方便進行處理,使得設備整體便于進行維護,設置的第三水泵和第三連接管方便進行反沖洗,去除濾料和過濾池中的雜質,并將雜質推向污水池,反沖洗配合上氣泵提供的氣洗,保證對濾料和過濾池中的雜質排出效果好,保證設備維護簡便且效率好。
3、該反硝化深床濾池一體化污水設備,設置的壓縮組件的整體結構簡單,通過電動推桿帶動擠壓板運動來實現對雜質收納倉內部的固體雜質進行擠壓,縮小固體雜質的體積,擠壓板在運動時帶動側向支撐桿沿著側向支撐管內部進行滑動,側向支撐管和側向支撐桿對擠壓板提供側向支撐,保證擠壓板的受力穩定,不易變形,對固體雜質的擠壓效果好,滿足使用需求。
4、該反硝化深床濾池一體化污水設備,設置的卡位軌道和可拆卸底板能夠實現對雜質收納倉的底部進行封閉,通過鎖緊機構來實現對可拆卸底板進行位置鎖定,鎖緊機構的結構簡單,對可拆卸底板的鎖定和解鎖過程方便,因此便于對可拆卸底板進行拆裝,從而使得雜質收納倉內部的雜質便于進行定期清理,并進行轉運。
(發明人:駱一寧;樓軍;何劍陽)






