公布日:2023.10.27
申請日:2023.09.08
分類號:C02F3/28(2023.01)I;C02F101/38(2006.01)N;C02F103/36(2006.01)N
摘要
本發明涉及一種NMP廢水資源化的城鎮污水低碳式深度脫氮反應器,包括罐體,所述罐體內部從下到上依次設置為進水機構、污泥床、三相分離器和溢流堰,所述罐體側壁安裝有與進水機構的布水器連通的進水管,所述罐體頂部外側安裝有與溢流堰連通的排水管,所述罐體頂側連通安裝有排氣管;進水機構中的轉換板在氣缸的作用下進行旋轉,當轉換板的泄污槽旋轉至與支撐塊交錯時,此時便于將罐體內的污泥輸送至罐體的進水機構下方的密封缺氧空間,當轉換板的泄污槽旋轉至與支撐塊完全重疊時,實現進水機構與罐體的密閉,進而實現污泥的密閉排放,且便于在反應器進行工作時完成污泥排放。

權利要求書
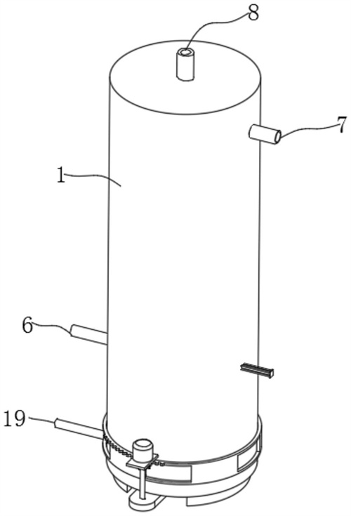
1.一種NMP廢水資源化的城鎮污水低碳式深度脫氮反應器,其特征在于,包括罐體(1),所述罐體(1)內部從下到上依次設置為進水機構(2)、污泥床(3)、三相分離器(4)和溢流堰(5),所述罐體(1)側壁安裝有與進水機構(2)的布水器(9)連通的進水管(6),所述罐體(1)頂部外側安裝有與溢流堰(5)連通的排水管(7),所述罐體(1)頂側連通安裝有排氣管(8);所述進水機構(2)包括圓臺狀布水器(9),所述布水器(9)上開設有若干個進水孔(10),所述布水器(9)外側呈扇形等角度安裝有若干個支撐塊(11),且支撐塊(11)與罐體(1)內壁固定連接,所述布水器(9)底側轉動安裝有圓形的轉換板(13),所述轉換板(13)上呈扇形等角度開設有若干個泄污槽(14)。
2.根據權利要求1所述的一種NMP廢水資源化的城鎮污水低碳式深度脫氮反應器,其特征在于,所述支撐塊(11)頂側設置為斜坡(12),所述支撐塊(11)底側覆蓋面積大于泄污槽(14),且支撐塊(11)和泄污槽(14)的個數相同。
3.根據權利要求2所述的一種NMP廢水資源化的城鎮污水低碳式深度脫氮反應器,其特征在于,所述轉換板(13)底側設置有齒環(17),所述罐體(1)外側安裝有氣缸(15),所述氣缸(15)伸縮端安裝有齒條(16),且齒條(16)與齒環(17)嚙合。
4.根據權利要求3所述的一種NMP廢水資源化的城鎮污水低碳式深度脫氮反應器,其特征在于,所述罐體(1)內部且位于進水機構(2)下方安裝有圓臺狀的濾罩(18),所述濾罩(18)內貫穿轉動安裝有第一轉軸(20),所述第一轉軸(20)上安裝有等角度安裝有若干個撥料板(21),且撥料板(21)靠近濾罩(18)外側壁。
5.根據權利要求4所述的一種NMP廢水資源化的城鎮污水低碳式深度脫氮反應器,其特征在于,所述罐體(1)底部外側等角度開設有若干個第一排污槽(22),所述罐體(1)底部外側轉動安裝有擋環板(23),且擋環板(23)上等角度開設有若干個第一排污槽(22)。
6.根據權利要求5所述的一種NMP廢水資源化的城鎮污水低碳式深度脫氮反應器,其特征在于,所述第一排污槽(22)、第二排污槽(24)和撥料板(21)的個數相同,所述第一排污槽(22)和第一排污槽(22)長度相同,所述相鄰撥料板(21)的間距為第一排污槽(22)長度的2倍,相鄰所述第一排污槽(22)之間為支撐部,相鄰所述第二排污槽(24)之間為覆蓋部,所述撥料板(21)在支撐部兩端之間移動。
7.根據權利要求6所述的一種NMP廢水資源化的城鎮污水低碳式深度脫氮反應器,其特征在于,所述擋環板(23)與罐體(1)外壁通過軸承連接,且擋環板(23)與罐體(1)之間設置有密封條,所述擋環板(23)外側設置有外齒(30)。
8.根據權利要求7所述的一種NMP廢水資源化的城鎮污水低碳式深度脫氮反應器,其特征在于,所述罐體(1)外側安裝有支撐板(25),所述支撐板(25)上安裝有電機(26),所述電機(26)輸出端與第二轉軸(27)連接,且第二轉軸(27)頂端安裝有與外齒(30)嚙合的轉齒(29)。
9.根據權利要求8所述的一種NMP廢水資源化的城鎮污水低碳式深度脫氮反應器,其特征在于,罐體(1)底側安裝有傳動箱(28),所述傳動箱(28)輸入端與第二轉軸(27)連接,所述傳動箱(28)輸出端與第一轉軸(20)。
10.一種NMP廢水資源化的城鎮污水低碳式深度脫氮方法,其特征在于,該方法的具體操作步驟如下:步驟一:將NMP在進行精餾脫水過程中產生的廢水和城鎮污水的混合污水加入厭氧池內,通過微生物將含氮有機物分解成氨氮,然后在好氧池內通過硝化反應先將氨氮氧化為硝氨氮,將水引入權利要求1-9所述反應器內,在缺氧條件下,通過微生物進行反硝化反應將硝氨氮異化還原成氣態氮從水中除去;步驟二:污水經過進水管(6)和布水器(9)進入罐體(1)內,此時要處理的污水與污泥床(3)的污泥進行混合接觸,污泥中的微生物進行反硝化反應將硝酸鹽異化還原成氣態氮,氣態氮以微小氣泡形式不斷放出,微小氣泡在上升過程中合并變大,在污泥床(3)上部由于氣態氮的攪動形成一個污泥濃度較稀薄的污泥和水一起上升進入三相分離器(4),氣態氮碰到三相分離器(4)下部的反射板時,折向反射板的四周,然后穿過水層進入氣室集中在氣室氣態氮,用排氣管(8)導出,固液混合液經過反射進入三相分離器(4)的沉淀區,污水中的污泥發生絮凝,顆粒逐漸增大,并在重力作用下沉降,沉淀至斜壁上的污泥沿著斜壁滑回污泥床(3)處,使污泥床(3)內積累大量的污泥,與污泥分離后的處理出水從溢流堰(5)上部溢出;步驟三:需要定期對污泥床(3)的污泥進行清理,此時通過氣缸(15)帶動齒條(16)移動,帶動嚙合的齒環(17)旋轉,此時轉換板(13)在布水器(9)底側旋轉,直至泄污槽(14)與支撐塊(11)交錯設置,此時位于罐體(1)內的污泥沿著斜坡(12)進入泄污槽(14),落在濾罩(18)上進行污泥和污水的過濾,過濾后的污水位于濾罩(18)下方,而污泥位于濾罩(18)上,然后氣缸(15)工作將轉換板(13)旋轉至原狀,泄污槽(14)位于支撐塊(11)底部,轉換板(13)與支撐塊(11)配合實現罐體(1)的密封;步驟四:通過電機(26)帶動第一轉軸(20)和轉齒(29)旋轉,與嚙合的外齒(30)配合,帶動擋環板(23)旋轉,隨著擋環板(23)的旋轉,交錯的第一排污槽(22)和第二排污槽(24)逐漸重合,位于濾罩(18)上的污泥從第一排污槽(22)和第二排污槽(24)處排出,同時第一轉軸(20)旋轉通過傳動箱(28)傳動帶動第二轉軸(27)旋轉,第二轉軸(27)帶動撥料板(21)沿著濾罩(18)轉動,推動位于支撐部和濾罩(18)之間的污泥至第一排污槽(22)和第二排污槽(24)處排出,后續通過電機(26)工作將擋環板(23)旋轉至初始位置,此時擋環板(23)的覆蓋部覆蓋在第一排污槽(22)外側,而第一排污槽(22)位于支撐部外側,進而通過擋環板(23)實現對罐體(1)底部的密封。
發明內容
本發明解決的問題在于提供一種NMP廢水資源化的城鎮污水低碳式深度脫氮反應器及方法,解決了通過微生物技術對NMP廢水和城鎮廢水的混合廢水進行低碳式脫氮時,廢液污水位于反應器中通過厭氧性微生物進行反應,因為在反應過程中,需要保證反應器處于無氧環境,而隨著反應的不斷進行,反應器內堆積的污泥越來越多,需要及時進行清理,現有的清理方式需要打開反應器停止反應,因此需要進行停機清理,且每次反應結束后,都需要對反應器進行抽真空操作,整體工作繁瑣的技術問題。
為了實現上述目的,本發明采用了如下技術方案:
一種NMP廢水資源化的城鎮污水低碳式深度脫氮反應器,包括罐體,所述罐體內部從下到上依次設置為進水機構、污泥床、三相分離器和溢流堰,所述罐體側壁安裝有與進水機構的布水器連通的進水管,所述罐體頂部外側安裝有與溢流堰連通的排水管,所述罐體頂側連通安裝有排氣管;
所述進水機構包括圓臺狀布水器,所述布水器上開設有若干個進水孔,所述布水器外側呈扇形等角度安裝有若干個支撐塊,且支撐塊與罐體內壁固定連接,所述布水器底側轉動安裝有圓形的轉換板,所述轉換板上呈扇形等角度開設有若干個泄污槽。
優選的,所述支撐塊頂側設置為斜坡,所述支撐塊底側覆蓋面積大于泄污槽,且支撐塊和泄污槽的個數相同。
優選的,所述轉換板底側設置有齒環,所述罐體外側安裝有氣缸,所述氣缸伸縮端安裝有齒條,且齒條與齒環嚙合。
優選的,所述罐體內部且位于進水機構下方安裝有圓臺狀的濾罩,所述濾罩內貫穿轉動安裝有第一轉軸,所述第一轉軸上安裝有等角度安裝有若干個撥料板,且撥料板靠近濾罩外側壁。
優選的,所述罐體底部外側等角度開設有若干個第一排污槽,所述罐體底部外側轉動安裝有擋環板,且擋環板上等角度開設有若干個第一排污槽。
優選的,所述第一排污槽、第二排污槽和撥料板的個數相同,所述第一排污槽和第一排污槽長度相同,所述相鄰撥料板的間距為第一排污槽長度的2倍,相鄰所述第一排污槽之間為支撐部,相鄰所述第二排污槽之間為覆蓋部,所述撥料板在支撐部兩端之間移動。
優選的,所述擋環板與罐體外壁通過軸承連接,且擋環板與罐體之間設置有密封條,所述擋環板外側設置有外齒。
優選的,所述罐體外側安裝有支撐板,所述支撐板上安裝有電機,所述電機輸出端與第二轉軸連接,且第二轉軸頂端安裝有與外齒嚙合的轉齒。
優選的,罐體底側安裝有傳動箱,所述傳動箱輸入端與第二轉軸連接,所述傳動箱輸出端與第一轉軸。
一種NMP廢水資源化的城鎮污水低碳式深度脫氮方法,該方法的具體操作步驟如下:
步驟一:將NMP在進行精餾脫水過程中產生的廢水和城鎮污水的混合污水加入厭氧池內,通過微生物將含氮有機物分解成氨氮,然后在好氧池內通過硝化反應先將氨氮氧化為硝氨氮,將水引入反應器內,在缺氧條件下,通過微生物進行反硝化反應將硝氨氮異化還原成氣態氮從水中除去;
步驟二:污水經過進水管和布水器進入罐體內,此時要處理的污水與污泥床的污泥進行混合接觸,污泥中的微生物進行反硝化反應將硝酸鹽異化還原成氣態氮,氣態氮以微小氣泡形式不斷放出,微小氣泡在上升過程中合并變大,在污泥床上部由于氣態氮的攪動形成一個污泥濃度較稀薄的污泥和水一起上升進入三相分離器,氣態氮碰到三相分離器下部的反射板時,折向反射板的四周,然后穿過水層進入氣室集中在氣室氣態氮,用排氣管導出,固液混合液經過反射進入三相分離器的沉淀區,污水中的污泥發生絮凝,顆粒逐漸增大,并在重力作用下沉降,沉淀至斜壁上的污泥沿著斜壁滑回污泥床處,使污泥床內積累大量的污泥,與污泥分離后的處理出水從溢流堰上部溢出;
步驟三:需要定期對污泥床的污泥進行清理,此時通過氣缸帶動齒條移動,帶動嚙合的齒環旋轉,此時轉換板在布水器底側旋轉,直至泄污槽與支撐塊交錯設置,此時位于罐體內的污泥沿著斜坡進入泄污槽,落在濾罩上進行污泥和污水的過濾,過濾后的污水位于濾罩下方,而污泥位于濾罩上,然后氣缸工作將轉換板旋轉至原狀,泄污槽位于支撐塊底部,轉換板與支撐塊配合實現罐體的密封;
步驟四:通過電機帶動第一轉軸和轉齒旋轉,與嚙合的外齒配合,帶動擋環板旋轉,隨著擋環板的旋轉,交錯的第一排污槽和第二排污槽逐漸重合,位于濾罩上的污泥從第一排污槽和第二排污槽處排出,同時第一轉軸旋轉通過傳動箱傳動帶動第二轉軸旋轉,第二轉軸帶動撥料板沿著濾罩轉動,推動位于支撐部和濾罩之間的污泥至第一排污槽和第二排污槽處排出,后續通過電機工作將擋環板旋轉至初始位置,此時擋環板的覆蓋部覆蓋在第一排污槽外側,而第一排污槽位于支撐部外側,進而通過擋環板實現對罐體底部的密封。
本發明的有益效果是:進水機構中的轉換板在氣缸的作用下進行旋轉,當轉換板的泄污槽旋轉至與支撐塊交錯時,此時便于將罐體內的污泥輸送至罐體的進水機構下方的密封缺氧空間,當轉換板的泄污槽旋轉至與支撐塊完全重疊時,實現進水機構與罐體的密閉,進而實現污泥的密閉排放,且便于在反應器進行工作時完成污泥排放;
通過濾罩上進行污泥和污水的過濾,過濾后的污水位于濾罩下方,通過回流管進行回流,而污泥位于濾罩上,通過電機實現擋環板以及撥料板的旋轉,當第一排污槽和第二排污槽逐漸重合時,位于濾罩上的污泥從第一排污槽和第二排污槽處排出,且通過多個排污槽用于污泥的排放,大大提高了排放效率,當第一排污槽和第二排污槽交錯時,通過擋環板實現對罐體底部的密封;且通過旋轉的撥料板推動位于支撐部和濾罩之間的污泥至第一排污槽和第二排污槽處排出,進而實現對污泥和污水的自動分離和排放,實現污泥的逐級輸送,避免空氣進入罐體的反應區域。
(發明人:梁斌;譚學軍;白學偉;盧進力;申亞飛;周俊波;王萬松;楊清嶺;趙開川)






