公布日:2023.10.27
申請日:2022.04.12
分類號:B01D29/03(2006.01)I;B01D29/64(2006.01)I;F16L55/24(2006.01)I
摘要
本發明涉及排污管道裝置技術領域,具體公開了一種具有過濾功能的污水收集用管道,豎筒體內由上至下依次設有出水腔、上連接腔、進水腔、下連接腔和底腔,豎筒體側壁對應于進、出水腔處分別連接有進、出水管,固定筒體底端固定連接于下連接腔底端,固定筒體側壁遠離進水孔一側設有側通孔,水力轉動筒體包括轉動套接于固定筒體外的柱形殼體以及沿周向設于柱形殼體外的多個翅板,柱形殼體側壁對應于翅板之間處分別設有過水孔,條狀清掃機構固定于柱形殼體頂部,圓形過濾板的外緣固定連接于出水腔底面外緣,排渣塞體活動套裝于底腔內,豎筒體外壁對應于底腔處設有排渣孔;解決了污水排放管道內易集聚固體顆粒,從而影響管道排放能力的問題。

權利要求書
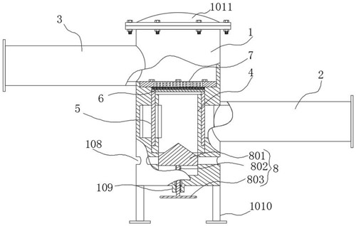
1.一種具有過濾功能的污水收集用管道,包括進水管(2)和出水管(3),其特征在于,還包括:豎筒體(1);固定筒體(4);水力轉動筒體(5);條狀清掃機構(6);圓形過濾板(7)以及排渣塞體(8),所述豎筒體(1)內腔由上至下依次設置有出水腔(101)、上連接腔(103)、進水腔(102)、下連接腔(104)和底腔(105),所述豎筒體(1)側壁對應于所述進水腔(102)與出水腔(101)的位置分別開設有進水孔(106)和出水孔(107),所述進水管(2)和出水管(3)分別連接于所述豎筒體(1)外壁對應于所述進水孔(106)和出水孔(107)的位置;其中,所述固定筒體(4)的底端固定連接于所述下連接腔(104)底面的外緣位置,所述固定筒體(4)側壁遠離于所述進水孔(106)的一側開設有側通孔(401);其中,所述水力轉動筒體(5)包括轉動套接于所述固定筒體(4)外圍的柱形殼體(501)以及沿周向均勻固定于所述柱形殼體(501)外壁的多個翅板(502),所述翅板(502)的里端均沿豎直方向固定連接于所述柱形殼體(501)的外壁,所述柱形殼體(501)側壁對應于相鄰兩個所述翅板(502)之間的位置分別開設有過水孔(503);其中,所述條狀清掃機構(6)沿徑向固定于所述柱形殼體(501)的頂部;其中,所述圓形過濾板(7)的外緣固定連接于所述出水腔(101)底面外緣的位置;其中,所述排渣塞體(8)沿豎直方向活動套裝于所述底腔(105)內,所述豎筒體(1)外壁對應于所述底腔(105)的位置開設有排渣孔(108);所述進水管(2)的軸向沿所述豎筒體(1)外壁的切向延伸。
2.根據權利要求1所述的一種具有過濾功能的污水收集用管道,其特征在于:所述排渣塞體(8)包括滑動套接于所述底腔(105)內的柱塞(801)、頂端轉動套接于所述柱塞(801)底面中心的螺桿(802)以及固定套裝于所述螺桿(802)底端的轉盤(803),所述豎筒體(1)底面的四角位置分別固定有支腿(1010),所述豎筒體(1)底面的中心固定有螺紋套(109),所述螺桿(802)的底部螺紋套接于所述螺紋套(109)內。
3.根據權利要求2所述的一種具有過濾功能的污水收集用管道,其特征在于:所述豎筒體(1)側壁對應于所述底腔(105)的位置沿周向均勻開設有多個所述排渣孔(108),所述柱塞(801)的頂面設置有圓錐體。
4.根據權利要求1所述的一種具有過濾功能的污水收集用管道,其特征在于:所述固定筒體(4)底端的外緣設置有固定底環(402),所述固定底環(402)固定連接于所述下連接腔(104)底面的外緣位置,所述柱形殼體(501)的底端轉動支撐在所述固定底環(402)的頂面上。
5.根據權利要求1所述的一種具有過濾功能的污水收集用管道,其特征在于:所述條狀清掃機構(6)包括板條(601)以及垂直固定連接于所述板條(601)頂面的刷毛(602),所述板條(601)兩端的中部分別沿豎直方向開設有螺紋穿孔(603),所述柱形殼體(501)頂面對應于所述螺紋穿孔(603)的位置開設有固定螺孔(504),所述螺紋穿孔(603)與所述固定螺孔(504)內螺紋套接有螺釘。
6.根據權利要求1所述的一種具有過濾功能的污水收集用管道,其特征在于:所述豎筒體(1)的頂端開口處可拆卸固定連接有端蓋(1011),所述圓形過濾板(7)的外緣使用螺栓可拆卸固定在所述出水腔(101)底面的外緣位置。
發明內容
本發明針對解決現有技術中污水排放管道內易集聚固體顆粒,從而影響管道排放能力的問題,設計了一種具有過濾功能的污水收集用管道。
為實現上述目的,本發明提供如下技術方案:一種具有過濾功能的污水收集用管道,包括進水管和出水管,還包括:豎筒體、固定筒體、水力轉動筒體、條狀清掃機構、圓形過濾板以及排渣塞體,所述豎筒體內腔由上至下依次設置有出水腔、上連接腔、進水腔、下連接腔和底腔,所述豎筒體側壁對應于所述進水腔與出水腔的位置分別開設有進水孔和出水孔,所述進水管與出水管分別連接于所述豎筒體外壁對應于所述進水孔和出水孔的位置;
其中,所述固定筒體的底端固定連接于所述下連接腔底面的外緣位置,所述固定筒體側壁遠離于所述進水孔的一側開設有側通孔;
其中,所述水力轉動筒體包括轉動套接于所述固定筒體外圍的柱形殼體以及沿周向均勻固定于所述柱形殼體外壁的多個翅板,所述翅板的里端均沿豎直方向固定連接于所述柱形殼體的外壁,所述柱形殼體側壁對應于相鄰兩個所述翅板之間的位置分別開設有過水孔;
其中,所述條狀清掃機構沿徑向固定于所述柱形殼體的頂部;
其中,所述圓形過濾板的外緣固定連接于所述出水腔底面外緣的位置;
其中,所述排渣塞體沿豎直方向活動套裝于所述底腔內,所述豎筒體外壁對應于所述底腔(105)的位置開設有排渣孔;
所述進水管的軸向沿所述豎筒體外壁的切向延伸。
優選的,所述排渣塞體包括滑動套接于所述底腔內的柱塞、頂端轉動套接于所述柱塞底面中心的螺桿以及固定套裝于所述螺桿底端的轉盤,所述豎筒體底面的四角位置分別固定有支腿,所述豎筒體底面的中心固定有螺紋套,所述螺桿的底部螺紋套接于所述螺紋套內。
優選的,所述豎筒體側壁對應于所述底腔的位置沿周向均勻開設有多個所述排渣孔,所述柱塞的頂面設置有圓錐體。
優選的,所述固定筒體底端的外緣設置有固定底環,所述固定底環固定連接于所述下連接腔底面的外緣位置,所述柱形殼體的底端轉動支撐在所述固定底環的頂面上。
優選地,所述條狀清掃機構包括板條以及垂直固定連接于所述板條頂面的刷毛,所述板條兩端的中部分別沿豎直方向開設有螺紋穿孔,所述柱形殼體頂面對應于所述螺紋穿孔的位置開設有固定螺孔,所述螺紋穿孔與所述固定螺孔內螺紋套接有螺釘。
優選的,所述豎筒體的頂端開口處可拆卸固定連接有端蓋,所述圓形過濾板的外緣使用螺栓可拆卸固定在所述出水腔底面的外緣位置。
與現有技術相比,本發明的有益效果是:
1.本發明涉及的一種具有過濾功能的污水收集用管道便于在對污水導排時先對污水進行過濾,從而避免污水中的固體雜質在下游的管道內集聚、固化。
2.本發明涉及的一種具有過濾功能的污水收集用管道設置有過濾機構而且設置有水力驅動的清掃機構,清掃機構能夠不斷對過濾機構的過濾面進行清掃,從而避免過濾機構因堵塞而降低水流通過性的問題。
(發明人:高輝;任超眾;陳強;李想;周亞杰)






