公布日:2023.12.19
申請日:2023.11.15
分類號:B01D29/01(2006.01)I;B01D29/075(2006.01)I;B01D29/90(2006.01)I;B01D29/86(2006.01)I;B01D29/64(2006.01)I
摘要
本申請公開了一種印染廢水過濾裝置,涉及廢水處理領域,其包括用于收集廢水的收集箱和過濾廢水的過濾箱,所述過濾箱內設置有過濾網板,所述收集箱與過濾箱連通,且連通處位于所述過濾網板的上方,所述過濾箱位于過濾網板的上方設置有攪動機構;所述攪動機構包括攪動桿和驅動攪動桿轉動的驅動部件,所述攪動桿沿水平方向轉動連接在過濾箱內。本申請有助于保證廢水過濾的持續進行,提高過濾效率。

權利要求書
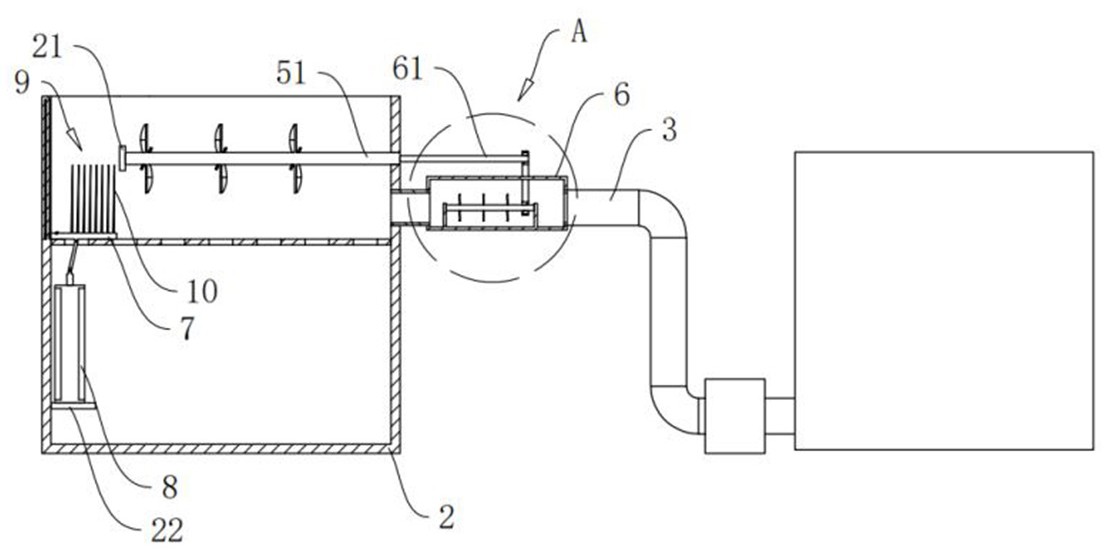
1.一種印染廢水過濾裝置,其特征在于:包括用于收集廢水的收集箱(1)和過濾廢水的過濾箱(2),所述過濾箱(2)內設置有過濾網板(4),所述收集箱(1)與過濾箱(2)連通,且連通處位于所述過濾網板(4)的上方,所述過濾箱(2)位于過濾網板(4)的上方設置有攪動機構(5);所述攪動機構(5)包括攪動桿(51)和驅動攪動桿(51)轉動的驅動部件(52),所述攪動桿(51)沿水平方向轉動連接在過濾箱(2)內;所述收集箱(1)和過濾箱(2)之間通過連接管(3)連通,所述連接管(3)的一端與收集箱(1)的底側連通,所述連接管(3)的另一端與過濾箱(2)連通,且所述連接管(3)與過濾箱(2)的連通處位于過濾網板(4)的上方,所述連接管(3)上設置有抽水泵(31);所述連接管(3)靠近過濾箱(2)的一側呈水平狀,所述連接管(3)位于靠近過濾箱(2)的一側設置有聯動倉(6),所述驅動部件(52)包括轉動連接在聯動倉(6)內的驅動軸(521)、同軸固定在驅動軸(521)上的葉輪(522)、同軸固定在驅動軸(521)上的第一鏈輪(523)、轉動連接在聯動倉(6)外的第二鏈輪(524)及繞設在第一鏈輪(523)和第二鏈輪(524)上的鏈條(525),所述驅動軸(521)的轉動軸線與攪動桿(51)的轉動軸方向平行,所述聯動倉(6)外壁上轉動連接有聯動軸(61),所述第二鏈輪(524)同軸轉動在聯動軸(61)上,所述聯動軸(61)與攪動桿(51)同軸固定。
2.根據權利要求1所述的一種印染廢水過濾裝置,其特征在于:所述驅動部件(52)設置為驅動電機,所述驅動電機設置在過濾箱(2)的外壁上,且所述驅動電機的輸出軸與攪動桿(51)同軸固定。
3.根據權利要求1所述的一種印染廢水過濾裝置,其特征在于:所述攪動桿(51)轉動使得廢水向遠離連接管(3)的一側流動,所述過濾箱(2)內升降設置有清料板(7),所述清料板(7)上開設有若干透水孔,所述攪動桿(51)和過濾箱(2)內壁之間形成有避讓清料板(7)的避讓空間(9),所述清料板(7)位于過濾網板(4)的上側且位于過濾網板(4)遠離連接管(3)的一側,所述過濾箱(2)內設置有驅動清料板(7)升降的驅動件。
4.根據權利要求3所述的一種印染廢水過濾裝置,其特征在于:所述驅動件設置防水氣缸(8),所述過濾箱(2)位于過濾網板(4)的下側設置有安裝板(22),所述防水氣缸(8)設置在安裝板(22)上,所述防水氣缸(8)的活塞桿呈豎直向上設置且活塞桿與清料板(7)連接。
5.根據權利要求3所述的一種印染廢水過濾裝置,其特征在于:所述清料板(7)的上表面設置有若干刷毛(10)。
6.根據權利要求5所述的一種印染廢水過濾裝置,其特征在于:所述過濾箱(2)的側壁上沿豎直方向設置有導向桿(20),所述清料板(7)與導向桿(20)插接滑移配合。
7.根據權利要求6所述的一種印染廢水過濾裝置,其特征在于:所述清料板(7)包括與導向桿(20)插接滑移的導向部(71)和通過扭簧鉸接在導向部(71)上的清理部(72),所述刷毛(10)設置在清理部(72)上,所述導向桿(20)的端部設置有防止導向部(71)脫落的限位板(201),所述驅動件通過連桿(30)與清理部(72)連接,所述驅動件驅動清料板(7)上升直至導向板和限位板(201)抵接,所述驅動件通過連桿(30)驅動清理部(72)轉動并翻轉至過濾箱(2)的外側;所述過濾箱(2)的外壁上設置有用于收集雜質的集雜箱(40),當所述清理部(72)翻轉至過濾箱(2)外側時,所述刷毛(10)朝向集雜箱(40)內。
發明內容
為了保證廢水過濾的動作持續穩定進行,提高過濾效率,本申請提供一種印染廢水過濾裝置。
本申請提供的一種印染廢水過濾裝置采用如下的技術方案:一種印染廢水過濾裝置,包括用于收集廢水的收集箱和過濾廢水的過濾箱,所述過濾箱內設置有過濾網板,所述收集箱與過濾箱連通,且連通處位于所述過濾網板的上方,所述過濾箱位于過濾網板的上方設置有攪動機構;所述攪動機構包括攪動桿和驅動攪動桿轉動的驅動部件,所述攪動桿沿水平方向轉動連接在過濾箱內。
通過采用上述技術方案,產生的印染廢水收集到收集箱內,并從收集箱通入過濾箱內,經過過濾網板的過濾,即可實現沙頭、布塊等較大雜質的過濾,此過程中,利用攪動桿在水平方向上進行攪動,使得過濾箱位于過濾網板上側的雜質處于流動狀態,進而有助于防止雜質堵塞在網孔處,影響到過濾效果,即有主要保證過濾動作的正常進行,降低因堵塞的清理次數,提高了過濾效率。
優選的,所述驅動部件設置為驅動電機,所述驅動電機設置在過濾箱的外壁上,且所述驅動電機的輸出軸與攪動桿同軸固定。
通過采用上述技術方案,運轉驅動電機,實現攪動桿的轉動,在攪動桿的轉動時,過濾網板上側廢水會始終處于流動狀態,保證其中的雜質會處于流動狀態,避免雜質堵塞在網孔的現象,進而有助于保證過濾網板的過濾效果。
優選的,所述收集箱和過濾箱之間通過連接管連通,所述連接管的一端與收集箱的底側連通,所述連接管的另一端與過濾箱連通,且所述連接管與過濾箱的連通處位于過濾網板的上方,所述連接管上設置有抽水泵。
通過采用上述技術方案,進行廢水過濾作業時,運轉抽水泵,將收集箱內的廢水抽取至過濾箱內,并經過過濾網板,即可實現對廢水的粗過濾作業。
優選的,所述連接管靠近過濾箱的一側呈水平狀,所述連接管位于靠近過濾箱的一側設置有聯動倉,所述驅動部件包括轉動連接在聯動倉內的驅動軸、同軸固定在驅動軸上的葉輪、同軸固定在驅動軸上的第一鏈輪、轉動連接在聯動倉外的第二鏈輪及繞設在第一鏈輪和第二鏈輪上的鏈條,所述驅動軸的轉動軸線與攪動桿的轉動軸方向平行,所述聯動倉外壁上轉動連接有聯動軸,所述第二鏈輪同軸轉動在聯動軸上,所述聯動軸與攪動桿同軸固定。
通過采用上述技術方案,抽水泵抽取廢水至過濾箱內時,廢水具備一定的沖擊力,當廢水經過聯動倉時,廢水沖擊葉輪,使得葉輪帶動驅動軸轉動,進而驅動第一鏈輪轉動,在鏈條的作用下,第二鏈輪隨之轉動,帶動驅動軸轉動,又由于驅動軸與攪動桿同軸固定,最終實現攪動桿的轉動,利用廢水產生的動能驅動攪動桿進行轉動,實現防堵塞的功能,高效利用能源。
優選的,所述攪動桿轉動使得水流向遠離連接管的一側流動,所述過濾箱內升降設置有清料板,所述清料板上開設有若干透水孔,所述攪動桿和過濾箱內壁之間形成有避讓清料板的避讓空間,所述清料板位于過濾網板的上側且位于過濾網板遠離連接管的一側,所述過濾箱內設置有驅動清料板升降的驅動件。
通過采用上述技術方案,在攪動桿轉動時,過濾箱位于過濾網板上側的廢水處于流動狀態,雜質在沿著水流向清料板一側流動,由于避讓空間的存在,雜質流動至避讓空間處時,動力會下降,最后在慣性的作用下逐漸落到清料板上,最后驅動件將清料板頂起,即可將雜質從過濾箱內頂起,便于對雜質進行去除清理;另外,在清料板下降時,會將清料板和過濾網板之間的水流壓縮出去,進而將清料板和過濾網板之間的雜質排出,即在清料板復位抵接在過濾網板上時,防止雜質積存在兩者之間。
優選的,所述驅動件設置防水氣缸,所述過濾箱位于過濾網板的下側設置有安裝板,所述防水氣缸設置在安裝板上,所述防水氣缸的活塞桿呈豎直向上設置且活塞桿與清料板連接。
通過采用上述技術方案,防水氣缸運轉,活塞桿進行伸縮,即可實現清料板的升降動作。
優選的,所述清料板的上表面設置有若干刷毛。
通過采用上述技術方案,清料板的上表面設置有刷毛,當雜質流動至清料板上時,利用刷毛可將雜質穩定的留在清料板上,防止在清料板上升的過程中,雜質從清料板上脫落,影響清料效果;另外,在攪動桿轉動時,水向刷毛側流動,此時刷毛起到緩沖的作用,有助于防止水流接觸到過濾箱內壁后回流時,將雜質帶回,影響到清料效果。
優選的,所述過濾箱的側壁上沿豎直方向設置有導向桿,所述清料板與導向桿插接滑移配合。
通過采用上述技術方案,在清料板升降過程中,通過與導向桿的插接滑移配合,對清料板起到導向作用,有助于提高清料板升降的穩定性。
優選的,所述清料板包括與導向桿插接滑移的導向部和通過扭簧鉸接在導向部上的清理部,所述刷毛設置在清理部上,所述導向桿的端部設置有防止導向部脫落的限位板,所述驅動件通過連桿與清理部連接,所述驅動件驅動清料板上升直至導向板和限位板抵接,所述驅動件通過連桿驅動清理部轉動并翻轉至過濾箱的外側;所述過濾箱的外壁上設置有用于收集雜質的集雜箱,當所述清理部翻轉至過濾箱外側時,所述刷毛朝向集雜箱內。
通過采用上述技術方案,當驅動件驅動清理部上升時,在扭簧的作用下,導向部和清理部同步上升,直至導向部和限位板抵接,此時驅動件通過連桿結構會驅動清理部轉動,將清理部的刷毛翻轉至過濾箱的外側,并朝向集雜箱內,隨后利用刮刀等輔助裝置將雜質刮除;最后驅動件再驅動清理部翻轉至水平,隨后帶動整個清料板下降復位。
綜上所述,本申請包括以下至少一種有益技術效果:1.當廢水通入過濾箱內時,利用攪動桿的轉動,使得過濾網板上側的廢水始終處于流動狀態,帶動雜質流動,有助于防止廢水過濾時,雜質堵塞過濾網板的網孔,進而有助于保證過濾作業的正常進行,降低因堵塞對過濾網板的清理次數,提高過濾效率;2.當抽水泵將收集箱內的廢水抽至過濾箱時,利用葉輪的轉動,將廢水的動能轉換為機械能,帶動攪動桿轉動,實現能量的最大化使用,不需要額外設置驅動件,有助于降低能耗;3.在過濾網板的一側設置清理板,且在清理板上設置刷毛,當雜質隨水流動至刷毛處時,刷毛可將雜質積留在刷毛上,且利用刷毛可對水流起到緩沖作用,有助于防止水流在與過濾箱側壁接觸后,產生回流,導致雜質回流,影響到雜質的清理效果。
(發明人:王雅紅;漆王恩;陸芳軍;鄧海靜;朱和林;章柏軍;張金蘭)






