公布日:2023.10.27
申請日:2023.07.13
分類號:C02F1/14(2023.01)I;C02F1/72(2023.01)I;C02F101/30(2006.01)N
摘要
本發明涉及一種光伏/光熱耦合驅動的污水處理裝置及方法,該裝置或方法通過將光伏板與電解裝置集成使光伏裝置為電解裝置供電,且利用光伏裝置的熱量加熱污水,使污水轉換為氣態水,并使污水中的VOCs以氣體狀態逃逸,通過電解裝置處理氣態的水和氣態的VOCs,避免了將電解裝置置于水中導致的VOCs降解不徹底和電解裝置易被腐蝕的問題,光伏板的熱量能夠降低氧化還原反應的能壘,提升羥基生產效率。

權利要求書
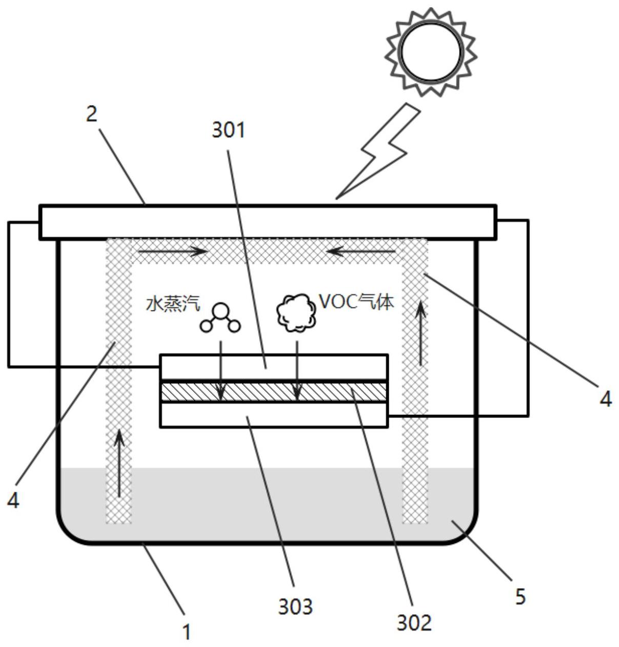
1.一種光伏/光熱耦合驅動的污水處理裝置,其特征在于:包括容器:用于容納待處理污水;光伏板:置于所述容器的開口處,用于吸收太陽光轉換為電能,光伏板的吸光側朝向容器外,背光側朝向容器內;導水帶:用于將待處理污水輸送至光伏板處,所述光伏板對污水進行加熱蒸發產生水蒸氣,并揮發出待處理污水中的VOCs;電解裝置:置于容器內且置于待處理污水水面上方,所述電解裝置包括陰極和陽極,在所述陰極處,氧氣得電子轉換為雙氧水,雙氧水與金屬離子反應得到羥基自由基,所述羥基自由基用于降解水中VOCs。
2.根據權利要求1所述的光伏/光熱耦合驅動的污水處理裝置,其特征在于:所述電解裝置滿足以下其一或多者的結合:—在所述陽極處水蒸氣失電子轉換為氧氣和氫質子;—所述陽極和陰極通過所述光伏板供電;—通過曝氣裝置為所述陰極提供氧氣。
3.根據權利要求1所述的光伏/光熱耦合驅動的污水處理裝置,其特征在于:所述導水帶為柔性材料,一端或兩端或多端浸漬在待處理污水中,中間區域貼合所述光伏板背光側設置,待處理污水由浸漬在待處理污水中的導水帶輸送至中間區域,并在所述中間區域加熱蒸發釋放水蒸氣和VOCs。
4.根據權利要求3所述的光伏/光熱耦合驅動的污水處理裝置,其特征在于:所述導水帶為吸水棉布,所述吸水棉布的周側豎直向下延伸至待處理污水中,中間區域貼合光伏板的背光側,吸水棉布與水面之間形成容納腔,所述電解裝置置于所述容納腔內,電解裝置置于吸水棉布中間區域的正下方。
5.根據權利要求1所述的光伏/光熱耦合驅動的污水處理裝置,其特征在于:所述電解裝置中各器件由靠近光伏板向遠離光伏板依次為陰極、隔膜和陽極,所述陰極與光伏板之間的距離為1~10cm。
6.根據權利要求1所述的光伏/光熱耦合驅動的污水處理裝置,其特征在于:所述陰極材料為Ti3C2,所述陰極材料的制備方法為:將Ti3AlC2置于酸溶液中進行酸刻蝕,去除Ti3AlC2中的Al元素,獲得Ti3C2材料;酸刻蝕時間為4h,刻蝕溫度為80℃,所述酸溶液為30mol/L的氫氟酸溶液。
7.根據權利要求1所述的光伏/光熱耦合驅動的污水處理裝置,其特征在于:所述陰極材料為Ti3C2,且Ti3C2為Mxene材料;在所述陰極處發生反應:O2+2H++2e→H2O2式一Ti3++H2O2→Ti4++OH-+·OH式二Ti4++e→Ti3+式三在所述陽極處發生反應:2H2O-2e→O2+4H+;陰極生產的·OH用于降解VOCs。
8.根據權利要求1所述的光伏/光熱耦合驅動的污水處理裝置,其特征在于:所述電解裝置滿足以下其一或兩者的結合:—陽極材料為Cu、Pt、Ti、Ni、石墨中的一種;—在陰極和陽極之間設置隔膜,所述隔膜為全氟質子交換膜,所述隔膜為陰極和陽極反應提供離子通道。
9.一種將光伏/光熱耦合驅動的污水處理方法,其特征在于:借助光伏板的廢熱加熱待處理污水使污水釋放出水蒸氣和VOCs的混合氣體;電解所述混合氣體降解所述VOCs;所述電解裝置與光伏板集成,電解裝置包括陽極和陰極,光伏板為所述電解裝置供電,所述光伏板的熱量用于加熱待處理污水和促進陰極反應。
10.根據權利要求9所述的將光伏/光熱耦合驅動的污水處理方法,其特征在于:所述電解裝置的陰極材料為Mxene材料中的Ti3C2,所述Ti3C2將雙氧水轉換為羥基自由基,所述羥基自由基用于降解VOCs;所述Ti3C2的制備方法為:將Ti3AlC2置于酸溶液中進行酸刻蝕,去除Ti3AlC2中的Al元素,獲得Ti3C2材料;酸刻蝕時間為4h,刻蝕溫度為80℃,所述酸溶液為30mol/L的氫氟酸溶液;采用激光刻蝕的方式對獲得的Ti3C2材料造Ti缺陷,獲得Ti缺陷-Ti3C2材料。
發明內容
本發明為了解決現有技術中VOCs降解效率低的問題,提供了一種光伏/光熱耦合驅動的污水處理裝置及方法,該裝置或方法通過將光伏板與電解裝置集成使光伏裝置為電解裝置供電,且利用光伏裝置的熱量加熱污水,使污水轉換為氣態水,并使污水中的VOCs以氣體狀態逃逸,通過電解裝置處理氣態的水和氣態的VOCs,避免了將電解裝置置于水中導致的VOCs降解不徹底和電解裝置易被腐蝕的問題,光伏板的熱量能夠降低氧化還原反應的能壘,提升H2O2生產效率。
基于上述目的,本發明一方面提供了一種光伏/光熱耦合驅動的污水處理裝置,裝置包括容器、光伏板、導水帶和電解裝置,容器用于容納待處理污水;光伏板用于置于所述容器的開口處,吸收太陽光轉換為電能,所述光伏板密封所述容器的開口使所述容器內空間密閉;導水帶用于將待處理污水輸送至光伏板處,所述光伏板對污水進行加熱蒸發產生水蒸氣,并揮發出待處理污水中的VOCs;電解裝置置于容器內且置于待處理污水水面上方,所述電解裝置包括陰極和陽極,在所述陰極處,氧氣得電子轉換為雙氧水,雙氧水與金屬離子反應得到羥基自由基,所述羥基自由基用于降解水中VOCs。電解裝置電解的是光伏裝置加熱污水所產生的氣體,電解裝置所需的氧氣可通過曝氣裝置輸送。該電解裝置無需置于污水中,減少了被污水腐蝕的可能性,電解裝置電解氣態的VOCs,相較于電解水體中的VOCs,可避免VOCs溢出空氣中,導致空氣污染;該裝置集成了光伏板,光伏板一方面可通過綠色環保的方式為電解裝置提供電源,另一方面為污水轉換為氣態水提供熱量,再一方面還可以降低氧化還原反應能壘,提高反應效率。
作為一種優選方案,本發明中的電解裝置的陰極處通入氧氣或向水中爆入氧氣,氧氣釋放至電解裝置所處的空間內并在陰極處反應,氧氣在陰極處轉換為雙氧水,雙氧水與陰極電極材料作用產生羥基自由基,羥基自由基用于降解揮發的VOCs氣體。
作為一種優選方案,本發明中的陰極材料為Mxene材料中的Ti3C2,該材料不僅具有氧化還原性,能夠將雙氧水持續不斷的轉換為羥基自由基,而且具有良好的導電性和二維層狀結構,可自由流動電子,增加電子傳輸能力,無需額外電子傳輸材料。在陰極處發生的反應如下:
O2+2H++2e→H2O2式一
Ti3++H2O2→Ti4++OH-+·OH式二
Ti4++e→Ti3+式三
作為一種優選方案,本發明中的陽極材料為Cu、Pt、Ti、Ni、石墨中的一種,在陽極處發生反應:2H2O-2e→O2+4H+,在陰極和陽極之間設置有隔膜,隔膜用于陰極和陽極之間實現質子交換。
作為一種優選方案,本發明中的導水帶為柔性材料,至少一端延伸至污水中,中間區域貼合在光伏板背側,光伏板加熱該區域的導水帶,使水轉換為氣態水,同時釋放水中的VOCs氣體,本發明中的導水帶通過輸水通道或毛細作用力將吸水的污水輸送至中間區域,為中間區域源源不斷的提供水分。作為一種優選,導水帶為吸水棉布,該棉布的周側均豎直向下延伸至水體中,中間區域貼合在光伏板背光側,棉布與水面形成一容納腔,該容納腔優選為封閉空間,電解裝置設置在該空間內,該設置一方面使蒸發的水或VOCs均落入該空間,有利于與電解裝置充分接觸,使VOCs降解,另一方面有利于存儲光伏板所產生的熱量,使電解裝置置于較高溫度空間內,降低電解裝置的反應能壘,增加羥基自由基的生產效率。
作為一種優選方案,電解裝置的陰極和陽極上下相對設置,其中陰極在上,且靠近光伏板,其與光伏板之間的距離以1~10cm為優,在該距離內光伏板加熱產生的氣體首選與陰極接觸,并及時反應,另外光伏板的熱量也能夠第一時間傳遞至陰極,提升陰極反應的效率。
作為一種優選方案,陰極和陽極之間的隔膜為全氟質子交換膜,所述隔膜為陰極和陽極反應提供離子通道。
作為一種優選方案,陰極電極材料Ti3C2的制備方法為:通過酸刻蝕Ti3AlC2獲得的Ti3C2材料;酸刻蝕技術用酸為氫氟酸、硫酸、硝酸中的一種或幾種,這幾種酸具有強氧化性能,不僅可與Ti3AlC2中的Al元素發生反應,去除Al元素,獲得Ti3C2材料,而且使形成的Ti3C2材料為二維層狀的MXene材料,有利于電子傳輸;所述的酸刻蝕時間為0.5~48h,充足的刻蝕時間,可確保Ti3AlC2中Al元素的有效去除,低于該時間無法有效刻蝕去除Al元素,高于該時間會破壞生成的Ti3C2材料結構,使其導電性能受損;所述的酸刻蝕溫度為40~180℃,通過調控刻蝕溫度,以確保Al元素充分的去除,低于該溫度會影響刻蝕效率,高于該溫度導致高溫副反應產生,影響材料的質量;所述的酸氧化刻蝕用酸濃度為1~30mol/L,通過調控酸濃度,可確保Al元素充分的去除。
作為一種優選方案,陽極材料為Cu、Pt、Ti、Ni、石墨中的一種;
作為一種優選方案,光伏板為單晶硅、多晶硅、非晶硅、多元化合物中的一種;
另一方面,本發明提供了一種將光伏/光熱耦合驅動的污水處理方法,該方法首先將污水加熱蒸發,使水轉換為水蒸氣并釋放水中有機污染物VOCs,通過電解裝置處理所釋放的混合氣體,混合氣體中含水蒸氣、VOCs和氧氣,電解裝置包括陰極和陽極,在陰極處氧氣轉換為雙氧水,雙氧水與陰極電極材料反應得到羥基自由基,羥基自由基用于降解釋放的VOCs。
作為一種優選方案,陰極電極材料為Ti3C2,且Ti3C2為MXene材料。
本發明所產生的有益效果包括:(1)本發明提供了光伏/光熱耦合驅動的污水處理裝置,該裝置實質是一種光伏/光熱耦合驅動非接觸式Ti3C2基電芬頓處理VOCs污水裝置,該裝置通過將光伏技術、光熱技術和電芬頓技術高效結合,形成光電/光熱-芬頓降解手段,顯著提高污水中VOCs的原位高效處理能力,呈現出了結構簡單、成本低廉和效果顯著等優勢。
(2)本發明以綠色可再生的太陽能作為唯一能量來源,以低碳環保的光伏板提供電能取代傳統電芬頓裝置中的外部電源,同時巧妙且高效地借助光伏板產生的廢熱降低氧還原反應能壘,增加H2O2產量,并利用Ti3C2材料的高導電性和Ti4+/Ti3+之間的價態變化,實現·OH的高效生產,提升裝置的工作效率。此外,新型非接觸式結構設計可避免極板材料與VOCs污水直接接觸,進而可確保整體裝置長效穩定運行。
(3)本發明提供的VOCs污水原位處理裝置,可作為移動污水處理器,結構靈活,便于運輸和組裝,在近零能耗情況下達到了VOCs污水的無害化處理,適應當今市場的需求,具有廣泛的市場前景和顯著的社會效益。
(發明人:徐煒超)






