公布日:2023.01.17
申請日:2022.10.28
分類號:B01D21/00(2006.01)I;B01D21/24(2006.01)I
摘要
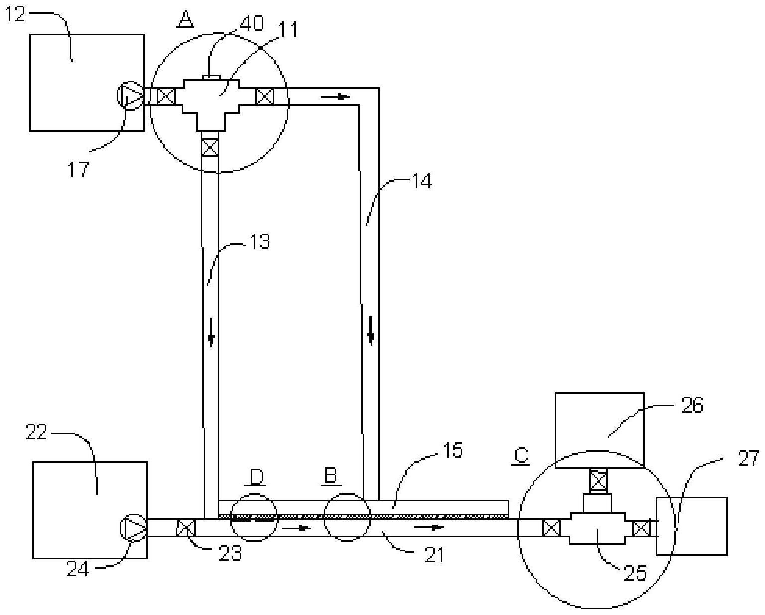
本發明提供了一種污泥反沖洗系統,用于對污泥管進行沖洗,包括沖洗組件、傳感器、控制器,沖洗組件包括沖洗三通閥,沖洗三通閥的第一端口與沖洗池連通,沖洗三通閥的第二端口與第一沖洗管連通,第一沖洗管的底端與污泥管的始端連通,沖洗三通閥的第三端口與第二沖洗管連通,第二沖洗管底端垂設有第三沖洗管,第三沖洗管底部設有若干第一出水口,若干第一出水口與污泥管的上壁連通,傳感器設于污泥管內,用于檢測污泥管內的污泥狀態,控制器設于沖洗三通閥上并與傳感器電性連接,控制器用于接收傳感器檢測的污泥狀態信號,并根據污泥狀態信號控制沖洗三通閥的三個端口的開關狀態。

權利要求書
1.一種污泥反沖洗系統,用于對污泥管進行沖洗,其特征在于,包括沖洗組件、傳感器、控制器,所述沖洗組件包括沖洗三通閥,所述沖洗三通閥的第一端口與沖洗池連通,所述沖洗三通閥的第二端口與第一沖洗管連通,所述第一沖洗管的底端與所述污泥管的始端連通,所述沖洗三通閥的第三端口與第二沖洗管連通,所述第二沖洗管底端垂設有第三沖洗管,所述第三沖洗管底部設有若干第一出水口,若干所述第一出水口與所述污泥管的上壁連通,所述傳感器設于所述污泥管內,用于檢測所述污泥管內的污泥狀態,所述控制器設于所述沖洗三通閥上并與所述傳感器電性連接,所述控制器用于接收所述傳感器檢測的污泥狀態信號,并根據所述污泥狀態信號控制所述沖洗三通閥的三個端口的開關狀態。
2.根據權利要求1所述的污泥反沖洗系統,其特征在于,若干所述第一出水口的出水截面積可調。
3.根據權利要求2所述的污泥反沖洗系統,其特征在于,所述沖洗組件包括擋板,所述擋板上設有若干第二出水口,若干所述第二出水口與若干所述第一出水口相適配,所述第三沖洗管上設有卡槽,所述卡槽的寬度與所述擋板的厚度相適配,當所述擋板在所述卡槽內滑動時,所述第一出水口與所述第二出水口的軸線重合或錯開,以調整所述第一出水口的出水截面積。
4.根據權利要求3所述的污泥反沖洗系統,其特征在于,所述卡槽的上設有彈性密封圈,所述彈性密封圈用于密封所述卡槽的與所述擋板之間的間隙。
5.根據權利要求4所述的污泥反沖洗系統,其特征在于,所述第三沖洗管的內壁上設有導軌,所述導軌延伸至所述卡槽上,所述導軌的寬度與所述擋板的厚度相適應。
6.根據權利要求3所述的污泥反沖洗系統,其特征在于,所述第一出水口與所述第二出水口傾斜設置。
7.根據權利要求1所述的污泥反沖洗系統,其特征在于,所述污泥管的出口端連接有污泥三通閥,所述污泥三通閥的第二端口與污泥收集池連通,所述污泥三通閥的第三端口與污水收集池連通。
8.根據權利要求7所述的污泥反沖洗系統,其特征在于,所述沖洗三通閥、所述污泥三通閥均為電動閥。
9.根據權利要求2所述的污泥反沖洗系統,其特征在于,所述傳感器為距離傳感器,所述距離傳感器設于所述污泥管的內壁頂端,所述距離傳感器用于檢測所述污泥管內污泥的填充程度。
10.根據權利要求2所述的污泥反沖洗系統,其特征在于,所述傳感器為含水量傳感器,所述含水量傳感器設于所述污泥管的內壁底端,所述含水量傳感器用于檢測所述污泥管內污泥的含水量。
發明內容
基于此,本發明的目的是提供一種污泥反沖洗系統,以解決現有技術中當污泥管道內的污泥填充的比較滿或者污泥內含水量比較少時,常規的沖洗方法沖洗時間較長,沖洗效果不佳且容易造成水資源的浪費的問題。
本發明提供一種污泥反沖洗系統,用于對污泥管進行沖洗,包括沖洗組件、傳感器、控制器,所述沖洗組件包括沖洗三通閥,所述沖洗三通閥的第一端口與沖洗池連通,所述沖洗三通閥的第二端口與第一沖洗管連通,所述第一沖洗管的底端與所述污泥管的始端連通,所述沖洗三通閥的第三端口與第二沖洗管連通,所述第二沖洗管底端垂設有第三沖洗管,所述第三沖洗管底部設有若干第一出水口,若干所述第一出水口與所述污泥管的上壁連通,所述傳感器設于所述污泥管內,用于檢測所述污泥管內的污泥狀態,所述控制器設于所述沖洗三通閥上并與所述傳感器電性連接,所述控制器用于接收所述傳感器檢測的污泥狀態信號,并根據所述污泥狀態信號控制所述沖洗三通閥的三個端口的開關狀態。
本發明的有益效果是:本發明提供一種污泥反沖洗系統,用于對污泥管進行沖洗,包括沖洗組件、傳感器、控制器,所述沖洗組件包括沖洗三通閥,沖洗三通閥的第一端口與沖洗池連通,沖洗三通閥的第二端口與第一沖洗管連通,第一沖洗管的端口與污泥管的始端連通,沖洗三通閥的第三端口與第二沖洗管連通,第二沖洗管底端垂設有第三沖洗管,第三沖洗管底部設有若干第一出水口,若干第一出水口的出水壓力大于第一沖洗管的出水壓力;若干第一出水口與污泥管的上壁連通,傳感器設于污泥管內,用于檢測污泥管內的污泥狀態,控制器設于沖洗三通閥上并與傳感器電性連接,控制器用于接收傳感器檢測的污泥狀態信號,并根據污泥狀態信號控制沖洗三通閥的三個端口的開關狀態。本發明提出的污泥反沖洗系統,設置第一沖洗管、第二沖洗管以及第三沖洗管,在污泥管內設置傳感器,在沖洗三通閥上設置控制器,傳感器與控制器電性連接,通過傳感器檢測污泥管內的污泥狀態,控制器接收傳感器檢測的污泥狀態信號,并根據污泥管內的污泥狀態信號控制沖洗三通閥的三個端口的開關狀態,以調整各個沖洗管工作狀態對污泥管進行沖洗,提高污泥管的沖洗效果。
優選的,若干所述第一出水口的出水截面積可調。
優選的,所述沖洗組件包括擋板,所述擋板上設有若干第二出水口,若干所述第二出水口與若干所述第一出水口相適配,所述第三沖洗管上設有卡槽,所述卡槽的寬度與所述擋板的厚度相適配,當所述擋板在所述卡槽內滑動時,所述第一出水口與所述第二出水口的軸線重合或錯開,以調整所述第一出水口的出水截面積。
優選的,所述卡槽上設有彈性密封圈,所述彈性密封圈用于密封所述卡槽的與所述擋板之間的間隙。
優選的,所述第三沖洗管的內壁上設有導軌,所述導軌延伸至所述卡槽上,所述導軌的寬度與所述擋板的厚度相適應。
優選的,所述第一出水口與所述第二出水口傾斜設置。
優選的,所述污泥管的出口端連接有污泥三通閥,所述污泥三通閥的第二端口與污泥收集池連通,所述污泥三通閥的第三端口與污水收集池連通。
優選的,所述沖洗三通閥、所述污泥三通閥均為電動閥。
優選的,所述傳感器為距離傳感器,所述距離傳感器設于所述污泥管的內壁頂端,所述距離傳感器用于檢測所述污泥管內污泥的填充程度。
優選的,所述傳感器為含水量傳感器,所述含水量傳感器設于所述污泥管的內壁底端,所述含水量傳感器用于檢測所述污泥管內污泥的含水量。
(發明人:曾凱;肖少坤;周佳琳;張強華;李昆;曹鑫康;周榮忠;陶琨;謝錦文;李攀榮)






