公布日:2023.12.19
申請日:2023.09.15
分類號:C02F1/00(2023.01)I;B01F27/90(2022.01)I;B01F27/84(2022.01)I;B01F35/71(2022.01)I
摘要
本發明公開了一種陽極氧化生產用廢水處理裝置,包括箱體,所述箱體的一側上方內壁間隙配合有直管,所述箱體的頂部固定連接有殼體,所述殼體的下方設有移動結構,所述移動結構包括滑桿、橫塊、環形板、皮帶、豎板、電機一和槽輪,所述電機一的頂部與殼體的內壁頂部固定連接。該陽極氧化生產用廢水處理裝置,通過底板、箱體、濾網、擋板、輸送泵、方箱、殼體、直管、方殼、曲板一、外殼二、進料口、外殼一和移動結構的配合,使得該裝置在使用時,可以通過電機一帶動一側的槽輪轉動,進而使皮帶轉動,皮帶帶動橫塊轉動,橫塊帶動環形板左右移動,環形板帶動直管左右移動,進而便于工作人員對廢水進行均勻注入,提高濾網的過濾效果。

權利要求書
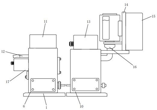
1.一種陽極氧化生產用廢水處理裝置,包括箱體(6),其特征在于:所述箱體(6)的一側上方內壁間隙配合有直管(12),所述箱體(6)的頂部固定連接有殼體(11),所述殼體(11)的下方設有移動結構(2);所述移動結構(2)包括滑桿(201)、橫塊(202)、環形板(203)、皮帶(204)、豎板(205)、電機一(206)和槽輪(207);所述電機一(206)的頂部與殼體(11)的內壁頂部固定連接,所述電機一(206)的前方設有兩個槽輪(207),兩個所述槽輪(207)的外壁通過皮帶(204)轉動連接,一側的所述槽輪(207)的后端與電機一(206)的輸出端固定連接,另一側的所述槽輪(207)的后端通過銷軸轉動連接有豎板(205),所述豎板(205)的頂部與殼體(11)的內壁頂部固定連接,所述皮帶(204)的外壁一端固定連接有橫塊(202),所述橫塊(202)的外壁前方滑動卡接有環形板(203),所述環形板(203)的下方內壁滑動卡接有滑桿(201),所述滑桿(201)的一端與箱體(6)的頂部內壁固定連接,所述環形板(203)的下方內壁與直管(12)的外壁一側固定連接。
2.根據權利要求1所述的一種陽極氧化生產用廢水處理裝置,其特征在于:所述箱體(6)的一側上方固定連接有外殼一(17),所述箱體(6)的一側下方內壁間隙配合有濾網(7),所述濾網(7)的一端內壁通過螺栓與箱體(6)的一側下方內壁螺紋連接,所述箱體(6)的另一側上方內壁間隙配合有擋板(8),所述擋板(8)的一側內壁通過螺栓與箱體(6)的一側上方內壁螺紋連接。
3.根據權利要求1所述的一種陽極氧化生產用廢水處理裝置,其特征在于:所述箱體(6)的底部固定連接有底板(1),所述箱體(6)的一側下方內壁固定連接有輸送泵(9),所述輸送泵(9)的出水管與方箱(10)的一側下方內壁固定連接。
4.根據權利要求3所述的一種陽極氧化生產用廢水處理裝置,其特征在于:所述方箱(10)的頂部固定連接有方殼(13),所述方箱(10)的一側上方內壁固定連接有進料口(16),所述進料口(16)的外壁上方固定連接有曲板一(14),所述曲板一(14)的一端與方箱(10)的一側上方固定連接,所述曲板一(14)的另一端固定連接有外殼二(15)。
5.根據權利要求3所述的一種陽極氧化生產用廢水處理裝置,其特征在于:所述底板(1)的頂部一側固定連接有方箱(10)。
6.根據權利要求1所述的一種陽極氧化生產用廢水處理裝置,其特征在于:所述箱體(6)的一側設有推動結構(3);所述推動結構(3)包括往復絲桿(301)、電機四(302)、曲塊(303)、橫桿(304)、直筒(305)和推板(306);所述直筒(305)的外壁一側與箱體(6)的一側上方內壁間隙配合,所述直筒(305)的一端固定連接有推板(306),所述推板(306)的底部與濾網(7)的頂部相貼合,所述直筒(305)的另一端內壁間隙配合有橫桿(304),所述橫桿(304)的一端與外殼一(17)的內壁一端固定連接,所述直筒(305)的頂部一側固定連接有曲塊(303),所述曲塊(303)的上方內壁滑動卡接有往復絲桿(301),所述往復絲桿(301)的外壁左右兩側分別通過軸承與外殼一(17)的一端內壁和箱體(6)的一側上方內壁轉動連接,所述往復絲桿(301)的一端與電機四(302)的輸出端固定連接,所述電機四(302)的一端與外殼一(17)的一側上方固定連接。
7.根據權利要求3所述的一種陽極氧化生產用廢水處理裝置,其特征在于:所述方箱(10)的一側設有攪拌結構(4);所述攪拌結構(4)包括電機二(401)、齒輪一(402)、轉齒(403)、齒輪二(404)、齒輪三(405)、圓板(406)和豎桿(407);所述圓板(406)的外壁上方通過軸承與方箱(10)的頂部內壁轉動連接,所述圓板(406)的外壁上方固定連接有齒輪三(405),所述圓板(406)的內壁通過軸承轉動連接有轉齒(403),所述轉齒(403)的頂部固定連接有齒輪二(404),所述齒輪二(404)和齒輪三(405)的一側嚙合連接有齒輪一(402),所述齒輪一(402)的外壁一側通過軸承與方殼(13)的一端內壁轉動連接,所述齒輪一(402)的一端與電機二(401)的輸出端固定連接,所述電機二(401)的一端與方殼(13)的一端固定連接,所述圓板(406)的底部一側固定連接有豎桿(407)。
8.根據權利要求4所述的一種陽極氧化生產用廢水處理裝置,其特征在于:所述曲板一(14)的一側設有投料結構(5);所述投料結構(5)包括料箱(501)、電機三(502)、螺紋桿(503)、圓塊(504)、斜塊(505)、曲板二(506)、彈簧(507)和滑塊(508);所述電機三(502)的一端與曲板一(14)的一側上方固定連接,所述電機三(502)的輸出端固定連接有螺紋桿(503),所述螺紋桿(503)的外壁上方螺紋連接有滑塊(508),所述滑塊(508)的外壁一側與曲板一(14)的一端凹槽滑動卡接,所述滑塊(508)的前端面一側固定連接有圓塊(504),所述圓塊(504)的一端貼合有斜塊(505),所述斜塊(505)的一端固定連接有曲板二(506),所述曲板二(506)的外壁一側與曲板一(14)的下方內壁間隙配合,所述曲板二(506)的頂部一側與料箱(501)的底部相貼合,所述曲板二(506)的一側下方固定連接有彈簧(507),所述彈簧(507)的一端與曲板一(14)的一側下方固定連接。
發明內容
本發明的目的在于提供一種陽極氧化生產用廢水處理裝置,以解決上述背景技術中提出的現有技術中的陽極氧化生產用廢水處理裝置,不便于工作人員對廢水進行均勻注入,進而容易導致濾網的過濾效果較差,且現有技術中的陽極氧化生產用廢水處理裝置,不便于工作人員對過濾的雜質進行清理,進而浪費工作時間,且現有技術中的陽極氧化生產用廢水處理裝置,藥劑與廢水的混合效果較差,進而對廢水處理效率低,且現有技術中的陽極氧化生產用廢水處理裝置,無法自動的對藥劑進行投放,自動化程度低,浪費勞動力的問題。
為實現上述目的,本發明提供如下技術方案:一種陽極氧化生產用廢水處理裝置,包括箱體,所述箱體的一側上方內壁間隙配合有直管,所述箱體的頂部固定連接有殼體,所述殼體的下方設有移動結構;所述移動結構包括滑桿、橫塊、環形板、皮帶、豎板、電機一和槽輪;所述電機一的頂部與殼體的內壁頂部固定連接,所述電機一的前方設有兩個槽輪,兩個所述槽輪的外壁通過皮帶轉動連接,一側的所述槽輪的后端與電機一的輸出端固定連接,另一側的所述槽輪的后端通過銷軸轉動連接有豎板,所述豎板的頂部與殼體的內壁頂部固定連接,所述皮帶的外壁一端固定連接有橫塊,所述橫塊的外壁前方滑動卡接有環形板,所述環形板的下方內壁滑動卡接有滑桿,所述滑桿的一端與箱體的頂部內壁固定連接,所述環形板的下方內壁與直管的外壁一側固定連接。
優選的,所述箱體的一側上方固定連接有外殼一,所述箱體的一側下方內壁間隙配合有濾網,所述濾網的一端內壁通過螺栓與箱體的一側下方內壁螺紋連接,所述箱體的另一側上方內壁間隙配合有擋板,所述擋板的一側內壁通過螺栓與箱體的一側上方內壁螺紋連接。
優選的,所述箱體的底部固定連接有底板,所述箱體的一側下方內壁固定連接有輸送泵,所述輸送泵的出水管與方箱的一側下方內壁固定連接。
優選的,所述方箱的頂部固定連接有方殼,所述方箱的一側上方內壁固定連接有進料口,所述進料口的外壁上方固定連接有曲板一,所述曲板一的一端與方箱的一側上方固定連接,所述曲板一的另一端固定連接有外殼二。
優選的,所述底板的頂部一側固定連接有方箱。
優選的,所述箱體的一側設有推動結構;所述推動結構包括往復絲桿、電機四、曲塊、橫桿、直筒和推板;所述直筒的外壁一側與箱體的一側上方內壁間隙配合,所述直筒的一端固定連接有推板,所述推板的底部與濾網的頂部相貼合,所述直筒的另一端內壁間隙配合有橫桿,所述橫桿的一端與外殼一的內壁一端固定連接,所述直筒的頂部一側固定連接有曲塊,所述曲塊的上方內壁滑動卡接有往復絲桿,所述往復絲桿的外壁左右兩側分別通過軸承與外殼一的一端內壁和箱體的一側上方內壁轉動連接,所述往復絲桿的一端與電機四的輸出端固定連接,所述電機四的一端與外殼一的一側上方固定連接。
優選的,所述方箱的一側設有攪拌結構;所述攪拌結構包括電機二、齒輪一、轉齒、齒輪二、齒輪三、圓板和豎桿;所述圓板的外壁上方通過軸承與方箱的頂部內壁轉動連接,所述圓板的外壁上方固定連接有齒輪三,所述圓板的內壁通過軸承轉動連接有轉齒,所述轉齒的頂部固定連接有齒輪二,所述齒輪二和齒輪三的一側嚙合連接有齒輪一,所述齒輪一的外壁一側通過軸承與方殼的一端內壁轉動連接,所述齒輪一的一端與電機二的輸出端固定連接,所述電機二的一端與方殼的一端固定連接,所述圓板的底部一側固定連接有豎桿。
優選的,所述曲板一的一側設有投料結構;所述投料結構包括料箱、電機三、螺紋桿、圓塊、斜塊、曲板二、彈簧和滑塊;所述電機三的一端與曲板一的一側上方固定連接,所述電機三的輸出端固定連接有螺紋桿,所述螺紋桿的外壁上方螺紋連接有滑塊,所述滑塊的外壁一側與曲板一的一端凹槽滑動卡接,所述滑塊的前端面一側固定連接有圓塊,所述圓塊的一端貼合有斜塊,所述斜塊的一端固定連接有曲板二,所述曲板二的外壁一側與曲板一的下方內壁間隙配合,所述曲板二的頂部一側與料箱的底部相貼合,所述曲板二的一側下方固定連接有彈簧,所述彈簧的一端與曲板一的一側下方固定連接。
與現有技術相比,本發明的有益效果是:該陽極氧化生產用廢水處理裝置,通過底板、箱體、濾網、擋板、輸送泵、方箱、殼體、直管、方殼、曲板一、外殼二、進料口、外殼一和移動結構的配合,使得該裝置在使用時,可以通過電機一帶動一側的槽輪轉動,進而使皮帶轉動,皮帶帶動橫塊轉動,橫塊帶動環形板左右移動,環形板帶動直管左右移動,進而便于工作人員對廢水進行均勻注入,提高濾網的過濾效果;通過底板、箱體、濾網、擋板、輸送泵、方箱、殼體、直管、方殼、曲板一、外殼二、進料口、外殼一和推動結構的配合,使得該裝置在使用時,可以通過電機四帶動往復絲桿轉動,往復絲桿帶動曲塊左右移動,曲塊帶動直筒左右移動,直筒帶動推板左右移動,進而將雜質推向右側,便于工作人員對過濾的雜質進行清理,節省工作時間;通過底板、箱體、濾網、擋板、輸送泵、方箱、殼體、直管、方殼、曲板一、外殼二、進料口、外殼一和攪拌結構的配合,使得該裝置在使用時,可以通過電機二帶動齒輪一轉動,齒輪一帶動齒輪二和齒輪三轉動,齒輪二帶動轉齒轉動,齒輪三帶動圓板轉動,圓板帶動豎桿轉動,進而使轉齒和豎桿實現反向轉動,進而提高藥劑與廢水的混合效果,提高對廢水處理效率;通過底板、箱體、濾網、擋板、輸送泵、方箱、殼體、直管、方殼、曲板一、外殼二、進料口、外殼一和攪拌結構的配合,使得該裝置在使用時,可以通過電機三帶動螺紋桿轉動,螺紋桿帶動滑塊上下移動,滑塊帶動圓塊上下移動,圓塊帶動斜塊左右移動,斜塊帶動曲板二左右移動,進而自動的對藥劑進行投放,自動化程度高,節省勞動力。
(發明人:周平)






