公布日:2023.01.17
申請日:2022.10.10
分類號:C02F1/40(2006.01)I
摘要
本發明公開了隔油提升一體化設備,涉及污水處理設備技術領域,包括基架;粗細分離箱,其內部固定安裝有螺旋格柵機,頂部焊接有進水管,一側焊接有油水排出管;集泥排泥箱,其左側頂端與油水排出管固定連接,頂端裝配有與之連通的排油箱,右側頂端焊接有分離水輸送管。本發明,設備集成化程度較高,占地面積較小,油污廢水和小雜質流入集泥排泥箱內后,在沉積過程中能夠通過污泥排出管進行定期自動排泥,而集泥排泥箱內的導流板一和導流板二能夠組合成溢流堰式的水封布局,可維持進入油水分離系統內的的油污廢水進行有序平層流動,避免了油污廢水因過于集中而在水層中形成漩渦,破壞水層的穩定,進而保障了油水分離以及污泥沉淀的效果。

權利要求書
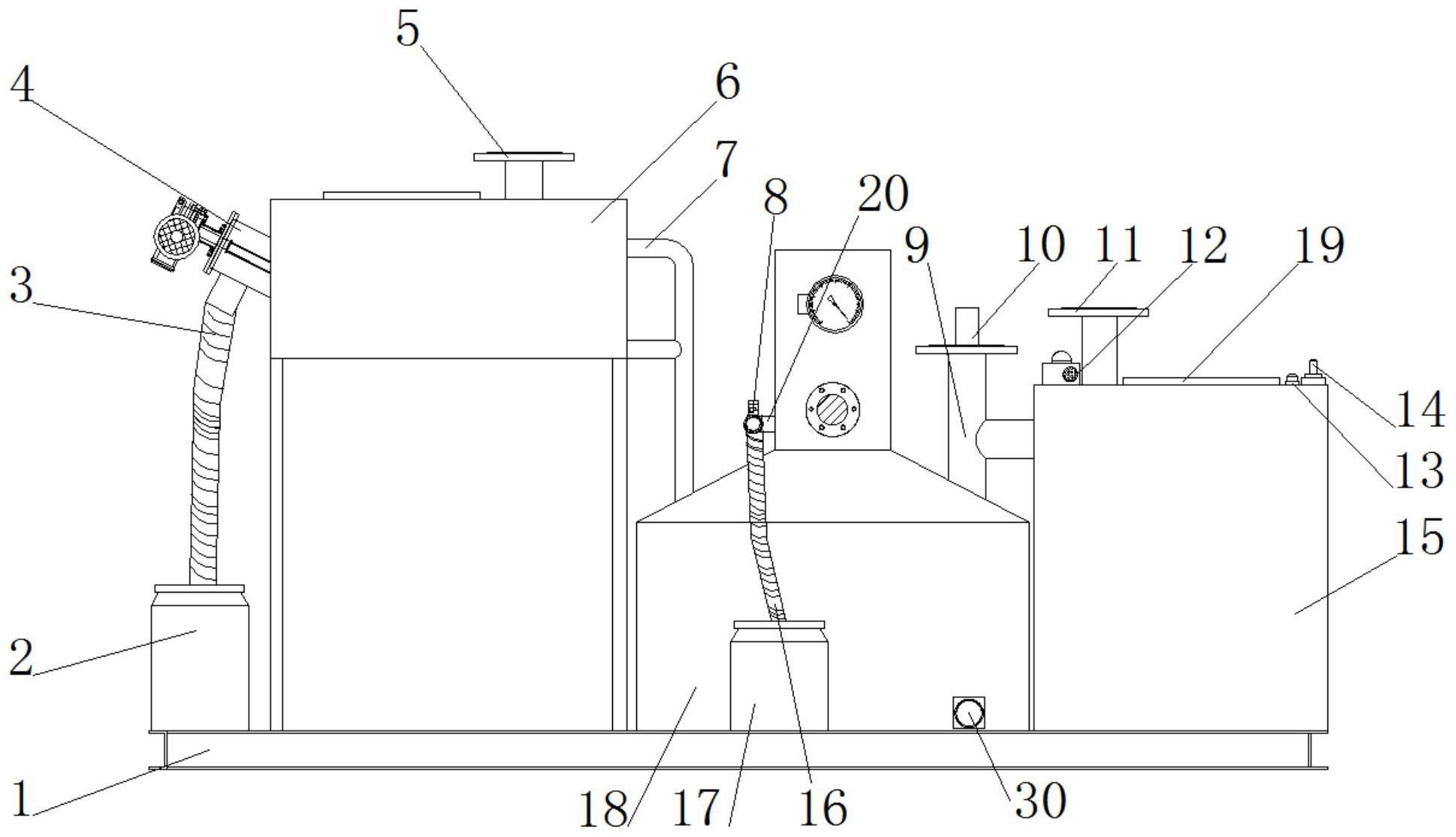
1.隔油提升一體化設備,其特征在于,包括:-基架(1);-粗細分離箱(6),其通過支桿固定安裝于基架(1)的頂部左端,粗細分離箱(6)的內部固定安裝有螺旋格柵機(4),頂部焊接有進水管(5),一側焊接有油水排出管(7);-集泥排泥箱(18),固定安裝于基架(1)的頂部中間位置,集泥排泥箱(18)的左側頂端與油水排出管(7)固定連接,其頂端裝配有與之連通的排油箱(22),其右側頂端焊接有分離水輸送管(9);-污水提升箱(15),固定安裝于基架(1)的頂部右端,污水提升箱(15)的左側頂端與分離水輸送管(9)固定連接,污水提升箱(15)內底部一側還固定安裝有一組污水泵(24),每個污水泵(24)的出口端皆連接有一耦合裝置(25),每個耦合裝置(25)的出水端分別連接有出水止回閥(26),且出水止回閥(26)的出水端皆連接有出水管(11),其中一個出水管(11)呈豎向設置,并向上延伸至污水提升箱(15)的一側頂部,其余出水管(11)呈彎向設置,并交匯連接至豎向設置出水管(11)的側部。
2.根據權利要求1所述的隔油提升一體化設備,其特征在于,所述螺旋格柵機(4)的左端位于粗細分離箱(6)外側,螺旋格柵機(4)左端底部連接有排渣管(3),排渣管(3)底部連接渣桶(2),且渣桶(2)放置于基架(1)頂部左側。
3.根據權利要求1所述的隔油提升一體化設備,其特征在于,所述排油箱(22)一側底部焊接有排油管(20),排油管(20)上套裝有定時開關電磁閥(8),排油管(20)的出口端還通過輸油軟管(16)連接集油桶(17),且集油桶(17)放置于基架(1)頂部中間位置。
4.根據權利要求1所述的隔油提升一體化設備,其特征在于,所述分離水輸送管(9)的頂端還連通有豎向設置的排氣口(10)。
5.根據權利要求1所述的隔油提升一體化設備,其特征在于,所述集泥排泥箱(18)內頂部兩側焊接有導流板一(30),集泥排泥箱(18)底部中間位置和兩側皆焊接有導流板二(21),集泥排泥箱(18)前側底部還焊接有污泥排出管(27),污泥排出管(27)上套裝有定時開關閥;其中,導流板二(21)底部還開設有一組流通孔(29)。
6.根據權利要求1所述的隔油提升一體化設備,其特征在于,所述污水提升箱(15)頂部右側固定安裝有液位開關(14),液位開關(14)的浮球位于污水提升箱(15)內,裝配使用時,液位開關(14)的信號控制線與一組污水泵(24)相連接,用于檢測污水提升箱(15)內液位,并以此控制一組污水泵(24)的開關。
7.根據權利要求6所述的隔油提升一體化設備,其特征在于,所述污水提升箱(15)頂部右側還固定安裝有超限水位控制器(13),超限水位控制器(13)的檢測端位于污水提升箱(15)內,污水提升箱(15)的頂部左側還固定安裝有聲光報警器(12),裝配使用時,超限水位控制器(13)的輸出端與污水泵(24)和聲光報警器(12)的輸入端相連接,用于當液位開關(14)失效時強制啟動污水泵(24),并同時控制聲光報警器(12)進行聲光報警。
8.根據權利要求1所述的隔油提升一體化設備,其特征在于,每個所述污水泵(24)的頂端還分別固定連接有一組拉鏈(23),且每組拉鏈(23)的頂端通過拉桿(28)與污水提升箱(15)的內壁固定連接。
9.根據權利要求1所述的隔油提升一體化設備,其特征在于,所述粗細分離箱(6)和污水提升箱(15)頂部分別轉動連接有檢修蓋(19)。
發明內容
針對現有技術存在的不足,本發明的目的在于提供隔油提升一體化設備。
為實現上述目的,本發明提供了如下技術方案:隔油提升一體化設備,包括:
-基架;
-粗細分離箱,其通過支桿固定安裝于基架的頂部左端,粗細分離箱的內部固定安裝有螺旋格柵機,頂部焊接有進水管,一側焊接有油水排出管;
-集泥排泥箱,固定安裝于基架的頂部中間位置,集泥排泥箱的左側頂端與油水排出管固定連接,其頂端裝配有與之連通的排油箱,其右側頂端焊接有分離水輸送管;
-污水提升箱,固定安裝于基架的頂部右端,污水提升箱的左側頂端與分離水輸送管固定連接,污水提升箱內底部一側還固定安裝有一組污水泵,每個污水泵的出口端皆連接有一耦合裝置,每個耦合裝置的出水端分別連接有出水止回閥,且出水止回閥的出水端皆連接有出水管,其中一個出水管呈豎向設置,并向上延伸至污水提升箱的一側頂部,其余出水管呈彎向設置,并交匯連接至豎向設置出水管的側部。
優選地,所述螺旋格柵機的左端位于粗細分離箱外側,螺旋格柵機左端底部連接有排渣管,排渣管底部連接渣桶,且渣桶放置于基架頂部左側。
優選地,所述排油箱一側底部焊接有排油管,排油管上套裝有定時開關電磁閥,排油管的出口端還通過輸油軟管連接集油桶,且集油桶放置于基架頂部中間位置。
優選地,所述分離水輸送管的頂端還連通有豎向設置的排氣口。
優選地,所述集泥排泥箱內頂部兩側焊接有導流板一,集泥排泥箱底部中間位置和兩側皆焊接有導流板二,集泥排泥箱前側底部還焊接有污泥排出管,污泥排出管上套裝有定時開關閥;
其中,導流板二底部還開設有一組流通孔。
優選地,所述污水提升箱頂部右側固定安裝有液位開關,液位開關的浮球位于污水提升箱內,裝配使用時,液位開關的信號控制線與一組污水泵相連接,用于檢測污水提升箱內液位,并以此控制一組污水泵的開關。
優選地,所述污水提升箱頂部右側還固定安裝有超限水位控制器,超限水位控制器的檢測端位于污水提升箱內,污水提升箱的頂部左側還固定安裝有聲光報警器,裝配使用時,超限水位控制器的輸出端與污水泵和聲光報警器的輸入端相連接,用于當液位開關失效時強制啟動污水泵,并同時控制聲光報警器進行聲光報警。
優選地,每個所述污水泵的頂端還分別固定連接有一組拉鏈,且每組拉鏈的頂端通過拉桿與污水提升箱的內壁固定連接。
優選地,所述粗細分離箱和污水提升箱頂部分別轉動連接有檢修蓋。
與現有技術相比,本發明具備以下有益效果:
本發明,設備集成化程度較高,占地面積較小,螺旋格柵機的格柵能夠截留大顆粒(直徑10mm以上)固體雜質,固液自動分離,在油污廢水和小雜質流入集泥排泥箱內后,在沉積過程中,能夠通過污泥排出管進行定期自動排泥;而集泥排泥箱內的導流板一和導流板二能夠組合成溢流堰式的水封布局,可維持進入油水分離系統內的的油污廢水進行有序平層流動,避免了油污廢水因過于集中而在水層中形成漩渦,破壞水層的穩定,進而保障了油水分離以及污泥沉淀的效果,并且上述設計可控制停留時間和流速,保障油水在流動過程中實現自動分離,分離后的油脂通過錐形頂部快速聚集到排油箱內,油水分離后的較潔清的污水自動流入污水提升箱內。至此,油水實現分離,油脂除去率達90%以上。
(發明人:宋鳳亮)






