公布日:2023.10.31
申請日:2023.07.31
分類號:C02F9/00(2023.01)I;C02F1/02(2023.01)N;C02F1/78(2023.01)N;C02F1/00(2023.01)N;C02F3/30(2023.01)N
摘要
本發明公開了一種穩定型LBBR污水處理裝置,屬于污水處理技術領域,包括主體模塊和預處理模塊,所述主體模塊包括LBBR處理裝置主體和加熱消毒罐,所述LBBR處理裝置主體的底部與加熱消毒罐的底部之間連接有閥門銜接管,所述加熱消毒罐的頂部固定連接有過濾箱,通過打開風機和加熱絲對污水內部注入加熱后的空氣,同時導熱管進行旋轉導熱,從而污水上升至合適處理的溫度,而打開臭氧罐可以讓臭氧罐內部的臭氧進入至污水內部進行曝氣進行一定程度的殺菌消毒,使得臭氧在消毒殺菌的同時對污水加熱升溫,讓污水升高至合適的溫度,使得污水在LBBR處理裝置主體內部處理的更加穩定,并且提升LBBR處理裝置主體對污水的處理效果。

權利要求書
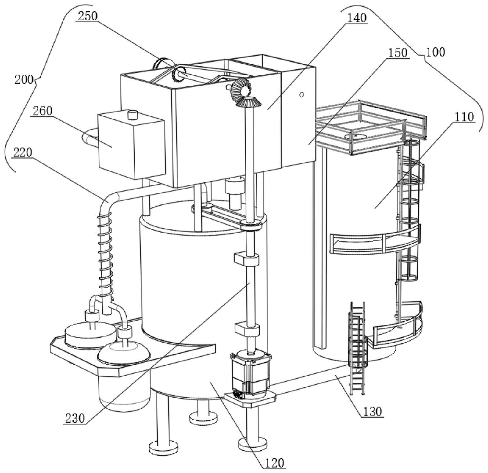
1.一種穩定型LBBR污水處理裝置,包括主體模塊(100)和預處理模塊(200),其特征在于:所述主體模塊(100)包括LBBR處理裝置主體(110)和加熱消毒罐(120),所述LBBR處理裝置主體(110)的底部與加熱消毒罐(120)的底部之間連接有閥門銜接管(130),所述加熱消毒罐(120)的頂部固定連接有過濾箱(140),所述過濾箱(140)的一側固定連接有廢料箱(150),所述過濾箱(140)的底部與加熱消毒罐(120)的頂部之間固定連接有聯通閥門,所述過濾箱(140)與廢料箱(150)的內部之間開設有貫通口;所述預處理模塊(200)包括轉動連接在加熱消毒罐(120)內壁的頂部和底部之間的導熱組件(210),所述加熱消毒罐(120)的外部設置有加熱消毒組件(220),所述加熱消毒組件(220)與導熱組件(210)活動連接,所述加熱消毒罐(120)的外部設置有與導熱組件(210)連接的驅動組件(230),所述過濾箱(140)的內部固定連接有過濾網(240),所述過濾箱(140)的內部活動連接有清掃組件(250)和加藥組件(260),所述清掃組件(250)設置在過濾網(240)的頂部,所述加藥組件(260)位于過濾網(240)的下方,所述清掃組件(250)與驅動組件(230)連接。
2.根據權利要求1所述的一種穩定型LBBR污水處理裝置,其特征在于:所述導熱組件(210)包括轉動連接在加熱消毒罐(120)頂部中心處的第一中空管(211),所述第一中空管(211)的底端延伸至加熱消毒罐(120)的內部,所述加熱消毒罐(120)內壁底部的中心處轉動連接有第二中空管(212),所述第二中空管(212)的外表面與第一中空管(211)的外表面之間固定連接有兩個攪拌桿(213)和兩個導熱管(214),兩個所述導熱管(214)的兩端均與第一中空管(211)和第二中空管(212)的內部貫通,兩個所述攪拌桿(213)和兩個導熱管(214)呈交錯分布,所述第二中空管(212)的外表面固定連接有四個曝氣管(215)。
3.根據權利要求2所述的一種穩定型LBBR污水處理裝置,其特征在于:四個所述曝氣管(215)呈環形等距離固定連接在第二中空管(212)外表面,且四個曝氣管(215)交錯分布在兩個攪拌桿(213)和兩個導熱管(214)之間,四個所述曝氣管(215)的外表面均開設有多個曝氣孔,兩個所述導熱管(214)的整體整螺旋狀結構。
4.根據權利要求3所述的一種穩定型LBBR污水處理裝置,其特征在于:所述加熱消毒組件(220)包括轉動連接在第一中空管(211)頂端的加熱管(221),所述加熱管(221)的另一端固定連接有兩個相互對稱的加注管(222),兩個所述加注管(222)遠離加熱管(221)的一端分別固定連接有風機(223)和臭氧罐(225),所述加熱管(221)的外表面固定安裝有加熱絲(224),兩個所述加注管(222)上均固定安裝有電控閥(226),所述風機(223)與臭氧罐(225)的外表面之間固定連接有安裝板(227),所述安裝板(227)的一側與加熱消毒罐(120)的外表面固定連接。
5.根據權利要求4所述的一種穩定型LBBR污水處理裝置,其特征在于:所述驅動組件(230)包括固定安裝在加熱消毒罐(120)外表面的驅動電機(231),所述驅動電機(231)的輸出軸固定連接有縱向桿(232),所述縱向桿(232)的外表面與第一中空管(211)的外表面均固定連接有第一傳動輥(233),兩個所述第一傳動輥(233)的外表面之間傳動連接有第一傳動帶(234)。
6.根據權利要求5所述的一種穩定型LBBR污水處理裝置,其特征在于:所述驅動組件(230)還包括固定連接在縱向桿(232)頂端的第一錐形齒輪(235),所述縱向桿(232)的外表面轉動連接有多個加固塊(236),多個所述加固塊(236)均與加熱消毒罐(120)的外表面固定連接。
7.根據權利要求1所述的一種穩定型LBBR污水處理裝置,其特征在于:所述清掃組件(250)包括三個轉桿(251),其中兩個所述轉桿(251)轉動連接在過濾箱(140)內壁的前端面和后端面之間,其中另外一個所述轉桿(251)轉動連接在廢料箱(150)內壁的前端面和后端面之間,其中一個所述轉桿(251)的兩端均延伸出過濾箱(140)的外部,三個所述轉桿(251)的外表面均固定連接有兩個鏈輪(252),每三個所述鏈輪(252)的外表面之間均傳動連接有鏈條(253),兩個所述鏈條(253)均位于貫通口的內部,兩個所述鏈輪(252)的外表面之間固定連接有刮板,其中一個所述轉桿(251)的一端固定連接有第二錐形齒輪(254)。
8.根據權利要求7所述的一種穩定型LBBR污水處理裝置,其特征在于:所述第二錐形齒輪(254)的外表面與第一錐形齒輪(235)的外表面相嚙合,所述刮板的底部與過濾網(240)的頂部接觸。
9.根據權利要求1所述的一種穩定型LBBR污水處理裝置,其特征在于:所述加藥組件(260)包括兩個均轉動連接在過濾箱(140)內壁的前端面和后端面之間的加藥管(261),兩個所述加藥管(261)的一端均延伸出過濾箱(140)的外部,兩個所述加藥管(261)的外表面均固定連接有多個注入管(262),多個所述注入管(262)的外表面均開設有多個加藥孔,所述過濾箱(140)遠離廢料箱(150)的一側固定連接有加藥箱(263),所述加藥箱(263)的輸出端固定連接有三通管(264),所述三通管(264)的另外兩端分別與兩個加藥管(261)的一端轉動連接。
10.根據權利要求9所述的一種穩定型LBBR污水處理裝置,其特征在于:所述加藥組件(260)還包括兩個分別固定連接在其中一個加藥管(261)外表面和其中一個轉桿(251)另外一端的第二傳動輥(265),兩個所述第二傳動輥(265)的外表面之間傳動連接有第二傳動帶(266),兩個所述加藥管(261)的外表面均固定連接有聯動齒輪(267),兩個所述聯動齒輪(267)的外表面之間相互嚙合,兩個所述聯動齒輪(267)和兩個所述第二傳動輥(265)均位于過濾箱(140)的外部。
發明內容
為了解決上述問題,本發明提供一種穩定型LBBR污水處理裝置,采用如下的技術方案:
一種穩定型LBBR污水處理裝置,包括主體模塊和預處理模塊,所述主體模塊包括LBBR處理裝置主體和加熱消毒罐,所述LBBR處理裝置主體的底部與加熱消毒罐的底部之間連接有閥門銜接管,所述加熱消毒罐的頂部固定連接有過濾箱,所述過濾箱的一側固定連接有廢料箱,所述過濾箱的底部與加熱消毒罐的頂部之間固定連接有聯通閥門,所述過濾箱與廢料箱的內部之間開設有貫通口,所述預處理模塊包括轉動連接在加熱消毒罐內壁的頂部和底部之間的導熱組件,所述加熱消毒罐的外部設置有加熱消毒組件,所述加熱消毒組件與導熱組件活動連接,所述加熱消毒罐的外部設置有與導熱組件連接的驅動組件,所述過濾箱的內部固定連接有過濾網,所述過濾箱的內部活動連接有清掃組件和加藥組件,所述清掃組件設置在過濾網的頂部,所述加藥組件位于過濾網的下方,所述清掃組件與驅動組件連接。
進一步的,所述導熱組件包括轉動連接在加熱消毒罐頂部中心處的第一中空管,所述第一中空管的底端延伸至加熱消毒罐的內部,所述加熱消毒罐內壁底部的中心處轉動連接有第二中空管,所述第二中空管的外表面與第一中空管的外表面之間固定連接有兩個攪拌桿和兩個導熱管,兩個所述導熱管的兩端均與第一中空管和第二中空管的內部貫通,兩個所述攪拌桿和兩個導熱管呈交錯分布,所述第二中空管的外表面固定連接有四個曝氣管。
進一步的,四個所述曝氣管呈環形等距離固定連接在第二中空管外表面,且四個曝氣管交錯分布在兩個攪拌桿和兩個導熱管之間,四個所述曝氣管的外表面均開設有多個曝氣孔,兩個所述導熱管的整體整螺旋狀結構。
進一步的,所述加熱消毒組件包括轉動連接在第一中空管頂端的加熱管,所述加熱管的另一端固定連接有兩個相互對稱的加注管,兩個所述加注管遠離加熱管的一端分別固定連接有風機和臭氧罐,所述加熱管的外表面固定安裝有加熱絲,兩個所述加注管上均固定安裝有電控閥,所述風機與臭氧罐的外表面之間固定連接有安裝板,所述安裝板的一側與加熱消毒罐的外表面固定連接。
進一步的,所述驅動組件包括固定安裝在加熱消毒罐外表面的驅動電機,所述驅動電機的輸出軸固定連接有縱向桿,所述縱向桿的外表面與第一中空管的外表面均固定連接有第一傳動輥,兩個所述第一傳動輥的外表面之間傳動連接有第一傳動帶。
進一步的,所述驅動組件還包括固定連接在縱向桿頂端的第一錐形齒輪,所述縱向桿的外表面轉動連接有多個加固塊,多個所述加固塊均與加熱消毒罐的外表面固定連接。
進一步的,所述清掃組件包括三個轉桿,其中兩個所述轉桿轉動連接在過濾箱內壁的前端面和后端面之間,其中另外一個所述轉桿轉動連接在廢料箱內壁的前端面和后端面之間,其中一個所述轉桿的兩端均延伸出過濾箱的外部,三個所述轉桿的外表面均固定連接有兩個鏈輪,每三個所述鏈輪的外表面之間均傳動連接有鏈條,兩個所述鏈條均位于貫通口的內部,兩個所述鏈輪的外表面之間固定連接有刮板,其中一個所述轉桿的一端固定連接有第二錐形齒輪。
進一步的,所述第二錐形齒輪的外表面與第一錐形齒輪的外表面相嚙合,所述刮板的底部與過濾網的頂部接觸。
進一步的,所述加藥組件包括兩個均轉動連接在過濾箱內壁的前端面和后端面之間的加藥管,兩個所述加藥管的一端均延伸出過濾箱的外部,兩個所述加藥管的外表面均固定連接有多個注入管,多個所述注入管的外表面均開設有多個加藥孔,所述過濾箱遠離廢料箱的一側固定連接有加藥箱,所述加藥箱的輸出端固定連接有三通管,所述三通管的另外兩端分別與兩個加藥管的一端轉動連接。
進一步的,所述加藥組件還包括兩個分別固定連接在其中一個加藥管外表面和其中一個轉桿另外一端的第二傳動輥,兩個所述第二傳動輥的外表面之間傳動連接有第二傳動帶,兩個所述加藥管的外表面均固定連接有聯動齒輪,兩個所述聯動齒輪的外表面之間相互嚙合,兩個所述聯動齒輪和兩個所述第二傳動輥均位于過濾箱的外部。
綜上所述,本發明包括以下有益技術效果:
(1)本發明通過打開驅動電機,使得縱向桿將會通過第一傳動輥和第一傳動帶的傳動配合來帶動第一中空管轉動,使得兩個攪拌桿和兩個導熱管帶動第二中空管旋轉,打開風機和加熱絲對污水內部注入加熱后的空氣,同時導熱管進行導熱,從而污水上升至合適處理的溫度,而打開臭氧罐可以讓臭氧罐內部的臭氧進入至污水內部進行曝氣進行一定程度的殺菌消毒,同時加熱絲也可以對臭氧進行加熱,使得臭氧在消毒殺菌的同時對污水加熱升溫,讓污水升高至合適的溫度,避免污水溫度過低,讓污水便于后續LBBR處理裝置主體內部好氧以及厭氧的處理,使得污水在LBBR處理裝置主體內部處理的更加穩定,并且提升LBBR處理裝置主體對污水的處理效果;
(2)本發明打開驅動電機驅動縱向桿進行轉動,縱向桿將會通過第二錐形齒輪與第一錐形齒輪的嚙合帶動轉桿轉動,轉桿通過鏈輪來傳動鏈條進行滾動,鏈條將會通過刮板對過濾網頂部的體積較大的雜質進行清理,刮板將過濾網頂部過濾污水的雜質推入至廢料箱的內部進行收集,從而便于過濾網持續對污水進行過濾處理,提升本裝置處理污水的便捷程度,讓本裝置可以連續使用更長時間;
(3)本發明轉桿將會同時通過第二傳動輥和第二傳動帶的傳動配合帶動聯動齒輪進行轉動,通過兩個聯動齒輪的嚙合,帶動兩個加藥管進行旋轉和注入管,打開加藥箱通過三通管來對兩個加藥管內部注入藥劑,藥劑將會通過加藥孔來旋轉注入到污水中,從而將藥劑和污水進行充分混合,進一步提升對污水的處理效果。
(發明人:張倩;李巖巖;林曉玲)






