公布日:2023.12.19
申請日:2023.06.30
分類號:B01D29/03(2006.01)I;B01D29/58(2006.01)I;B01D29/90(2006.01)I;B01D29/92(2006.01)I;B01D29/94(2006.01)I
摘要
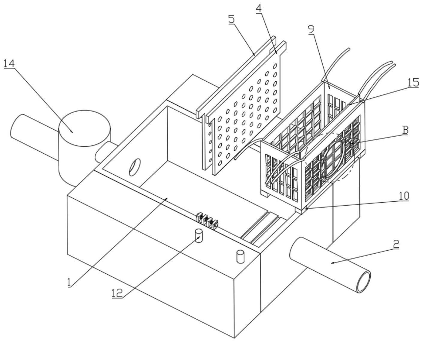
本發明涉及生態保護廢水處理技術領域,尤其涉及一種生態保護型廢水處理池。包括池體,池體的一端連通進水管道,池體的另一端連通出水管道;還包括第一打撈網、第二打撈網與過濾板;所述第一打撈網放置在池體內,位于進水管道端,并且與進水管道連通;第一打撈網上連接有第二打撈網,所述第一打撈網和第二打撈網上都系有固定繩纜,繩纜固定樁固接于池體上;所述過濾板包括第一過濾板與第二過濾板,第一過濾板以可拆卸方式豎向安裝在池體內,與第一打撈網相鄰;所述第二過濾板以可拆卸方式豎向安裝在池體內,與第一過濾板相鄰。減小清洗的工作量,減少清洗時間,提高清洗效率。

權利要求書
1.一種生態保護型廢水處理池,其特征在于:包括池體,池體的一端連通進水管道,池體的另一端連通出水管道;還包括第一打撈網、第二打撈網與過濾板;所述第一打撈網放置在池體內,位于進水管道端,并且與進水管道連通;第一打撈網上連接有第二打撈網,所述第一打撈網和第二打撈網上都系有固定繩纜,繩纜固定樁固接于池體上;所述過濾板包括第一過濾板與第二過濾板,第一過濾板以可拆卸方式豎向安裝在池體內,與第一打撈網相鄰;所述第二過濾板以可拆卸方式豎向安裝在池體內,與第一過濾板相鄰。
2.根據權利要求1所述的一種生態保護型廢水處理池,其特征在于:還包括固定座,固定座固接于池體頂面,固定座與過濾板通過螺栓連接。
3.根據權利要求2所述的一種生態保護型廢水處理池,其特征在于:還包括橡膠墊,橡膠墊墊在固定座與過濾板之間。
4.根據權利要求1所述的一種生態保護型廢水處理池,其特征在于:所述第一打撈網設有進水口。
5.根據權利要求1所述的一種生態保護型廢水處理池,其特征在于:所述第一打撈網上均勻設有多個配重塊。
6.根據權利要求1所述的一種生態保護型廢水處理池,其特征在于:所述出水管道連通水泵的輸入端,水泵的輸出端連通生物過濾池。
7.根據權利要求1所述的一種生態保護型廢水處理池,其特征在于:所述第一過濾板過濾孔直徑大于第二過濾板過濾孔直徑。
8.根據權利要求1所述的一種生態保護型廢水處理池,其特征在于:所述第一過濾板與第二過濾板均采用不銹鋼材質制作。
發明內容
為了克服現有技術的不足,本發明提供了一種生態保護型廢水處理池,減小清洗的工作量,減少清洗時間,提高清洗效率。
為了達到上述目的,本發明采用以下技術方案實現:
一種生態保護型廢水處理池,包括池體,池體的一端連通進水管道,池體的另一端連通出水管道;還包括第一打撈網、第二打撈網與過濾板;所述第一打撈網放置在池體內,位于進水管道端,并且與進水管道連通;第一打撈網上連接有第二打撈網,所述第一打撈網和第二打撈網上都系有固定繩纜,繩纜固定樁固接于池體上;所述過濾板包括第一過濾板與第二過濾板,第一過濾板以可拆卸方式豎向安裝在池體內,與第一打撈網相鄰;所述第二過濾板以可拆卸方式豎向安裝在池體內,與第一過濾板相鄰。
還包括固定座,固定座固接于池體頂面,固定座與過濾板通過螺栓連接。
還包括橡膠墊,橡膠墊墊在固定座與過濾板之間。
所述第一打撈網設有進水口。
所述第一打撈網上均勻設有多個配重塊。
所述出水管道連通水泵的輸入端,水泵的輸出端連通生物過濾池。
所述第一過濾板過濾孔直徑大于第二過濾板過濾孔直徑。
所述第一過濾板與第二過濾板均采用不銹鋼材質制作。
與現有技術相比,本發明的有益效果是:
1、本發明設有第一、二打撈網以及與打撈網相鄰的第一、二過濾板,廢水中較大的固態物會被囤積在第一打撈網內,然后經過第一過濾板和第二過濾板的分級過濾,大顆粒的雜質也會留在過濾板一側,這樣只需要對第二過濾板分隔出的區域底部沉淀物進行清洗,這樣能大大減小清洗的工作量,減少了清洗時間,提高了清洗效率。
2、本發明固定座固接于池體頂面,固定座與過濾板通過螺栓連接;能方便取出第一過濾板和第二過濾板。
3、本發明第一過濾板內過濾孔的直徑要大于第二過濾板內過濾孔的直徑,這樣能分級過濾不同大小的固態顆粒雜質。
(發明人:李小飛;邵軍;胡煜)






