公布日:2023.12.22
申請日:2023.11.20
分類號:C02F9/00(2023.01)I;C02F103/30(2006.01)N;C02F1/461(2023.01)N;C02F1/00(2023.01)N;C02F1/04(2023.01)N;C02F1/52(2023.01)N;C02F101/30(2006.01)N
摘要
本申請提供一種混紡染料生產廢水脫色處理裝置,涉及混紡染料生產領域。一種混紡染料生產廢水脫色處理裝置,包括:廢水斗,所述廢水斗的出水口設置有一級壓濾箱,所述一級壓濾箱的出水口設置有中轉箱;所述中轉箱的出水口設置有二級壓濾箱,所述一級壓濾箱和二級壓濾箱的背面均固定連接有固定架,所述中轉箱的背面設置有驅動組件,所述一級壓濾箱和二級壓濾箱的內腔均設置有壓濾組件;所述二級壓濾箱的出水口設置有蒸餾箱,所述廢水斗、中轉箱和蒸餾箱的內腔設置有處理組件。該混紡染料生產廢水脫色處理裝置,實現廢水的前端脫色以及后端無機鹽的分離效果,達到廢鹽和廢水的有效回用目的,對廢水資源進行合理利用。

權利要求書
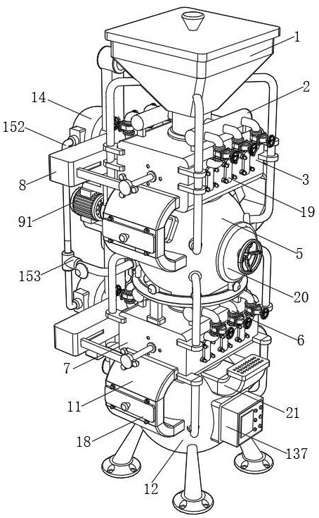
1.一種混紡染料生產廢水脫色處理裝置,其特征在于,包括:廢水斗(1),所述廢水斗(1)的出水口設置有一級壓濾箱(3),所述一級壓濾箱(3)的出水口設置有中轉箱(5);所述中轉箱(5)的出水口設置有二級壓濾箱(7),所述一級壓濾箱(3)和二級壓濾箱(7)的背面均固定連接有固定架(8),所述中轉箱(5)的背面設置有驅動組件(9),所述一級壓濾箱(3)和二級壓濾箱(7)的內腔均設置有壓濾組件(10);所述二級壓濾箱(7)的出水口設置有蒸餾箱(12),所述廢水斗(1)、中轉箱(5)和蒸餾箱(12)的內腔設置有處理組件(13)。
2.根據權利要求1所述的一種混紡染料生產廢水脫色處理裝置,其特征在于,所述驅動組件(9)包括伺服電機(91),所述伺服電機(91)固定在中轉箱(5)的背面,所述伺服電機(91)的輸出軸固定連接有主同步輪(92),所述主同步輪(92)遠離伺服電機(91)的一側通過同步帶分別傳動連接有第一從同步輪(93)和第二從同步輪(94),兩組所述第一從同步輪(93)的內腔嵌設有電動推桿(95),且電動推桿(95)的活塞桿固定連接有主錐齒輪(96),兩組所述主錐齒輪(96)遠離電動推桿(95)的一側設置有從錐齒輪(97)。
3.根據權利要求2所述的一種混紡染料生產廢水脫色處理裝置,其特征在于,所述壓濾組件(10)包括正反螺紋桿(101),兩組所述正反螺紋桿(101)固定在從錐齒輪(97)的內腔,兩組所述正反螺紋桿(101)的兩側均螺紋連接有螺紋筒(102),且螺紋筒(102)的正面固定連接有連接件(103),兩組所述連接件(103)遠離螺紋筒(102)的內側固定連接有推架(104),且推架(104)的內側固定連接有主濾框(105),兩組所述主濾框(105)的內側設置有副濾框(106),且主濾框(105)和副濾框(106)相向的四周均開設有收納槽(107),兩組所述收納槽(107)的內腔固定連接有復位彈簧(108)。
4.根據權利要求2所述的一種混紡染料生產廢水脫色處理裝置,其特征在于,所述處理組件(13)包括攪拌葉(131),所述攪拌葉(131)固定在伺服電機(91)靠近主同步輪(92)的輸出軸上,兩組所述第二從同步輪(94)的內腔分別固定連接有粉碎架(132)和攪拌架(133),所述中轉箱(5)的內腔設置有鐵碳微電解填料(134),且中轉箱(5)兩側的頂部均固定連接有放電發生器(135),兩組所述放電發生器(135)的導電端固定連接有與攪拌葉(131)和鐵碳微電解填料(134)配合使用的導電棒(136),所述蒸餾箱(12)的正面固定連接有電加熱器(137),且電加熱器(137)的導電端固定連接有與攪拌架(133)配合使用的電加熱管(138)。
5.根據權利要求1所述的一種混紡染料生產廢水脫色處理裝置,其特征在于,所述廢水斗(1)的沿口卡接有封蓋,所述廢水斗(1)內壁的頂部固定連接有與粉碎架(132)配合使用的粗濾網(17)。
6.根據權利要求1所述的一種混紡染料生產廢水脫色處理裝置,其特征在于,所述一級壓濾箱(3)和二級壓濾箱(7)的正面均開設有排料窗口,且排料窗口的內腔設置有第一封堵蓋板(19)。
7.根據權利要求1所述的一種混紡染料生產廢水脫色處理裝置,其特征在于,所述中轉箱(5)的正面開設有上料窗口,且上料窗口的內壁螺紋連接有第二封堵蓋板(20),所述第二封堵蓋板(20)的正面固定連接有手輪。
8.根據權利要求1所述的一種混紡染料生產廢水脫色處理裝置,其特征在于,所述蒸餾箱(12)的出水口連通有排水管,且排水管上設置有手動閥,所述蒸餾箱(12)的排氣口連通有排氣管(21),且排氣管(21)的出氣口采用陣列狀設計。
9.根據權利要求3所述的一種混紡染料生產廢水脫色處理裝置,其特征在于,兩組所述螺紋筒(102)的背面固定連接有滑塊(16),兩組所述固定架(8)內腔背面的兩側均開設有與滑塊(16)滑動配合的預留滑槽。
10.根據權利要求3所述的一種混紡染料生產廢水脫色處理裝置,其特征在于,兩組所述主濾框(105)和副濾框(106)的規格均相同,且主濾框(105)和副濾框(106)的外壁與一級壓濾箱(3)和二級壓濾箱(7)的內壁滑動連接。
發明內容
本申請旨在至少解決現有技術中存在實現不了廢水的前端脫色以及后端無機鹽的分離效果,達不到廢鹽和廢水的有效回用目的,不能合理利用廢水資源的技術問題。為此,本申請提出一種混紡染料生產廢水脫色處理裝置。
根據本申請實施例的一種混紡染料生產廢水脫色處理裝置,包括:廢水斗,所述廢水斗的出水口設置有一級壓濾箱,所述一級壓濾箱的出水口設置有中轉箱;所述中轉箱的出水口設置有二級壓濾箱,所述一級壓濾箱和二級壓濾箱的背面均固定連接有固定架,所述中轉箱的背面設置有驅動組件,所述一級壓濾箱和二級壓濾箱的內腔均設置有壓濾組件;所述二級壓濾箱的出水口設置有蒸餾箱,所述廢水斗、中轉箱和蒸餾箱的內腔設置有處理組件。
優選的,所述驅動組件包括伺服電機,所述伺服電機固定在中轉箱的背面,所述伺服電機的輸出軸固定連接有主同步輪,所述主同步輪遠離伺服電機的一側通過同步帶分別傳動連接有第一從同步輪和第二從同步輪,兩組所述第一從同步輪的內腔嵌設有電動推桿,且電動推桿的活塞桿固定連接有主錐齒輪,兩組所述主錐齒輪遠離電動推桿的一側設置有從錐齒輪。
優選的,所述壓濾組件包括正反螺紋桿,兩組所述正反螺紋桿固定在從錐齒輪的內腔,兩組所述正反螺紋桿的兩側均螺紋連接有螺紋筒,且螺紋筒的正面固定連接有連接件,兩組所述連接件遠離螺紋筒的內側固定連接有與一級壓濾箱和二級壓濾箱滑動配合的推架,且推架的內側固定連接有主濾框,兩組所述主濾框的內側設置有副濾框,且主濾框和副濾框相向的四周均開設有收納槽,兩組所述收納槽的內腔固定連接有與主濾框和副濾框配合使用的復位彈簧。
優選的,所述處理組件包括攪拌葉,所述攪拌葉固定在伺服電機靠近主同步輪的輸出軸上,兩組所述第二從同步輪的內腔分別固定連接有與廢水斗和蒸餾箱配合使用的粉碎架和攪拌架,所述中轉箱的內腔設置有鐵碳微電解填料,且中轉箱兩側的頂部均固定連接有放電發生器,兩組所述放電發生器的導電端固定連接有與攪拌葉和鐵碳微電解填料配合使用的導電棒,所述蒸餾箱的正面固定連接有電加熱器,且電加熱器的導電端固定連接有與攪拌架配合使用的電加熱管。
優選的,所述廢水斗的沿口卡接有封蓋,所述廢水斗內壁的頂部固定連接有與粉碎架配合使用的粗濾網。
優選的,所述一級壓濾箱和二級壓濾箱的正面均開設有排料窗口,且排料窗口的內腔設置有第一封堵蓋板。
優選的,所述中轉箱的正面開設有上料窗口,且上料窗口的內壁螺紋連接有第二封堵蓋板,所述第二封堵蓋板的正面固定連接有手輪。
優選的,所述蒸餾箱的出水口連通有排水管,且排水管上設置有手動閥,所述蒸餾箱的排氣口連通有排氣管,且排氣管的出氣口采用陣列狀設計。
優選的,兩組所述螺紋筒的背面固定連接有滑塊,兩組所述固定架內腔背面的兩側均開設有與滑塊滑動配合的預留滑槽。
優選的,兩組所述主濾框和副濾框的規格均相同,且主濾框和副濾框的外壁與一級壓濾箱和二級壓濾箱的內壁滑動連接。
本申請的有益效果是:在對混紡染料廢水脫色處理時,先由驅動組件的伺服電機提供驅動來源,并通過主同步輪借助同步帶帶動兩組第一從同步輪和兩組第二從同步輪進行轉動,且由兩組電動推桿對兩組主錐齒輪的行程位置進行調節,根據現場需求,帶動兩組從錐齒輪進行轉動,轉動狀態的從錐齒輪帶動壓濾組件正反螺紋桿上的兩組螺紋筒同步內移,再通過兩組連接件和推架帶動主濾框和副濾框向內側擠壓,對一級壓濾箱和二級壓濾箱內廢水中的固廢顆粒擠壓成濾餅,實現廢水的二級壓濾效果,使廢水和固廢顆粒有效完成固液分離,同時由處理組件的粉碎架對加入廢水斗內廢水中的大顆粒雜質進行預先粉碎處理,再由鐵碳微電解填料作為催化劑填料,以廢水作為電解質,通過兩組放電發生器控制導電棒在廢水和鐵碳微電解填料中進行正負極放電,并由攪拌葉對流經中轉箱的廢水與添加的絮凝劑進行攪拌混合,實現廢水的催化氧化反應和絮凝沉淀效果,再由電加熱器和電加熱管對蒸餾箱內的廢水進行加熱蒸發,并由攪拌架對廢水進行攪拌受熱,完成廢水的蒸發凈化工作,實現廢水的前端脫色以及后端無機鹽的分離效果,達到廢鹽和廢水的有效回用目的,對廢水資源進行合理利用。
(發明人:劉璞哲;張宏強;趙宇)






