公布日:2023.01.24
申請日:2022.12.23
分類號:C02F9/00(2023.01)I;C02F11/121(2019.01)I;C02F1/00(2006.01)N;C02F1/46(2006.01)N;C02F1/52(2006.01)N;C02F103/06(2006.01)N
摘要
本發明涉及污水處理相關技術領域,具體為一種垃圾中轉站滲濾液一體化處理設備,包括:箱體、進水口、出水口以及在所述箱體中依次設置的預處理單元、生物處理單元、電催化單元,其中,預處理單元包括底座及通過至少兩個支撐板固定安裝在所述底座上的桶體,所述桶體一側安裝有間歇排放結構,收集箱,所述收集箱內固定安裝有兩個承接板,其中一個承接板上轉動安裝有第二傳動桿,另一承接板上轉動安裝有過濾件,所述過濾件套設在所述第二傳動桿外側,所述過濾件一端設置有投放件,所述第二傳動桿外側固定安裝有變徑螺旋輸送葉片,所述投放件與所述間歇排放結構配合向過濾件內間歇投放污泥,本設備一體化設置,占地面積小。

權利要求書
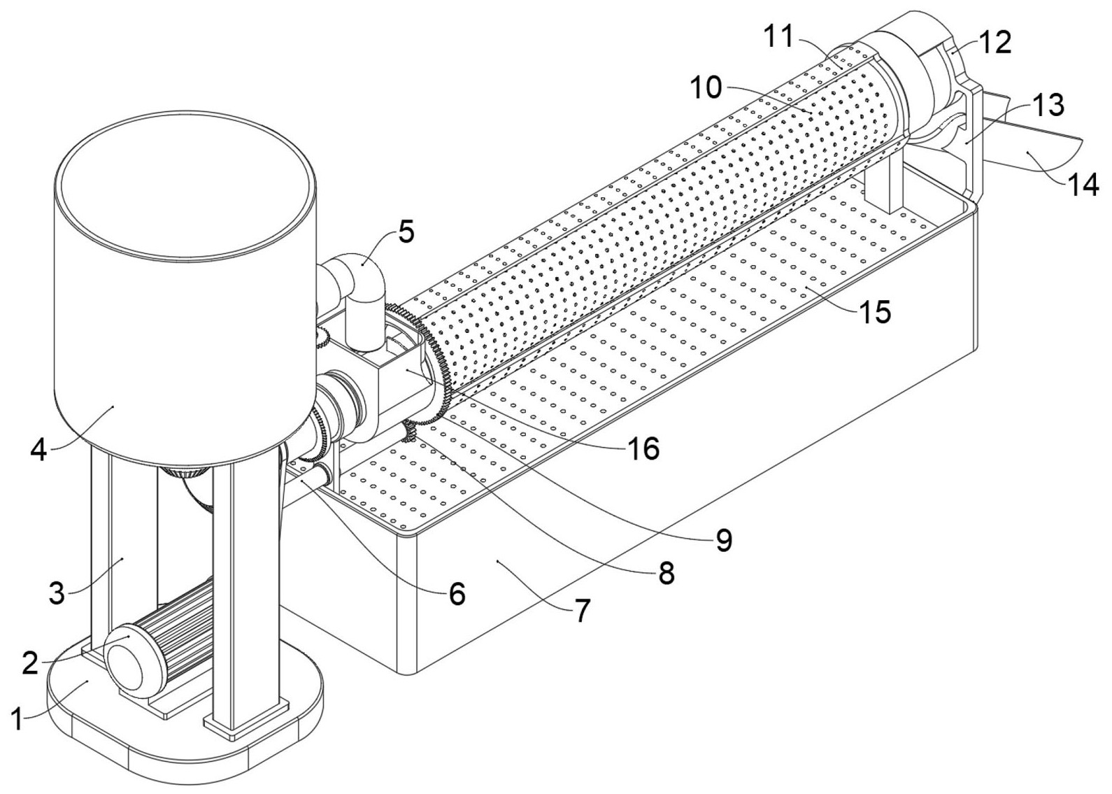
1.一種垃圾中轉站滲濾液一體化處理設備,其特征在于,包括:箱體、進水口、出水口以及在所述箱體中依次設置的預處理單元(101)、生物處理單元(201)、電催化單元(301),其中,預處理單元(101)包括:底座(1)及通過至少兩個支撐板(3)固定安裝在所述底座(1)上的桶體(4),所述桶體(4)一側安裝有間歇排放結構;收集箱(7),所述收集箱(7)內固定安裝有兩個承接板,其中一個承接板上轉動安裝有第二傳動桿(17),另一承接板上轉動安裝有過濾件(10),所述過濾件(10)套設在所述第二傳動桿(17)外側,所述過濾件(10)一端設置有投放件(16),所述第二傳動桿(17)外側固定安裝有變徑螺旋輸送葉片(25),所述變徑螺旋輸送葉片(25)的葉片間距沿輸送方向逐漸變小,所述投放件(16)與所述間歇排放結構配合向過濾件(10)內間歇投放污泥,所述間歇排放結構連接所述第二傳動桿(17),所述第二傳動桿(17)與安裝在所述底座(1)上驅動結構連接,且所述驅動結構還與安裝在所述過濾件(10)外側的清理結構連接;支撐件(13),所述支撐件(13)固定安裝在所述收集箱(7)一側,所述支撐件(13)上設置有與之一體成型的受壓板(12),所述支撐件(13)上固定安裝有導向件(14)。
2.根據權利要求1所述的一種垃圾中轉站滲濾液一體化處理設備,其特征在于,所述間歇投放結構包括固定安裝在所述桶體(4)一側并與之連通的排放管(5),所述排放管(5)上安裝有球閥;所述桶體(4)一側轉動安裝有第三傳動桿(18),所述第三傳動桿(18)通過第一錐齒輪組(21)與所述第二傳動桿(17)連接,所述第三傳動桿(18)遠離所述第一錐齒輪組(21)的一端固定安裝有不完全齒輪(20),所述球閥的轉軸上同軸固定有第三齒輪(19),所述第三齒輪(19)與所述不完全齒輪(20)間歇配合。
3.根據權利要求2所述的一種垃圾中轉站滲濾液一體化處理設備,其特征在于,所述清理結構包括轉動安裝在所述過濾件(10)外側的多個清理件(11),多個所述清理件(11)周向分布,且相鄰兩個所述清理件(11)之間形成有間隙,所述清理件(11)內側設置有毛刷,所述清理件(11)一端設置有第二齒輪(9);所述清理件(11)一側轉動安裝有第一傳動桿(6),所述第一傳動桿(6)端部固定安裝有第一齒輪(8),所述第一齒輪(8)與所述第二齒輪(9)嚙合,且所述第一傳動桿(6)還連接所述驅動結構。
4.根據權利要求2所述的一種垃圾中轉站滲濾液一體化處理設備,其特征在于,所述桶體(4)上轉動安裝有與之同心設置的第四傳動桿(26),所述第四傳動桿(26)通過第二錐齒輪組(24)連接所述第二傳動桿(17),所述第四傳動桿(26)上圓周等距固定安裝有攪拌棒(27)。
5.根據權利要求1所述的一種垃圾中轉站滲濾液一體化處理設備,其特征在于,所述收集箱(7)內部可拆卸安裝有細篩板(15)。
6.根據權利要求3所述的一種垃圾中轉站滲濾液一體化處理設備,其特征在于,所述驅動結構包括固定安裝在所述底座(1)上的電機(2),所述電機(2)的輸出軸通過第二傳動帶(23)連接所述第一傳動桿(6),且所述電機(2)的輸出軸還通過第一傳動帶(22)連接所述第二傳動桿(17)。
發明內容
本發明的目的在于提供一種垃圾中轉站滲濾液一體化處理設備,以解決上述背景技術中提出的問題。
為實現上述目的,本發明提供如下技術方案:一種種垃圾中轉站滲濾液一體化處理設備,包括:箱體、進水口、出水口以及在所述箱體中依次設置的預處理單元、生物處理單元、電催化單元,其中,預處理單元包括:底座及通過至少兩個支撐板固定安裝在所述底座上的桶體,所述桶體一側安裝有間歇排放結構;收集箱,所述收集箱內固定安裝有兩個承接板,其中一個承接板上轉動安裝有第二傳動桿,另一承接板上轉動安裝有過濾件,所述過濾件套設在所述第二傳動桿外側,所述過濾件一端設置有投放件,所述第二傳動桿外側固定安裝有變徑螺旋輸送葉片,所述變徑螺旋輸送葉片的葉片間距沿輸送方向逐漸變小,所述投放件與所述間歇排放結構配合向過濾件內間歇投放污泥,所述間歇排放結構連接所述第二傳動桿,所述第二傳動桿與安裝在所述底座上驅動結構連接,且所述驅動結構還與安裝在所述過濾件外側的清理結構連接;支撐件,所述支撐件固定安裝在所述收集箱一側,所述支撐件上設置有與之一體成型的受壓板,所述支撐件上固定安裝有導向件。
作為本發明進一步的方案:所述間歇投放結構包括固定安裝在所述桶體一側并與之連通的排放管,所述排放管上安裝有球閥;所述桶體一側轉動安裝有第三傳動桿,所述第三傳動桿通過第一錐齒輪組與所述第二傳動桿連接,所述第三傳動桿遠離所述第一錐齒輪組的一端固定安裝有不完全齒輪,所述球閥的轉軸上同軸固定有第三齒輪,所述第三齒輪與所述不完全齒輪間歇配合。
作為本發明再進一步的方案:所述清理結構包括轉動安裝在所述過濾件外側的多個清理件,多個所述清理件周向分布,且相鄰兩個所述清理件之間形成有間隙,所述清理件內側設置有毛刷,所述清理件一端設置有第二齒輪;所述清理件一側轉動安裝有第一傳動桿,所述第一傳動桿端部固定安裝有第一齒輪,所述第一齒輪與所述第二齒輪嚙合,且所述第一傳動桿還連接所述驅動結構。
作為本發明進一步的方案:所述桶體上轉動安裝有與之同心設置的第四傳動桿,所述第四傳動桿通過第二錐齒輪組連接所述第二傳動桿,所述第四傳動桿上圓周等距固定安裝有攪拌棒。
作為本發明再進一步的方案:所述收集箱內部可拆卸安裝有細篩板。
作為本發明再進一步的方案:所述驅動結構包括固定安裝在所述底座上的電機,所述電機的輸出軸通過第二傳動帶連接所述第一傳動桿,且所述電機的輸出軸還通過第一傳動帶連接所述第二傳動桿。
與現有技術相比,本發明的有益效果是:本發明設計新穎,一體化設備占地面積小,變徑螺旋輸送葉片分為濃縮部分和擠壓部,通過濃縮部將液體和固體除部分離,使其呈流體狀,隨著變徑螺旋輸送葉片的螺距逐漸變密,對污泥形成擠壓力,并驅使污泥朝向受壓板運動,通過變徑螺旋輸送葉片與受壓板的配合將呈流體狀的污泥中的水分去除,有效的提高了預處理的效果。
(發明人:馬丹燕;曾炎峰;陳晶晶;石云峰;陳抒含)






