公布日:2023.01.24
申請日:2022.12.06
分類號:F23G5/30(2006.01)I;F23G5/44(2006.01)I;F23G5/50(2006.01)I;F23G7/00(2006.01)I;F24H3/00(2006.01)I
摘要
本發明的目的在于提供一種用于流化床污泥焚燒爐的助燃裝置和方法,其通過在流化床污泥焚燒爐上安裝帶有混料區、燃燒區和冷卻混合區的熱風爐,產生的完全燃盡且溫度可調的熱風進入爐膛,在對污泥焚燒爐實現助燃升溫作用的同時,不會出現高溫煙氣進入焚燒爐爐膛造成污泥結焦的問題,其特征在于:所述助燃裝置包括:熱風爐、溫度傳感裝置和控制器;所述熱風爐安裝在流化床污泥焚燒爐的中部或中上部的外墻上,并與流化床污泥焚燒爐內部相連通;所述熱風爐包括混料區、燃燒區和冷卻混合區;所述溫度傳感器設置于冷卻混合區內;所述控制器與溫度傳感器電性連接,所述控制器用于根據溫度傳感器反饋的溫度調節冷卻風進風口的進風量。

權利要求書
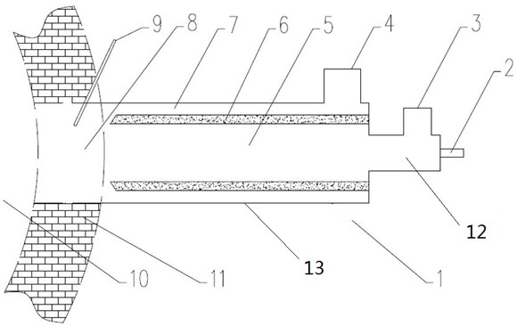
1.一種用于流化床污泥焚燒爐的助燃裝置,其特征在于:所述助燃裝置包括:熱風爐、溫度傳感裝置和控制器;所述熱風爐安裝在流化床污泥焚燒爐的中部或中上部的外墻上,并與流化床污泥焚燒爐內部相連通;所述熱風爐包括混料區、燃燒區和冷卻混合區;所述混料區包括燃料輸送管、霧化裝置和燃燒風進風口;所述燃燒區包括筒體、筒形耐火燒筑料、點火裝置和冷卻風進風口,所述筒形耐火燒筑料與筒體的內壁之間保留間隙,所述間隙分別與冷卻風進風口和冷卻混合區相連通;所述溫度傳感器設置于冷卻混合區內;所述控制器與溫度傳感器電性連接,所述控制器用于根據溫度傳感器反饋的溫度調節冷卻風進風口的進風量。
2.根據權利要求1所述的一種用于流化床污泥焚燒爐的助燃裝置,其特征在于:所述熱風爐所用的燃料種類為柴油、天然氣、城市煤氣或沼氣。
3.根據權利要求1所述的一種用于流化床污泥焚燒爐的助燃裝置,其特征在于:所述霧化裝置和點火裝置的選型與燃料種類相適配。
4.基于權利要求1所述的助燃裝置的一種用于流化床污泥焚燒爐的助燃方法,其特征在于:所述助燃方法包括以下步驟:步驟1、根據燃料的種類配置相應的霧化裝置和點火裝置;步驟2、燃料經燃料輸送管和霧化裝置后進入熱風爐的混料區,然后與經燃燒風進風口進入的燃燒風相混合后進去燃燒區;步驟3、在燃燒區內,點火裝置將燃料點燃,產生高溫煙氣;步驟4、高溫煙氣進入冷卻混合區,與經冷卻風進風口和間隙進入的冷卻風混合后降溫,得到熱風;步驟5、熱風進入流化床污泥焚燒爐內。
5.根據權利要求4所述的一種用于流化床污泥焚燒爐的助燃方法,其特征在于:所述步驟2中,根據燃料的輸送量來設置燃燒風進風口的進風量。
6.根據權利要求4所述的一種用于流化床污泥焚燒爐的助燃方法,其特征在于:所述步驟3中,燃料在燃燒區內完全燃燒。
7.根據權利要求4所述的一種用于流化床污泥焚燒爐的助燃方法,其特征在于:所述步驟4中,根據熱風的目標溫度來調節冷卻風進風口的進風量。
發明內容
本發明的目的在于提供一種用于流化床污泥焚燒爐的助燃裝置和方法,其通過在流化床污泥焚燒爐上安裝帶有混料區、燃燒區和冷卻混合區的熱風爐,產生的完全燃盡且溫度可調的熱風進入爐膛,在對污泥焚燒爐實現助燃升溫作用的同時,不會出現高溫煙氣進入焚燒爐爐膛造成污泥結焦的問題,同時也不會造成未燃盡的燃料進入鍋爐造成焚燒爐煙氣一氧化碳超標排放的問題。
一種用于流化床污泥焚燒爐的助燃裝置,其特征在于:所述助燃裝置包括:熱風爐、溫度傳感裝置和控制器;所述熱風爐安裝在流化床污泥焚燒爐的中部或中上部的外墻上,并與流化床污泥焚燒爐內部相連通;所述熱風爐包括混料區、燃燒區和冷卻混合區;所述混料區包括燃料輸送管、霧化裝置和燃燒風進風口;所述燃燒區包括筒體、筒形耐火燒筑料、點火裝置和冷卻風進風口,所述筒形耐火燒筑料與筒體的內壁之間保留間隙,所述間隙分別與冷卻風進風口和冷卻混合區相連通;所述溫度傳感器設置于冷卻混合區內;所述控制器與溫度傳感器電性連接,所述控制器用于根據溫度傳感器反饋的溫度調節冷卻風進風口的進風量。
進一步的,所述熱風爐所用的燃料種類為柴油、天然氣、城市煤氣或沼氣。
進一步的,所述霧化裝置和點火裝置的選型與燃料種類相適配。
基于本發明的助燃裝置,本發明還提供了一種用于流化床污泥焚燒爐的助燃方法,其特征在于:所述助燃方法包括以下步驟:步驟1、根據燃料的種類配置相應的霧化裝置和點火裝置;步驟2、燃料經燃料輸送管和霧化裝置后進入熱風爐的混料區,然后與經燃燒風進風口進入的燃燒風相混合后進去燃燒區;步驟3、在燃燒區內,點火裝置將燃料點燃,產生高溫煙氣;步驟4、高溫煙氣進入冷卻混合區,與經冷卻風進風口和間隙進入的冷卻風混合后降溫,得到熱風;步驟5、熱風進入流化床污泥焚燒爐內。
進一步的,所述步驟2中,根據燃料的輸送量來設置燃燒風進風口的進風量。
進一步的,所述步驟3中,燃料在燃燒區內完全燃燒。
進一步的,所述步驟4中,根據熱風的目標溫度來調節冷卻風進風口的進風量。
本發明的有益效果是:本助燃裝置和助燃方法通過在流化床污泥焚燒爐上安裝帶有混料區、燃燒區和冷卻混合區的熱風爐,產生的完全燃盡且溫度可調的熱風進入爐膛,在對污泥焚燒爐實現助燃升溫作用的同時,不會出現高溫煙氣進入焚燒爐爐膛造成污泥結焦的問題,同時也不會造成未燃盡的燃料進入鍋爐造成焚燒爐煙氣一氧化碳超標排放的問題。
(發明人:王建國;孫赟冬;常偉;李沖;浦田;張宏;王瑞)






