公布日:2023.12.19
申請日:2022.06.07
分類號:C02F1/78(2023.01)I;C02F1/00(2023.01)I
摘要
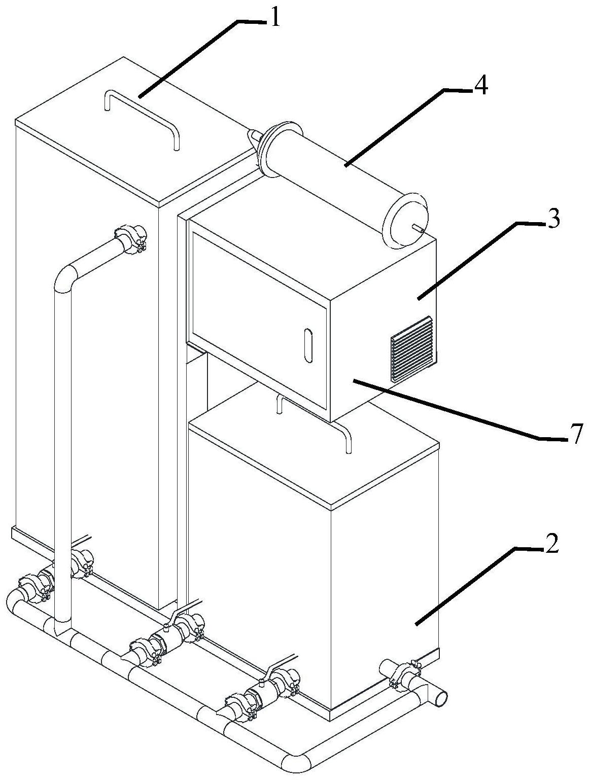
本發明公開一種牙科醫療廢水處理裝置及方法,其中該裝置包括:調節水箱,其中設置有提籃過濾器和轉運水泵,調節水箱具有第一進水口和第一出水口,提籃過濾器過濾通過第一進水口流入的廢水中的固體雜物,調節水箱對過濾后的廢水進行均質均量處理;臭氧發生器,用于產生臭氧;消毒水箱,消毒水箱具有第二進水口和第二出水口,第二進水口與第一出水口連接;消毒水箱還包括位于箱體底部的進氣口和位于箱體頂部的出氣口,進氣口與臭氧發生器連接,消毒水箱用于使用臭氧對廢水進行消毒和殺菌處理;臭氧尾氣破壞裝置,用于收集消毒水箱中的殘留臭氧尾氣并對臭氧尾氣進行分解處理。通過本發明能夠有效殺滅廢水中的細菌和病毒,實現了廢水的凈化處理。

權利要求書
1.一種牙科醫療廢水處理裝置,其特征在于,包括:調節水箱,其中設置有提籃過濾器和轉運水泵,所述調節水箱具有第一進水口和第一出水口,所述提籃過濾器過濾通過所述第一進水口流入的廢水中的固體雜物,所述調節水箱對過濾后的廢水進行均質均量處理,所述轉運水泵設置在所述第一出水口附近,所述轉運水泵通過所述第一出水口將廢水定量轉運至消毒水箱;臭氧發生器,用于產生臭氧;消毒水箱,所述消毒水箱具有第二進水口和第二出水口,所述第二進水口與所述第一出水口連接;所述消毒水箱還包括位于箱體底部的進氣口和位于箱體頂部的出氣口,所述進氣口與所述臭氧發生器連接,所述消毒水箱用于使用臭氧對廢水進行消毒和殺菌處理;臭氧尾氣破壞裝置,用于收集所述消毒水箱中的殘留臭氧尾氣并對臭氧尾氣進行分解處理。
2.根據權利要求1所述的牙科醫療廢水處理裝置,其特征在于,所述轉運水泵設置在所述第一出水口附近。
3.根據權利要求1所述的牙科醫療廢水處理裝置,其特征在于,所述消毒水箱的水箱底部設置有微孔曝氣裝置,所述臭氧發生器產生的臭氧通過所述微孔曝氣裝置在所述消毒水箱的底部釋放。
4.根據權利要求1所述的牙科醫療廢水處理裝置,其特征在于,所述消毒水箱內設置有弓形隔板,通過所述弓形隔板使廢水以折流方式從所述第二進水口流向所述第二出水口,其中廢水在所述消毒水箱中停留時間超過20分鐘。
5.根據權利要求1所述的牙科醫療廢水處理裝置,其特征在于,所述調節水箱為均質均量調節水箱。
6.一種牙科醫療廢水處理方法,其特征在于,包括:收集牙科醫療廢水;在第一水箱中過濾廢水中的固體雜物,并對過濾后的廢水進行均質均量處理;將廢水定量轉運至第二水箱,在所述第二水箱中使用臭氧對廢水進行消毒和殺菌處理;收集所述第二水箱中的殘留臭氧尾氣并對臭氧尾氣進行分解處理。
7.根據權利要求6所述的牙科醫療廢水處理方法,其特征在于,還包括:在第一水箱的出水口附近設置轉運水泵,通過所述轉運水泵將廢水定量轉運至第二水箱。
8.根據權利要求6所述的牙科醫療廢水處理方法,其特征在于,使廢水在所述消毒水箱中停留時間超過20分鐘。
9.根據權利要求6所述的牙科醫療廢水處理方法,其特征在于,所述消毒水箱內設置有弓形隔板,通過所述弓形隔板使廢水以折流方式從所述第二進水口流向所述第二出水口。
10.根據權利要求6所述的牙科醫療廢水處理方法,其特征在于,還包括:以微孔曝氣方式使臭氧在第二水箱的底部釋放。
發明內容
本發明的主要目的在于提供一種牙科醫療廢水處理裝置及方法,以解決現有技術存在的醫療廢水凈化處理不徹底,無法滿足排放標準的問題。
根據本發明實施例提出一種牙科醫療廢水處理裝置,其包括:調節水箱,其中設置有提籃過濾器和轉運水泵,所述調節水箱具有第一進水口和第一出水口,所述提籃過濾器過濾通過所述第一進水口流入的廢水中的固體雜物,所述調節水箱對過濾后的廢水進行均質均量處理,所述轉運水泵設置在所述第一出水口附近,所述轉運水泵通過所述第一出水口將廢水定量轉運至消毒水箱;臭氧發生器,用于產生臭氧;消毒水箱,所述消毒水箱具有第二進水口和第二出水口,所述第二進水口與所述第一出水口連接;所述消毒水箱還包括位于箱體底部的進氣口和位于箱體頂部的出氣口,所述進氣口與所述臭氧發生器連接,所述消毒水箱用于使用臭氧對廢水進行消毒和殺菌處理;臭氧尾氣破壞裝置,用于收集所述消毒水箱中的殘留臭氧尾氣并對臭氧尾氣進行分解處理。
其中,所述轉運水泵設置在所述第一出水口附近。
其中,所述消毒水箱的水箱底部設置有微孔曝氣裝置,所述臭氧發生器產生的臭氧通過所述微孔曝氣裝置在所述消毒水箱的底部釋放。
其中,所述消毒水箱內設置有弓形隔板,通過所述弓形隔板使廢水以折流方式從所述第二進水口流向所述第二出水口,其中廢水在所述消毒水箱中停留時間超過20分鐘。
其中,所述調節水箱為均質均量調節水箱。
根據本發明實施例還提出一種牙科醫療廢水處理方法,其包括:收集牙科醫療廢水;在第一水箱中過濾廢水中的固體雜物,并對過濾后的廢水進行均質均量處理;將廢水定量轉運至第二水箱,在所述第二水箱中使用臭氧對廢水進行消毒和殺菌處理;收集所述第二水箱中的殘留臭氧尾氣并對臭氧尾氣進行分解處理。
其中,所述牙科醫療廢水處理方法還包括:在第一水箱的出水口附近設置轉運水泵,通過所述轉運水泵將廢水定量轉運至第二水箱。
其中,使廢水在所述消毒水箱中停留時間超過20分鐘。
其中,所述消毒水箱內設置有弓形隔板,通過所述弓形隔板使廢水以折流方式從所述第二進水口流向所述第二出水口。
其中,所述牙科醫療廢水處理方法還包括:以微孔曝氣方式使臭氧在第二水箱的底部釋放。
根據本發明的技術方案,可以有效殺滅牙科診所醫療廢水中的細菌和病毒,并且可以氧化掉廢水中部分有機物,整個處理過程中無需人工投加任何藥劑,無需人員干預,臭氧殺菌法受環境影響小,對水溫、環境溫度要求低,氧化效率高,可以保證對廢水中細菌、病毒有效殺滅,保證殺菌效率,使廢水達標排放。
(發明人:徐繪;關向宇)






