公布日:2023.12.19
申請日:2023.08.28
分類號:C02F1/52(2023.01)I;C02F1/00(2023.01)I
摘要
本發明涉及蘭炭廢水處理技術領域,具體的說是一種蘭炭廢水處理工藝及處理裝置,包括主體機構;所述主體機構上安裝有排料機構;所述排料機構與抵觸機構之間配合連接;所述主體機構上連通有儲液箱;所述儲液箱上安裝有儲液機構;所述儲液機構上配合滑動有密封機構;所述主體機構上轉動有攪拌機構;將廢水排入主體機構,通過排料機構可以對廢水中含有的雜質進行過濾,進而便于將濾渣排出主體機構;將絮凝劑加入到儲液箱內,按壓密封機構,使其在儲液機構內滑動,進而便于使絮凝劑通過儲液機構排放到主體機構內;打開攪拌機構的控制開關,使其對廢水和絮凝劑進行攪拌混合,且攪拌機構帶動抵觸機構滑動,使排料機構抖動,進而便于防止排料機構堵塞。

權利要求書
1.一種蘭炭廢水處理工藝,其特征在于,包括以下步驟:步驟一:過濾廢水,將蘭炭廢水加入到主體機構(1)內,通過排料機構(2)可以對廢水中沉淀的雜質進行過濾并使其排出主體機構(1);步驟二:添加試劑,將絮凝劑注入儲液箱(4),按壓密封機構(6),可以使凝絮劑通過儲液機構(5)排放到主體機構(1)內;步驟三:攪拌廢水,打開攪拌機構(3)的控制開關,可以使其對主體機構(1)中的廢水和絮凝劑進行攪拌混合;步驟四:排放濾渣,攪拌機構(3)轉動驅動抵觸機構(7)滑動,使其帶動排料機構(2)旋轉,在排料機構(2)抖動時可以將濾渣排出主體機構(1)。
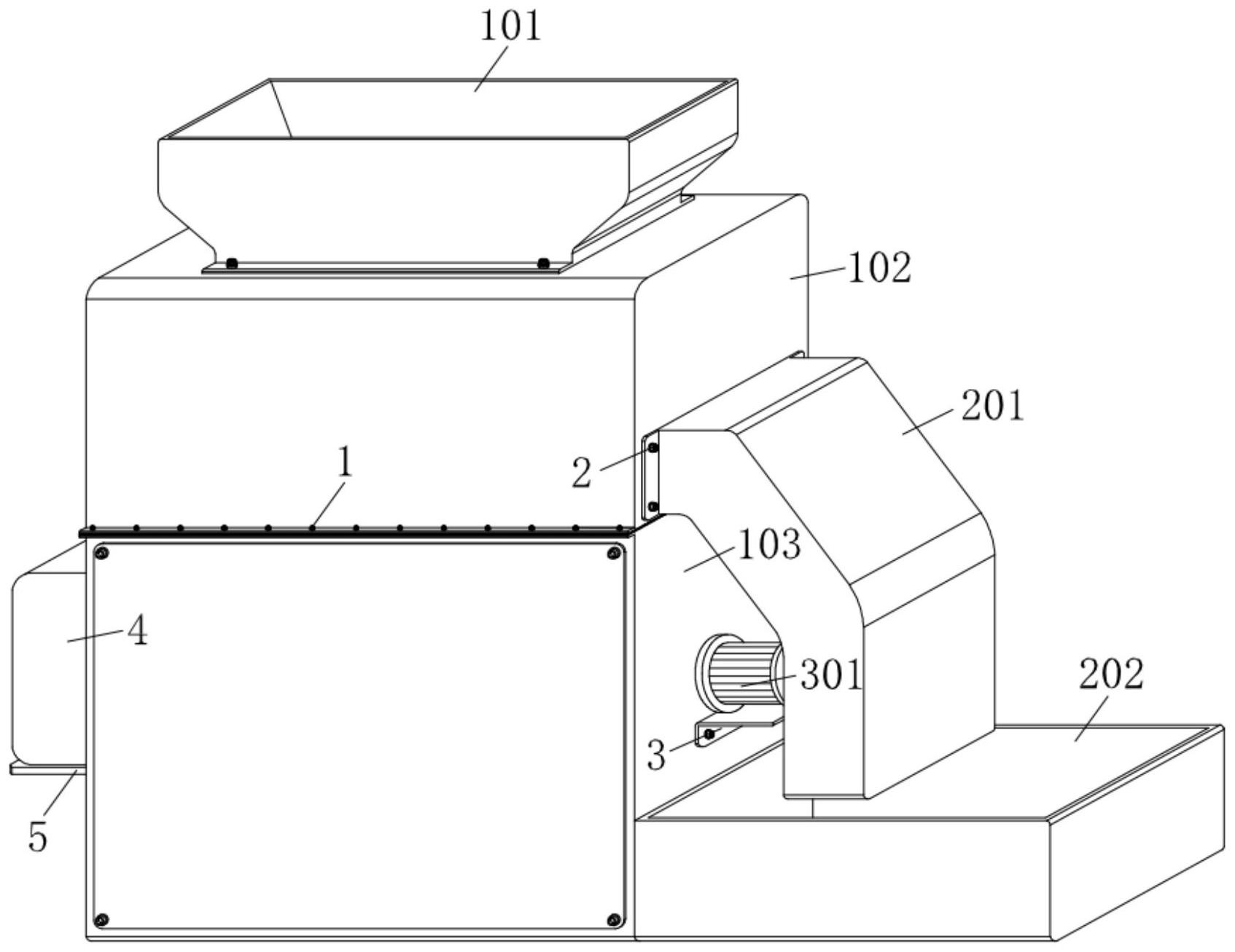
2.根據權利要求1所述的一種蘭炭廢水處理工藝,現提出一種蘭炭廢水處理裝置,其特征在于,包括主體機構(1);所述主體機構(1)上安裝有排料機構(2);所述排料機構(2)與抵觸機構(7)之間配合連接;所述主體機構(1)上連通有儲液箱(4);所述儲液箱(4)上安裝有儲液機構(5);所述儲液機構(5)上配合滑動有密封機構(6);所述主體機構(1)上轉動有攪拌機構(3);所述密封機構(6)包括長桿(602),所述儲液箱(4)上滑動連接有長桿(602),所述長桿(602)與拉桿(601)之間固定連接,所述長桿(602)上轉動連接有滾珠(604),所述滾珠(604)與抵桿(605)之間滾動連接,所述長桿(602)與抵桿(605)之間轉動連接,且所述抵桿(605)通過壓簧(606)與儲液機構(5)配合連接,所述抵桿(605)上固定安裝有密封塊(607),所述密封塊(607)與儲液機構(5)之間配合連接。
3.根據權利要求2所述的一種蘭炭廢水處理裝置,其特征在于:所述密封機構(6)還包括混料桿(603),所述儲液箱(4)上配合轉動有若干組混料桿(603),且所述混料桿(603)與長桿(602)之間固定連接。
4.根據權利要求2所述的一種蘭炭廢水處理裝置,其特征在于:所述儲液機構(5)包括固定架(502),所述儲液箱(4)上固定連接有固定架(502),所述固定架(502)通過壓簧(606)與抵桿(605)配合連接,所述儲液箱(4)上粘接有密封墊(503),且所述密封塊(607)與密封墊(503)抵觸。
5.根據權利要求4所述的一種蘭炭廢水處理裝置,其特征在于:所述儲液機構(5)還包括注水管(501),所述儲液箱(4)上固定安裝有注水管(501),所述儲液箱(4)上設有排水槽(504),所述排水槽(504)部位固定安裝有濾網(505),所述儲液箱(4)與支撐架(506)之間固定連接。
6.根據權利要求5所述的一種蘭炭廢水處理裝置,其特征在于:所述主體機構(1)包括第二箱體(103),所述支撐架(506)與第二箱體(103)之間固定連接,所述第二箱體(103)上設有空槽(104),所述排水槽(504)通過濾網(505)與空槽(104)連通。
7.根據權利要求6所述的一種蘭炭廢水處理裝置,其特征在于:所述主體機構(1)還包括第一箱體(102),所述第二箱體(103)上固定安裝有第一箱體(102),所述第一箱體(102)上固定連接有進料斗(101)。
8.根據權利要求7所述的一種蘭炭廢水處理裝置,其特征在于:所述排料機構(2)包括排料斗(201),所述第一箱體(102)上固定連接有排料斗(201),所述排料斗(201)與儲渣箱(202)連通,所述儲渣箱(202)與第二箱體(103)之間固定連接,所述第一箱體(102)上設有排渣槽(203),所述排渣槽(203)部位配合轉動有濾板(204),所述濾板(204)上固定安裝有連軸(205),所述連軸(205)與第一箱體(102)之間轉動連接,所述連軸(205)上套接有扭簧(206),且所述濾板(204)通過扭簧(206)與第一箱體(102)配合連接。
9.根據權利要求8所述的一種蘭炭廢水處理裝置,其特征在于:所述抵觸機構(7)包括連接塊(705),所述濾板(204)上固定安裝有連接塊(705),所述連接塊(705)上設有滑槽(706),所述滑槽(706)部位配合滑動有導桿(704),所述導桿(704)與滑桿(702)之間固定連接,所述滑桿(702)與連接塊(705)之間轉動連接,所述滑桿(702)上套接有伸縮彈簧(703),且所述滑桿(702)通過伸縮彈簧(703)與第一箱體(102)配合連接,所述滑桿(702)上固定安裝有凸塊(701)。
10.根據權利要求6所述的一種蘭炭廢水處理裝置,其特征在于:所述攪拌機構(3)包括電機(301),所述第二箱體(103)上固定安裝有電機(301),所述電機(301)的輸出端通過聯軸器固定連接有轉軸(302),所述轉軸(302)與第二箱體(103)之間轉動連接,所述轉軸(302)上呈環狀等距固定安裝有若干組攪拌桿(303),所述轉軸(302)上固定連接有轉桿(304)。
發明內容
針對現有技術中的問題,本發明提供了一種蘭炭廢水處理工藝及處理裝置。
本發明解決其技術問題所采用的技術方案是:一種蘭炭廢水處理工藝,包括以下步驟:
步驟一:過濾廢水,將蘭炭廢水加入到主體機構內,通過排料機構可以對廢水中沉淀的雜質進行過濾并使其排出主體機構;
步驟二:添加試劑,將絮凝劑注入儲液箱,按壓密封機構,可以使凝絮劑通過儲液機構排放到主體機構內;
步驟三:攪拌廢水,打開攪拌機構的控制開關,可以使其對主體機構中的廢水和絮凝劑進行攪拌混合;
步驟四:排放濾渣,攪拌機構轉動驅動抵觸機構滑動,使其帶動排料機構旋轉,在排料機構抖動時可以將濾渣排出主體機構。
具體的,一種蘭炭廢水處理裝置,包括主體機構;所述主體機構上安裝有排料機構;所述排料機構與抵觸機構之間配合連接;所述主體機構上連通有儲液箱;所述儲液箱上安裝有儲液機構;所述儲液機構上配合滑動有密封機構;所述主體機構上轉動有攪拌機構;
所述密封機構包括長桿,所述儲液箱上滑動連接有長桿,所述長桿與拉桿之間固定連接,所述長桿上轉動連接有滾珠,所述滾珠與抵桿之間滾動連接,所述長桿與抵桿之間轉動連接,且所述抵桿通過壓簧與儲液機構配合連接,所述抵桿上固定安裝有密封塊,所述密封塊與儲液機構之間配合連接,所述密封機構還包括混料桿,所述儲液箱上配合轉動有若干組混料桿,且所述混料桿與長桿之間固定連接。
具體的,所述儲液機構包括固定架,所述儲液箱上固定連接有固定架,所述固定架通過壓簧與抵桿配合連接,所述儲液箱上粘接有密封墊,且所述密封塊與密封墊抵觸,所述儲液機構還包括注水管,所述儲液箱上固定安裝有注水管,所述儲液箱上設有排水槽,所述排水槽部位固定安裝有濾網,所述儲液箱與支撐架之間固定連接。
具體的,所述主體機構包括第二箱體,所述支撐架與第二箱體之間固定連接,所述第二箱體上設有空槽,所述排水槽通過濾網與空槽連通,所述主體機構還包括第一箱體,所述第二箱體上固定安裝有第一箱體,所述第一箱體上固定連接有進料斗。
具體的,所述排料機構包括排料斗,所述第一箱體上固定連接有排料斗,所述排料斗與儲渣箱連通,所述儲渣箱與第二箱體之間固定連接,所述第一箱體上設有排渣槽,所述排渣槽部位配合轉動有濾板,所述濾板上固定安裝有連軸,所述連軸與第一箱體之間轉動連接,所述連軸上套接有扭簧,且所述濾板通過扭簧與第一箱體配合連接。
具體的,所述抵觸機構包括連接塊,所述濾板上固定安裝有連接塊,所述連接塊上設有滑槽,所述滑槽部位配合滑動有導桿,所述導桿與滑桿之間固定連接,所述滑桿與連接塊之間轉動連接,所述滑桿上套接有伸縮彈簧,且所述滑桿通過伸縮彈簧與第一箱體配合連接,所述滑桿上固定安裝有凸塊。
具體的,所述攪拌機構包括電機,所述第二箱體上固定安裝有電機,所述電機的輸出端通過聯軸器固定連接有轉軸,所述轉軸與第二箱體之間轉動連接,所述轉軸上呈環狀等距固定安裝有若干組攪拌桿,所述轉軸上固定連接有轉桿。
本發明的有益效果是:
(1)本發明所述的一種蘭炭廢水處理工藝及處理裝置,將廢水排入主體機構,通過排料機構可以對廢水中含有的雜質進行過濾,進而便于將濾渣排出主體機構,即:操作人員可以將蘭炭廢水通過進料斗排放到第一箱體內部,第一箱體內配合轉動有濾板,濾板上固定連接有連軸,連軸上套接有扭簧,濾板通過扭簧與第一箱體配合連接,蘭炭廢水通過濾板排放到第二箱體內部,蘭炭廢水中含有的雜質被過濾在濾板上,且濾板呈傾斜設置,第一箱體上固定安裝有排料斗,排料斗與儲渣箱連通,雜質通過濾板排放到排料斗內,進而使雜質通過排料斗輸送到儲渣箱內,儲渣箱的設置,可以使其對雜質進行儲存。
(2)本發明所述的一種蘭炭廢水處理工藝及處理裝置,將絮凝劑加入到儲液箱內,按壓密封機構,可以使其在儲液機構內滑動,進而便于使絮凝劑通過儲液機構排放到主體機構內,即:第二箱體上固定安裝有支撐架,支撐架上固定有儲液箱,儲液箱上安裝有注水管,通過注水管,將絮凝劑注入到儲液箱內,接著用手按壓拉桿,拉桿與長桿之間固定連接,長桿上轉動連接有抵桿,長桿上轉動連接有滾珠,滾珠與抵桿之間滾動連接,握住拉桿并轉動,可以使長桿上固定的混料桿對絮凝劑進行攪拌;抵桿與儲液箱內安裝的固定架之間滑動連接,抵桿上套接有壓簧,按壓拉桿時,可以使其帶動長桿滑動,長桿對抵桿進行抵觸,進而使抵桿在固定架內部滑動,抵桿位移,可以使壓簧處于拉伸狀態,且抵桿端部固定安裝有密封塊,儲液箱上粘接有密封墊,抵桿隨密封塊滑動到儲液箱內設有的排水槽部位,絮凝劑通過密封塊與儲液箱之間的縫隙流動到排水槽部位,且排水槽部位粘接有濾網,絮凝劑通過濾網可以通過第二箱體內設有的空槽部位排放到第二箱體內部,進而便于操作人員往第二箱體內部添加絮凝劑;松開拉桿時,可以使抵桿在壓簧的反作用力下復位,進而使其帶動密封塊重新卡合到儲液箱內并與密封墊抵觸,從而便于重新對儲液箱進行密封。
(3)本發明所述的一種蘭炭廢水處理工藝及處理裝置,打開攪拌機構的控制開關,使其對廢水和絮凝劑進行攪拌混合,且攪拌機構帶動抵觸機構滑動,可以使排料機構抖動,進而便于防止排料機構堵塞,即:電機固定安裝在第二箱體上,打開電機的控制開關,電機的輸出端通過聯軸器固定連接有轉軸,轉軸上呈環狀等距固定連接有若干組攪拌桿,電機啟動時,可以使轉軸帶動攪拌桿轉動,進而使攪拌桿在第二箱體內部轉動時可以對廢水和絮凝劑進行攪拌混合,進而便于使廢水與絮凝劑充分融合在一起;轉軸上固定連接有轉桿,轉桿轉動時,可以使其對凸塊進行抵觸,凸塊與滑桿之間固定連接,滑桿上套接有伸縮彈簧,滑桿通過伸縮彈簧與第一箱體配合連接,凸塊帶動滑桿滑動時,可以使滑桿對伸縮彈簧進行擠壓,滑桿上固定安裝有導桿,濾板上固定安裝有連接塊,連接塊上設有滑槽,導桿在滑槽部位滑動,滑桿帶動導桿滑動,使導桿對連接塊進行抵觸,進而使連接塊帶動濾板轉動,進而使連軸上套接的扭簧形變,當轉桿與凸塊分離時,可以使濾板和滑桿在扭簧和伸縮彈簧的反作用力下復位,濾板抖動,可以使過濾下來的雜質排放到排料斗內,從而有利于防止濾板使用時堵塞。
(發明人:高強;楊秀萍;張鋒瑞;蓋克洲;張劍飛)






