公布日:2023.12.19
申請日:2023.09.12
分類號:C02F1/52(2023.01)I;C02F1/00(2023.01)N
摘要
本發明公開了一種含煤廢水沉淀分離系統,包括電控箱、液態藥劑儲存箱和藥劑攪拌箱,液態藥劑儲存箱和藥劑攪拌箱的一側設有第一絮凝區和第二絮凝區,第一絮凝區內設有含煤廢水進水管道和連通管道,液態藥劑儲存箱內設有液態藥劑傳輸管道,第一絮凝區的下方設置泥漿沉積裝置,泥漿沉積裝置內設有通向箱體外部的絞龍輸送管道,所述含煤廢水進水管道內設有混合器,第二絮凝區的箱體內設有清水排水管,且底部設有沉積槽,沉積槽通過泥漿回流管與第一絮凝區連接;通過對本發明產品的改良設計,從而使得發明產品還具有工藝流程短、處理效果好、占地面積小、出水穩定、自動化程度高,可實現無人值守連續作業的技術優勢。

權利要求書
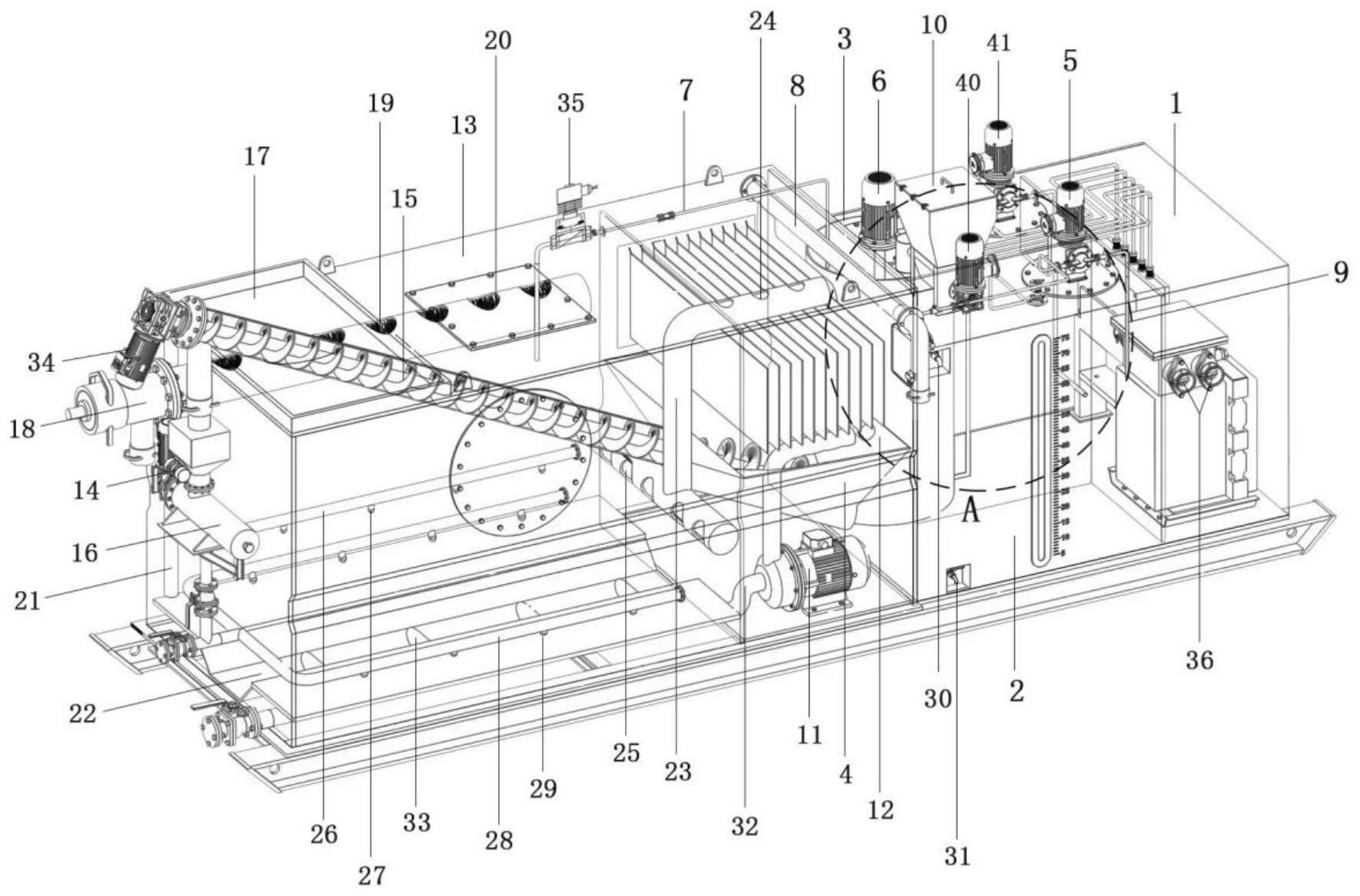
1.一種含煤廢水沉淀分離系統,其特征在于,包括電控箱(1),所述電控箱(1)的一側設有液態藥劑儲存箱(2)和藥劑攪拌箱(3),所述液態藥劑儲存箱(2)和所述藥劑攪拌箱(3)遠離所述電控箱(1)的一側依次設有第一絮凝區(12)和第二絮凝區(13);所述第一絮凝區(12)內設有含煤廢水進水管道(8)和連通所述第二絮凝區(13)的連通管道(23),所述液態藥劑儲存箱(2)內設有連接所述含煤廢水進水管道(8)的液態藥劑傳輸管道(9),所述第一絮凝區(12)的下方設置泥漿沉積裝置(4),所述泥漿沉積裝置(4)內設有通向箱體外部的絞龍輸送管道(15),所述含煤廢水進水管道(8)內設有混合器;所述第二絮凝區(13)的箱體內設有清水排水管,且所述第二絮凝區(13)箱體內的底部設有沉積槽(22),所述沉積槽(22)通過泥漿回流管(32)與所述第一絮凝區(12)相連接,所述泥漿回流管(32)上設有泥漿泵(11)。
2.根據權利要求1所述的一種含煤廢水沉淀分離系統,其特征在于,所述清水排水管包括出液管道(18),所述出液管道(18)上均勻分布有若干個開口向上的出液管道進水口(20),所述出液管道(18)內部設有過濾毛刷(19),所述過濾毛刷(19)為纖維過濾毛刷。
3.根據權利要求1所述的一種含煤廢水沉淀分離系統,其特征在于,所述第二絮凝區(13)內設有第一噴淋管(26)和第二噴淋管(28),所述第一噴淋管(26)和所述第二噴淋管(28)伸出所述第二絮凝區(13)的一端均設有手動閥門,所述第一噴淋管(26)和所述第二噴淋管(28)上分別設有若干個第一噴淋口(27)和若干個第二噴淋口(29)。
4.根據權利要求1所述的一種含煤廢水沉淀分離系統,其特征在于,所述沉積槽(22)為倒梯形的凹槽,所述泥漿回流管(32)伸出所述第二絮凝區(13)的一端設有手動閥門,所述泥漿回流管(32)的主管道上分設有若干個泥漿回流支管(33),所述泥漿回流支管(33)位于所述沉積槽(22)內。
5.根據權利要求1所述的一種含煤廢水沉淀分離系統,其特征在于,所述絞龍輸送管道(15)的頂部設有絞龍電機(34),所述絞龍輸送管道(15)的頂部下方連接有小絞龍,所述小絞龍的出泥口處設有壓縮裝置(16),所述壓縮裝置(16)的側壁設有第一振動器(14);所述第二絮凝區(13)與所述藥劑攪拌箱(3)之間設有清水循環管道(7),所述清水循環管道(7)上設有清水循環電磁閥(35)。
6.根據權利要求1所述的一種含煤廢水沉淀分離系統,其特征在于,所述連通管道(23)包括L形管體和垂直于L形管體的橫置管體,所述L形管體的頂面設有若干個連通管道進水口(24),所述橫置管體的側面設有若干個連通管道出水口(25),所述連通管道進水口(24)位于所述第一絮凝區(12)內,所述連通管道出水口(25)位于所述第二絮凝區(13)內。
7.根據權利要求1所述的一種含煤廢水沉淀分離系統,其特征在于,所述絞龍輸送管道(15)高出于所述第二絮凝區(13)頂面部分管道上開設有若干個瀝水孔,所述第二絮凝區(13)的頂面設有瀝水區(17),所述瀝水區(17)和所述第二絮凝區(13)通過瀝水管道(21)回流連通。
8.根據權利要求1所述的一種含煤廢水沉淀分離系統,其特征在于,所述藥劑攪拌箱(3)的上方設有抽液泵(41),所述液態藥劑儲存箱(2)的上方設有加藥泵(40)和倒斗狀的固態藥劑儲存箱(10),所述固態藥劑儲存箱(10)的側壁設有第二振動器;所述含煤廢水進水管道(8)的一端設有第一流量控制器(38)和第二流量控制器(39)。
9.根據權利要求1所述的一種含煤廢水沉淀分離系統,其特征在于,所述電控箱(1)內設有與所述液態藥劑儲存箱(2)和所述藥劑攪拌箱(3)相連接的電控自動加藥裝置和啟動器(36),所述液態藥劑儲存箱(2)上方設有液位儀(37),所述液態藥劑儲存箱(2)、所述藥劑攪拌箱(3)和所述第二絮凝區(13)上方均設有抽取計量裝置,所述藥劑攪拌箱(3)上方設有伸入至箱體內的攪拌泵(6)。
10.根據權利要求19任一項所述的一種含煤廢水沉淀分離系統,其特征在于,所述液態藥劑儲存箱(2)和所述藥劑攪拌箱(3)的外側立墻均設有高位手動排液口(30)和低位手動排液口(31)。
發明內容
針對相關技術中的上述技術問題,本發明提出一種含煤廢水沉淀分離系統,能夠克服現有技術的上述不足。
為實現上述技術目的,本發明的技術方案是這樣實現的:一種含煤廢水沉淀分離系統;該含煤廢水沉淀分離系統包括電控箱,所述電控箱的一側設有液態藥劑儲存箱和藥劑攪拌箱,所述液態藥劑儲存箱和所述藥劑攪拌箱遠離所述電控箱的一側依次設有第一絮凝區和第二絮凝區;所述第一絮凝區內設有含煤廢水進水管道和連通所述第二絮凝區的連通管道,所述液態藥劑儲存箱內設有連接所述含煤廢水進水管道的液態藥劑傳輸管道,所述第一絮凝區的下方設置泥漿沉積裝置,所述泥漿沉積裝置內設有通向箱體外部的絞龍輸送管道,所述含煤廢水進水管道內設有混合器;所述第二絮凝區的箱體內設有清水排水管,且所述第二絮凝區箱體內的底部設有沉積槽,所述沉積槽通過泥漿回流管與所述第一絮凝區相連接,所述泥漿回流管上設有泥漿泵。
進一步地,所述清水排水管包括出液管道,所述出液管道上均勻分布有若干個開口向上的出液管道進水口,所述出液管道內部設有過濾毛刷,所述過濾毛刷為纖維過濾毛刷。
進一步地,所述第二絮凝區內設有第一噴淋管和第二噴淋管,所述第一噴淋管和所述第二噴淋管伸出所述第二絮凝區的一端均設有手動閥門,所述第一噴淋管和所述第二噴淋管上分別設有若干個第一噴淋口和若干個第二噴淋口。
進一步地,所述沉積槽為倒梯形的凹槽,所述泥漿回流管伸出所述第二絮凝區的一端設有手動閥門,所述泥漿回流管的主管道上分設有若干個泥漿回流支管,所述泥漿回流支管位于所述沉積槽內。
進一步地,所述絞龍輸送管道的頂部設有絞龍電機,所述絞龍輸送管道的頂部下方連接有小絞龍,所述小絞龍的出泥口處設有壓縮裝置,所述壓縮裝置的側壁設有第一振動器;所述第二絮凝區與所述藥劑攪拌箱之間設有清水循環管道,所述清水循環管道上設有清水循環電磁閥。
進一步地,所述連通管道包括L形管體和垂直于L形管體的橫置管體,所述L形管體的頂面設有若干個連通管道進水口,所述橫置管體的側面設有若干個連通管道出水口,所述連通管道進水口位于所述第一絮凝區內,所述連通管道出水口位于所述第二絮凝區內。
進一步地,所述絞龍輸送管道高出于所述第二絮凝區頂面部分管道上開設有若干個瀝水孔,所述第二絮凝區的頂面設有瀝水區,所述瀝水區和所述第二絮凝區通過瀝水管道回流連通。
進一步地,所述藥劑攪拌箱的上方設有抽液泵,所述液態藥劑儲存箱的上方設有加藥泵和倒斗狀的固態藥劑儲存箱,所述固態藥劑儲存箱的側壁設有第二振動器;所述含煤廢水進水管道的一端設有第一流量控制器和第二流量控制器。
進一步地,所述電控箱內設有與所述液態藥劑儲存箱和所述藥劑攪拌箱相連接的電控自動加藥裝置和啟動器,所述液態藥劑儲存箱上方設有液位儀,所述液態藥劑儲存箱、所述藥劑攪拌箱和所述第二絮凝區上方均設有抽取計量裝置,所述藥劑攪拌箱上方設有伸入至箱體內的攪拌泵。
進一步地,所述液態藥劑儲存箱和所述藥劑攪拌箱的外側立墻均設有高位手動排液口和低位手動排液口。
本發明的有益效果:通過對本發明產品的優化改良設計,從而使得自然重力沉淀和絮凝處理有效結合、且實現了沉降物二次沉淀絮凝壓縮,對系統中處理后的清水也進行了循環再利用,進而達到提高作業效率、提升自動化程度、有效降低泥煤的含水率、提高泥煤的抗沖擊能力的技術效果,且本發明產品還具有工藝流程短、處理效果好、占地面積小、出水穩定、自動化程度高,可實現無人值守連續作業的技術優勢。
(發明人:熊妍;顧國才)






