公布日:2023.10.31
申請日:2023.09.07
分類號:C02F1/52(2023.01)I;B01D29/03(2006.01)I;B01D29/64(2006.01)I
摘要
本發明涉及混合裝置技術領域,尤其是一種污水處理用污水處理劑添加混合裝置,包括:箱體,所述箱體的后表面固定安裝有電機,所述電機的輸出端位于箱體的內部并固定連接有第一連桿,所述箱體后壁的內部轉動連接有第一轉軸,所述第一轉軸的一端位于箱體的內部另一端位于箱體的外部,有益效果在于:第二轉軸轉動的時候帶動空心板往復轉動,然后滑塊在空心板內往復滑動帶動豎桿升降,豎桿升降的時候帶動帶動毛刷升降,毛刷上的刷毛與箱體內壁接觸的時候是彎曲的,當毛刷運動到進污口的位置時刷毛與第二篩網接觸,然后此時的刷毛會恢復形變并進入第二篩網的篩孔內,有利于將堵塞第二篩網的雜質從篩孔中頂出。

權利要求書
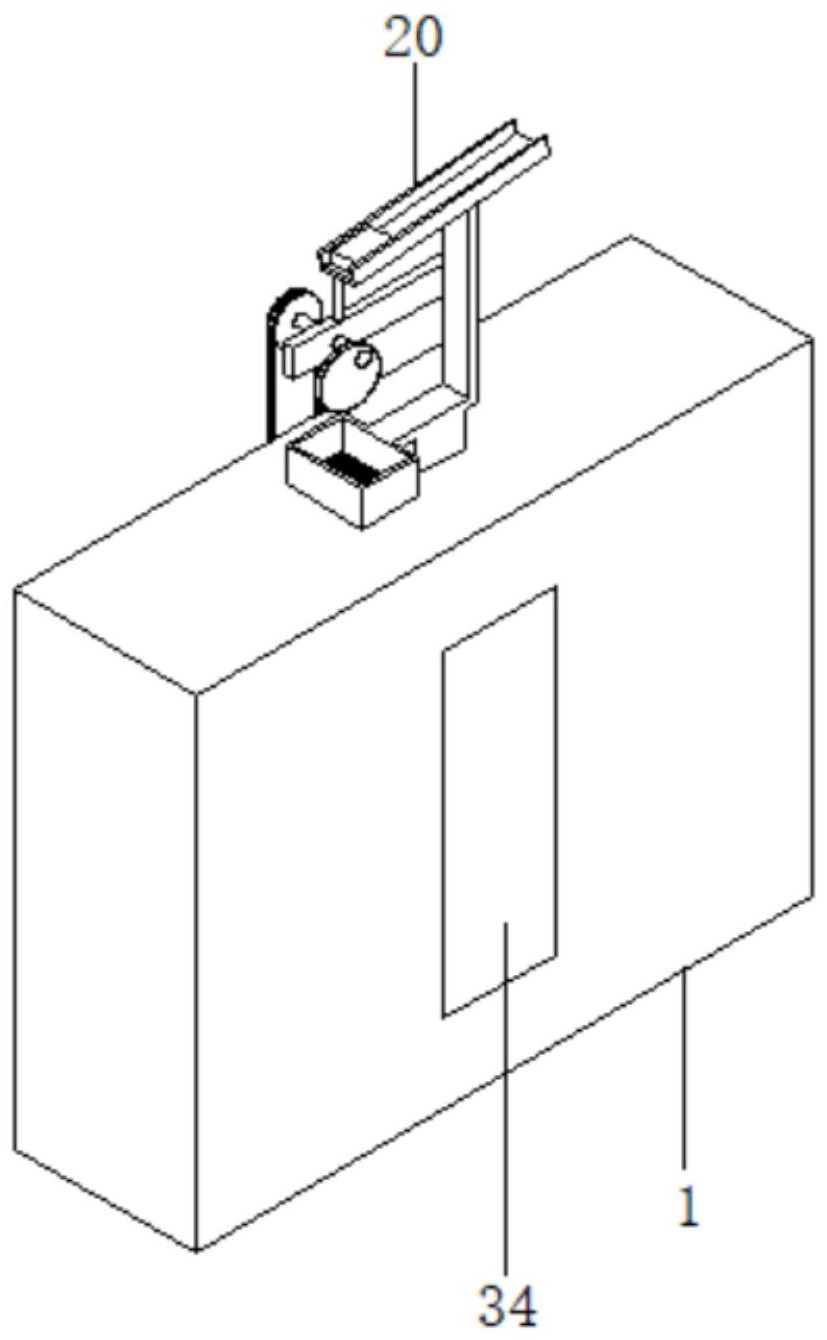
1.一種污水處理用污水處理劑添加混合裝置,包括:箱體(1),其特征在于:所述箱體(1)的后表面固定安裝有電機(2),所述電機(2)的輸出端位于箱體(1)的內部并固定連接有第一連桿(3),所述箱體(1)后壁的內部轉動連接有第一轉軸(4),所述第一轉軸(4)的一端位于箱體(1)的內部另一端位于箱體(1)的外部,所述第一轉軸(4)的兩端固定連接有第一齒輪(5)與第一帶輪(6),所述第一連桿(3)的一側轉動連接有第二連桿(7),所述第二連桿(7)的一側固定連接有第二齒輪(8),所述第二齒輪(8)的外部固定設置有第三連桿(9),所述箱體(1)的內部轉動連接有第二轉軸(10),所述第二轉軸(10)的外部固定設置有第四連桿(11)與空心板(12),所述第三連桿(9)的一側與第四連桿(11)轉動連接,所述空心板(12)的內部滑動連接有滑塊(13),所述箱體(1)的內部固定設置有支撐塊(14),所述支撐塊(14)的內部滑動連接有豎桿(15)并且豎桿(15)與滑塊(13)轉動連接,所述豎桿(15)的頂部固定設置有毛刷(16)且底部固定設置有壓板(17),所述第二齒輪(8)的中心處固定設置有卷線棒(18)。
2.根據權利要求1所述的一種污水處理用污水處理劑添加混合裝置,其特征在于,所述箱體(1)的頂部固定設置有支撐架(19),所述支撐架(19)包括斜槽(20)與矩形框(21),所述支撐架(19)的外側固定設置有支撐板(22),所述支撐板(22)的內部轉動連接有第三轉軸(23),所述第三轉軸(23)的兩端固定設置有第二帶輪(24)與偏心輪(25),所述第一帶輪(6)位于箱體(1)外部的后表面,所述第一帶輪(6)與第二帶輪(24)通過皮帶(26)連接,所述矩形框(21)內腔的底部設置有第一篩網(27),所述斜槽(20)的貫穿設置有圓孔(28)與排料槽(29),所述斜槽(20)的頂部設置有擋塊(30)并且擋塊(30)的底部固定設置有圓桿(31)。
3.根據權利要求1所述的一種污水處理用污水處理劑添加混合裝置,其特征在于,所述毛刷(16)的刷毛為柔性鋼刷毛并且刷毛可以產生形變與恢復原狀,所述箱體(1)的前表面轉動安裝有具有防漏水效果的箱門(34),通過設置的箱門(34)可以對卷線棒(18)清理。
4.根據權利要求1所述的一種污水處理用污水處理劑添加混合裝置,其特征在于,所述箱體(1)后表面的頂部設置有進污口(32),所述進污口(32)的內部設置有第二篩網(33)。
5.根據權利要求1所述的一種污水處理用污水處理劑添加混合裝置,其特征在于,所述箱體(1)的頂部設置有進料口,所述進料口與位于矩形框(21)的底部。
6.根據權利要求2所述的一種污水處理用污水處理劑添加混合裝置,其特征在于,所述圓桿(31)貫穿圓孔(28),所述擋塊(30)位于排料槽(29)的頂部將排料槽(29)覆蓋。
發明內容
本發明的目的是為了解決現有技術中存在的缺點,而提出的一種污水處理用污水處理劑添加混合裝置。
為了實現上述目的,本發明采用了如下技術方案:
一種污水處理用污水處理劑添加混合裝置,包括:箱體,所述箱體的后表面固定安裝有電機,所述電機的輸出端位于箱體的內部并固定連接有第一連桿,所述箱體后壁的內部轉動連接有第一轉軸,所述第一轉軸的一端位于箱體的內部另一端位于箱體的外部,所述第一轉軸的兩端固定連接有第一齒輪與第一帶輪,所述第一連桿的一側轉動連接有第二連桿,所述第二連桿的一側固定連接有第二齒輪,所述第二齒輪的外部固定設置有第三連桿,所述箱體的內部轉動連接有第二轉軸,所述第二轉軸的外部固定設置有第四連桿與空心板,所述第三連桿的一側與第四連桿轉動連接,所述空心板的內部滑動連接有滑塊,所述箱體的內部固定設置有支撐塊,所述支撐塊的內部滑動連接有豎桿并且豎桿與滑塊轉動連接,所述豎桿的頂部固定設置有毛刷且底部固定設置有壓板,所述第二齒輪的中心處固定設置有卷線棒。
優選的,所述箱體的頂部固定設置有支撐架,所述支撐架包括斜槽與矩形框,所述支撐架的外側固定設置有支撐板,所述支撐板的內部轉動連接有第三轉軸,所述第三轉軸的兩端固定設置有第二帶輪與偏心輪,所述第一帶輪位于箱體外部的后表面,所述第一帶輪與第二帶輪通過皮帶連接,所述矩形框內腔的底部設置有第一篩網,所述斜槽的貫穿設置有圓孔與排料槽,所述斜槽的頂部設置有擋塊并且擋塊的底部固定設置有圓桿。
優選的,所述毛刷的刷毛為柔性鋼刷毛并且刷毛可以產生形變與恢復原狀,所述箱體的前表面轉動安裝有具有防漏水效果的箱門,通過設置的箱門可以對卷線棒清理。
優選的,所述箱體后表面的頂部設置有進污口,所述進污口的內部設置有第二篩網。
優選的,所述箱體的頂部設置有進料口,所述進料口與位于矩形框的底部。
優選的,所述圓桿貫穿圓孔,所述擋塊位于排料槽的頂部將排料槽覆蓋。
本發明提出的一種污水處理用污水處理劑添加混合裝置,有益效果在于:將絮凝劑放到斜槽的內部,在工作時將污水管與進污口連接,然后污水從進污口進入箱體的內部,第二篩網可以將污水中的部分較大顆粒雜質分隔防止其進入箱體的內部,啟動電機帶動第一連桿轉動,第一連桿轉動通過第二連桿帶動第二齒輪與卷線棒轉動,通過卷線棒的轉動有利于將污水中的繩線纏繞收集,與此同時第二齒輪轉動可以帶動第三連桿轉動,第三連桿轉動的時候通過第四連桿帶動第二轉軸轉動,第二轉軸轉動的時候帶動空心板往復轉動,然后滑塊在空心板內往復滑動帶動豎桿升降,豎桿升降的時候帶動帶動毛刷升降,毛刷上的刷毛與箱體內壁接觸的時候是彎曲的,當毛刷運動到進污口的位置時刷毛與第二篩網接觸,然后此時的刷毛會恢復形變并進入第二篩網的篩孔內,有利于將堵塞第二篩網的雜質從篩孔中頂出,防止第二篩網發生堵塞,并且通過毛刷的運動也可以完成對第二篩網的清潔增加其使用時長,第二齒輪繞第一齒輪發生公轉,由于第一齒輪與第二齒輪嚙合的,所以第二齒輪在轉動的時候可以帶動第一齒輪轉動,第一齒輪轉動的時候通過第一轉軸帶動第一帶輪轉動,第一帶輪轉動的時候通過皮帶帶動第二帶輪轉動,第二帶輪轉動的時候通過第三轉軸帶動偏心輪轉動,偏心輪轉動后會與圓桿的底部接觸然后將擋塊頂高,斜槽的內部盛放有絮凝劑顆粒,當擋塊被頂高之后部分絮凝劑通過排料槽與箱體頂部的進料口進入箱體的內部,隨著偏心輪的繼續轉動,此刻的偏心輪不會與圓桿接觸,擋塊具有重量,擋塊在重力作用下復位重新將排料槽堵住,有利于使絮凝劑顆粒間隙有序的進入箱體的內部,此舉的目的是為了解決人工放料帶來的麻煩,因為人工放料在分量上存在較大偏差,此方法既可以實現自動放料也可以控制放料的分量,使每次進入箱體內的促凝劑分量相同,豎桿升降帶動壓板升降,通過壓板的升降對箱體內的污水翻動混合使絮凝劑可以更快的溶于水中對水凈化,凈化之后的水從箱體底部的排水口排出。
(發明人:金君芳;嚴晗;王天裕;周國忠;楊志謙)






