公布日:2023.10.27
申請日:2023.06.05
分類號:C02F9/00(2023.01)I;C02F1/463(2023.01)N;C02F1/20(2023.01)N;C02F1/00(2023.01)N;C02F101/14(2006.01)N
摘要
本發明公開了一種電催化氟化污水處理裝置,涉及污水處理技術領域,該處理裝置包括處理箱,處理箱內設置有多個存水桶,相鄰存水桶之間通過導管連接,存水桶上設置有過濾網,過濾網與存水桶滑動連接,每個存水桶內分別設置有旋轉電極板,旋轉電極板與對應的存水桶旋轉連接,每個存水桶內分別設置有刮除槽,刮除槽與旋轉電機板旋轉連接,存水桶內設置有除泡器,除泡器與存水桶旋轉連接,存水桶上設置有除泡電機,除泡器設置在除泡電機輸出端上,存水桶內設置有導流架,導流架與存水桶滑動連接,存水桶內設置有調整氣缸,調整氣缸輸出端與導流架連接,導流架上設置有多個導流板,處理箱上設置有控制柜,本發明具有含氟污水自動凈化的功能。

權利要求書
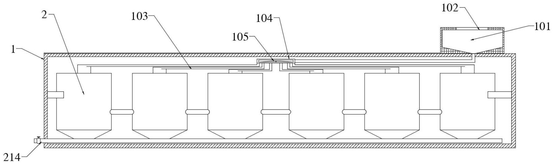
1.一種電催化氟化污水處理裝置,其特征在于:該處理裝置包括處理箱(1),所述處理箱(1)內設置有多個存水桶(2),相鄰所述存水桶(2)之間通過導管連接,所述存水桶(2)上設置有過濾網(3),所述過濾網(3)與存水桶(2)滑動連接,每個所述存水桶(2)內分別設置有旋轉電極板(4),所述旋轉電極板(4)與對應的存水桶(2)旋轉連接,每個所述存水桶(2)內分別設置有刮除槽(6),所述刮除槽(6)與旋轉電機(402)板旋轉連接,所述存水桶(2)內設置有除泡器(7),所述除泡器(7)與存水桶(2)旋轉連接,所述存水桶(2)上設置有除泡電機(8),所述除泡器(7)設置在除泡電機(8)輸出端上,所述存水桶(2)內設置有導流架(9),所述導流架(9)與存水桶(2)滑動連接,所述存水桶(2)內設置有調整氣缸(10),所述調整氣缸(10)輸出端與導流架(9)連接,所述導流架(9)上設置有多個導流板(11),所述處理箱(1)上設置有控制柜(12),所述控制柜(12)通過導線與存水桶(2)連接。
2.根據權利要求1所述的一種電催化氟化污水處理裝置,其特征在于:所述處理箱(1)上設置有進水箱(101),所述進水箱(101)上設置有進水孔(102),進水箱(101)與存水桶(2)通過分配管道(103)連通,所述分配管道(103)內設置有緩和腔(104),所述緩和腔(104)內設置有緩和扇葉(105),所述緩和扇葉(105)與緩和腔(104)旋轉連接,所述分配管道(103)靠近一端設置有增壓扇葉(106),所述增壓扇葉(106)與分配管道(103)旋轉連接,所述增壓扇葉(106)遠離扇葉一端設置有傳遞齒牙,所述分配管道(103)出水口上設置有出水渦輪(107),所述出水渦輪(107)與分配管道(103)旋轉連接,所述出水渦輪(107)外圓上設置有齒牙,所述出水渦輪(107)上的齒牙與增壓扇葉(106)上的傳遞齒牙嚙合。
3.根據權利要求1所述的一種電催化氟化污水處理裝置,其特征在于:所述除泡器(7)包括除泡盤(701),所述除泡盤(701)與除泡電機(8)輸出端固定連接,所述除泡盤(701)上均勻設置有多個除泡嘴(702),每個所述除泡嘴(702)內設置有吸收渦輪(703),所述吸收渦輪(703)與對應的除泡嘴(702)旋轉連接,所述除泡盤(701)上設置有引流管(704),每個所述引流管(704)分別與除泡嘴(702)連通,所述引流管(704)內遠離除泡嘴(702)一端設置有引流槽(705),所述引流槽(705)內設置有聚氣盒(706),所述引流槽(705)與聚氣盒(706)連通。
4.根據權利要求3所述的一種電催化氟化污水處理裝置,其特征在于:所述聚氣盒(706)內設置有聚氣扇葉(707),所述聚氣盒(706)設置在除泡盤(701)上,所述聚氣盒(706)內設置有水汽分離組件(13),所述水汽分離組件(13)包括凝水網(1301),所述除泡盤(701)上設置有存水環(708),所述凝水網(1301)與存水環(708)連接,所述存水環(708)上設置有平流管(1302),所述平流管(1302)內設置有平流滾輪(1303),所述平流滾輪(1303)上設置有扇葉,所述平流滾輪(1303)與平流管(1302)旋轉連接,所述平流管(1302)內設置有平流電機(1304),所述平流電機(1304)與平流管(1302)連接。
5.根據權利要求1所述的一種電催化氟化污水處理裝置,其特征在于:所述旋轉電極板(4)包括通電電板(401)與旋轉電機(402),所述通電電板(401)設置在旋轉電機(402)輸出端上,所述旋轉電機(402)設置在存水桶(2)內,所述通電電板(401)上設置有多個滑動柱(403),所述滑動柱(403)與通電電板(401)滑動連接,所述存水桶(2)內壁上設置有撥動板(404),所述撥動板(404)與滑動柱(403)滑動接觸,所述滑動柱(403)上套有滑動彈簧(405),所述滑動彈簧(405)兩端分別抵住通電電板(401)與滑動柱(403)。
6.根據權利要求5所述的一種電催化氟化污水處理裝置,其特征在于:所述存水桶(2)上設置有刮除架(201),所述刮除架(201)上設置有過水網罩(202),所述過水網罩(202)上設置有刮除夾(203),所述刮除夾(203)上設置有多個滑動橡膠條(204),所述滑動橡膠條(204)與通電電板(401)滑動接觸,所述過水網罩(202)設置有定向槽(205),所述定向槽(205)內設置有多個定向輪(206),每個所述定向輪(206)分別與定向槽(205)旋轉連接,所述定向槽(205)內旋轉連接有定向扇葉(207),相鄰所述定向輪(206)通過皮帶輪連接,所述定向扇葉(207)通過皮帶輪與靠近定向扇葉(207)的定向輪(206)連接。
7.根據權利要求1所述的一種電催化氟化污水處理裝置,其特征在于:所述導流架(9)通過螺栓與導流板(11)固定連接,所述導流架(9)上設置有絕緣座(901),所述絕緣座(901)與調整氣缸(10)輸出端連接,所述導流板(11)上設置有感電組件(14),所述感電組件(14)通過導線與控制柜(12)電性連接,所述導流板(11)上設置有導流槽(1101),所述導流槽(1101)內設置有破除滑塊(1102),所述破除滑塊(1102)與導流槽(1101)滑動連接,所述導流槽(1101)內設置有導流彈簧(1103),所述導流彈簧(1103)兩端分別抵住破除滑塊(1102)與導流槽(1101)。
8.根據權利要求7所述的一種電催化氟化污水處理裝置,其特征在于:所述感電組件(14)包括第一感應電極片(1401)與第二感應電極片(1402),所述第一感應電極片(1401)與導流板(11)貼合,所述第一感應電極片(1401)與第二感應電極片(1402)之間設置有阻隔塊(1403),所述第一感應電極片(1401)、第二感應電極片(1402)通過導線與控制柜(12)電性連接,所述控制柜(12)通過導線與調整氣缸(10)電性連接。
9.根據權利要求6所述的一種電催化氟化污水處理裝置,其特征在于:所述存水桶(2)底端設置有錐形臺(208),所述錐形臺(208)底端設置有除雜槽(209),所述除雜槽(209)內設置除雜塊(210),所述除雜塊(210)與除雜槽(209)滑動連接,所述除雜塊(210)上設置有除雜網罩(211),所述除雜塊(210)內設置有除雜電機(212),所述除雜電機(212)輸出端內設置有除雜齒輪(213),所述除雜槽(209)內設置有齒牙,所述除雜齒輪(213)與除雜槽(209)內的齒牙嚙合,所述錐形臺(208)上設置有排雜口,所述排雜口上設置有排雜閥(214)。
發明內容
本發明的目的在于提供一種電催化氟化污水處理裝置,以解決上述背景技術中提出的問題。
為了解決上述技術問題,本發明提供如下技術方案:一種電催化氟化污水處理裝置。
該處理裝置包括處理箱,處理箱內設置有多個存水桶,相鄰存水桶之間通過導管連接,存水桶上設置有過濾網,過濾網與存水桶滑動連接,每個存水桶內分別設置有旋轉電極板,旋轉電極板與對應的存水桶旋轉連接,每個存水桶內分別設置有刮除槽,刮除槽與旋轉電機板旋轉連接,存水桶內設置有除泡器,除泡器與存水桶旋轉連接,存水桶上設置有除泡電機,除泡器設置在除泡電機輸出端上,存水桶內設置有導流架,導流架與存水桶滑動連接,存水桶內設置有調整氣缸,調整氣缸輸出端與導流架連接,導流架上設置有多個導流板,處理箱上設置有控制柜,控制柜通過導線與存水桶連接,首先將待處理的污水送進處理箱內,隨之分配到各個存水桶內,進入到存水桶后,將會經過過濾網進入到存水桶內,隨后啟動旋轉電極板,旋轉電極板將會進行供電,同時也向存水桶投入相關的凝結藥劑,在進行催化凝結的過程中,除泡電機將會帶動除泡器進行旋轉,除泡器將會對污水上漂浮的泡沫進行吸除,并將泡沫中的電離出來的廢氣進行排除,在進行催化的過程中,升降氣缸也將會帶動導流架進行移動,導流架上的導流板不僅僅增加了污水中的導電性,同時也可以對污水進行通電性能檢測,通過檢測出來的電流調控旋轉電極板的通電量同時也調控導流板的位置,從而增加不同區域污水的導電性,而控制柜內裝載有相應的控制程序,從而進行電流分析調控。
處理箱上設置有進水箱,進水箱上設置有進水孔,進水箱與存水桶通過分配管道連通,分配管道內設置有緩和腔,緩和腔內設置有緩和扇葉,緩和扇葉與緩和腔旋轉連接,分配管道靠近一端設置有增壓扇葉,增壓扇葉與分配管道旋轉連接,增壓扇葉遠離扇葉一端設置有傳遞齒牙,分配管道出水口上設置有出水渦輪,出水渦輪與分配管道旋轉連接,出水渦輪外圓上設置有齒牙,出水渦輪上的齒牙與增壓扇葉上的傳遞齒牙嚙合,在進行污水投放時,首先將污水從進水孔送入進水箱內,分配管道將會把污水分別送進每個存水桶內,在投放的過程中,污水將會帶動緩和腔內的緩和扇葉進行旋轉,緩和扇葉將會把污水分散開來送進分配管道內,隨后經過出水渦輪,出水渦輪旋轉,通過齒牙嚙合,帶動增壓扇葉進行旋轉,增壓扇葉將會對流經分配管道內的水進行加速,這樣的進水方式可以充分使得污水充分混合,同時也減少了污水內一些雜質的堆積。
除泡器包括除泡盤,除泡盤與除泡電機輸出端固定連接,除泡盤上均勻設置有多個除泡嘴,每個除泡嘴內設置有吸收渦輪,吸收渦輪與對應的除泡嘴旋轉連接,除泡盤上設置有引流管,每個引流管分別與除泡嘴連通,引流管內遠離除泡嘴一端設置有引流槽,引流槽內設置有聚氣盒,引流槽與聚氣盒連通,除泡盤在除泡電機的帶動下進行旋轉,而此時在電催化的作用下,污水將會產生氣泡,除泡嘴內的吸收渦輪將會進行旋轉,每個除泡嘴內分別設置有電機,帶動吸收渦輪進行旋轉,從而使得污水上的氣泡進行進行吸除,進入到除泡嘴的氣泡將會破碎,廢氣將會進入到引流管內,而破碎產生的污水進入到引流槽內,隨后進入到聚氣盒內,聚氣盒將會把廢水收集并送入到存水桶內。
聚氣盒內設置有聚氣扇葉,聚氣盒設置在除泡盤上,聚氣盒內設置有水汽分離組件,水汽分離組件包括凝水網,除泡盤上設置有存水環,凝水網與存水環連接,存水環上設置有平流管,平流管內設置有平流滾輪,平流滾輪上設置有扇葉,平流滾輪與平流管旋轉連接,平流管內設置有平流電機,平流電機與平流管連接,聚氣盒隨著除泡盤的旋轉進行旋轉,聚氣盒內的扇葉也會隨之進行旋轉,從而使得聚氣盒內產生負壓,產生負壓的聚氣盒將會把廢水以及廢氣抽進聚氣盒內,而凝水網將會把廢氣進行冷卻從而使得其中的水汽進行冷凝,并落入到存水環內,同時平流電機帶動平流滾輪進行旋轉,平流滾輪將會帶動氣體流動,從而使得冷凝過的廢氣排出處理箱。
旋轉電極板包括通電電板與旋轉電機,通電電板設置在旋轉電機輸出端上,旋轉電機設置在存水桶內,通電電板上設置有多個滑動柱,滑動柱與通電電板滑動連接,存水桶內壁上設置有撥動板,撥動板與滑動柱滑動接觸,滑動柱上套有滑動彈簧,滑動彈簧兩端分別抵住通電電板與滑動柱,在污水進入到存水桶內后,旋轉電機帶動通電電板進行旋轉,旋轉的同時也為通電電板進行通電,從而對存水桶內的污水進行電催化,而在通電電板進行旋轉的過程中,滑動柱將會不停的與撥動板進行接觸,從而在通電電板上進行滑動,從而使得粘連在通電電板上的氟化雜質及時的脫落下去,避免長時間的粘連影響放電效果,也減少腐蝕的問題發生。
存水桶上設置有刮除架,刮除架上設置有過水網罩,過水網罩上設置有刮除夾,刮除夾上設置有多個滑動橡膠條,滑動橡膠條與通電電板滑動接觸,過水網罩設置有定向槽,定向槽內設置有多個定向輪,每個定向輪分別與定向槽旋轉連接,定向槽內旋轉連接有定向扇葉,相鄰定向輪通過皮帶輪連接,定向扇葉通過皮帶輪與靠近定向扇葉的定向輪連接,在通電電板旋轉的過程中,通電電板將會與刮除架進行接觸,刮除夾上的滑動橡膠條將會與通電電板接觸,從而掛落掉通電電板上粘連的氟化雜質,同時在刮除的過程中,過水網罩將會攪動污水,使得污水進行流動,從而帶動定向扇葉進行旋轉,定向扇葉帶動定向輪進行旋轉,多個定向輪將會傳遞雜質,將雜質送到存水桶底端,等待排出。
導流架通過螺栓與導流板固定連接,導流架上設置有絕緣座,絕緣座與調整氣缸輸出端連接,導流板上設置有感電組件,感電組件通過導線與控制柜電性連接,導流板上設置有導流槽,導流槽內設置有破除滑塊,破除滑塊與導流槽滑動連接,導流槽內設置有導流彈簧,導流彈簧兩端分別抵住破除滑塊與導流槽,在進行電催化的過程中,感電組件將會感受到污水內的電流變化,從而控制調整氣缸,使得調整氣缸的位置發生改變,從而改變污水的通電狀態,而污水在定向輪的作用下向下沖擊,從而使得水流翻涌起來,帶動污水,使得破除滑塊在導流槽上進行滑動,從而使得粘連在導流板上的氟化雜質脫落,保證導流板的最佳到點效果,也避免了導流板出現腐蝕的問題。
感電組件包括第一感應電極片與第二感應電極片,第一感應電極片與導流板貼合,第一感應電極片與第二感應電極片之間設置有阻隔塊,第一感應電極片、第二感應電極片通過導線與控制柜電性連接,控制柜通過導線與調整氣缸電性連接,在進行檢測的過程中,第一感應電極片將會感受到導流板上傳遞的電流,而第二感應電極片則會感應到污水中的電流,通過第一感應電極片、第二感應電極片的電流變化,控制調整氣缸的伸長長度,當第一感應電極片、第二感應電極片不再產生電流變化時,調整氣缸將停止工作,同時第一感應電極片、第二感應電極片上的電流差可作為通電電板的電流變化依據,當電流差距過大時,增加通電電板的電流,當電流差距縮小時,減小通電電板的電流,從而適應多種情況的污水,減少能量損耗的同時,也減少了對水的損耗。
存水桶底端設置有錐形臺,錐形臺底端設置有除雜槽,除雜槽內設置除雜塊,除雜塊與除雜槽滑動連接,除雜塊上設置有除雜網罩,除雜塊內設置有除雜電機,除雜電機輸出端內設置有除雜齒輪,除雜槽內設置有齒牙,除雜齒輪與除雜槽內的齒牙嚙合,錐形臺上設置有排雜口,排雜口上設置有排雜閥,污水中的氟化物在凝結完成后將會沉降在除雜槽內,同時除雜電機進行運轉,帶動除雜齒輪進行旋轉,除雜齒輪將會帶動除雜塊在除雜槽內進行移動,而除雜網罩將會帶動除雜槽內的凝結物進入到排雜口內,等待排水完成后,打開排水閥,將凝結物排出,同時除雜塊與除雜網罩配合,使得污水流動起來,從而增強催化效率。
與現有技術相比,本發明所達到的有益效果是:1.本發明采用了自動去除氟化氣泡的組件,可以針對污水中的氟化物進行去除,采用了除泡盤與具有吸力功能的除泡嘴,可以對污水中的氟化氣泡進行去除,防止這些氣泡粉碎干涸,會對裝置造成不可逆轉的腐蝕,也減少了電離出的氟化氣體直接被投放到大氣環境中。
2.本發明采用了具有導流結構的電催化組件,對污水進行電催化導流,可以充分增加污水中的導電效果,增強電催化的能力,同時導流板的位置也可以進行變換,該變換的基礎為感電組件對多處污水的導電能力檢測,從而充分增加污水的電離效果,也避免了水在過度電離所產生的蒸發浪費。
3.本發明采用了自清理的消除組件,可以針對電催化組件進行氟化物自動去除,充分增加電催化效果,減少電催化組件由于氟化物吸除的問題粘連在電催化組件上,延長設備的使用壽命。
(發明人:慶巴圖;湯春娜)






