公布日:2023.01.13
申請日:2022.09.06
分類號:F26B15/18(2006.01)I;F26B21/00(2006.01)I;F26B21/04(2006.01)I;F26B21/08(2006.01)I;F26B25/00(2006.01)I;C02F11/13(2019.01)I;B01D46/12(2022.01)I;B01D53
/26(2006.01)I;B01D46/88(2022.01)I;B26D1/08(2006.01)I;B26D5/08(2006.01)I;B26D7/10(2006.01)I;B26D7/06(2006.01)I
摘要
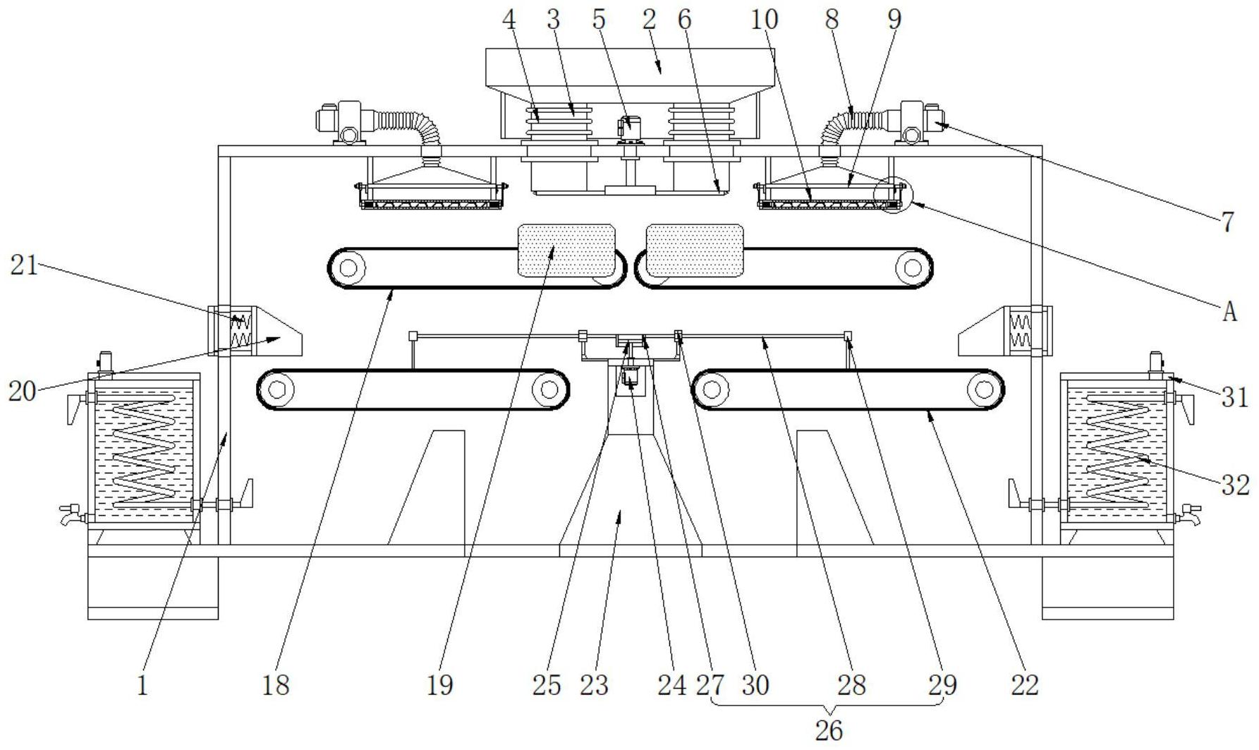
本發明公開了一種可對余熱循環利用的污泥熱泵干化裝置,包括干化箱體、熱泵本體、防塵過濾網、限位機構、第一傳送帶和連接機構,所述干化箱體上端的中部設置有上料盒,所述熱泵本體對稱設置在干化箱體上端的左右兩側,所述防塵過濾網貼合設置在熱泵罩的下表面,所述限位機構用于對固定架與熱泵罩之間進行限位,所述第一傳送帶設置在防塵過濾網的下方,所述連接機構設置在第二傳送帶與第二傳送帶之間。該可對余熱循環利用的污泥熱泵干化裝置,便于對吹進干化箱體內部的熱風進行干燥,還能夠防止污泥粘附在第二傳送帶的上端,便于對污泥進行下料,而且便于對干化過程中氣體的余熱進行回收利用。

權利要求書
1.一種可對余熱循環利用的污泥熱泵干化裝置,包括干化箱體(1),所述干化箱體(1)上端的中部設置有上料盒(2),且上料盒(2)下端的左右兩側均固定連接有上料筒(3),并且上料筒(3)的外表面纏繞有加熱絲(4);熱泵本體(7),所述熱泵本體(7)對稱設置在干化箱體(1)上端的左右兩側,且熱泵本體(7)的出風端設置有波紋管(8),并且熱泵本體(7)通過波紋管(8)與熱泵罩(9)相連接;其特征在于,還包括:防塵過濾網(10),所述防塵過濾網(10)貼合設置在熱泵罩(9)的下表面,且防塵過濾網(10)固定連接在固定架(11)的中部,并且防塵過濾網(10)設置在有上下兩層,而且防塵過濾網(10)與防塵過濾網(10)之間設置有干燥劑;其中,所述防塵過濾網(10)結合干燥劑用于對吹進干化箱體(1)內部的熱風進行干燥;限位機構(12),所述限位機構(12)用于對固定架(11)與熱泵罩(9)之間進行限位,且限位機構(12)對稱設置在固定架(11)的左右兩端,并且限位機構(12)通過固定架(11)帶動防塵過濾網(10)在熱泵罩(9)的下端構成拆卸結構;第一傳送帶(18),所述第一傳送帶(18)設置在防塵過濾網(10)的下方,且防塵過濾網(10)的下方設置有第二傳送帶(22),并且第一傳送帶(18)與第二傳送帶(22)均用于對污泥進行輸送,而且第一傳送帶(18)與第二傳送帶(22)的傳送方向相反;連接機構(26),所述連接機構(26)設置在第二傳送帶(22)與第二傳送帶(22)之間;其中,所述連接機構(26)包括套設在偏心輪(25)外側的連接框(27)、呈水平狀態的安裝桿(28)、呈鋸齒狀結構的固定桿(29)和固定連接在支撐架(23)上端左右兩側的輔助塊(30)。
2.根據權利要求1所述的一種可對余熱循環利用的污泥熱泵干化裝置,其特征在于:所述干化箱體(1)上端的中部安裝有用于驅動的第一電機(5),且第一電機(5)的輸出端固定連接有切斷刀(6),并且切斷刀(6)的上表面貼合設置在上料筒(3)的下側。
3.根據權利要求1所述的一種可對余熱循環利用的污泥熱泵干化裝置,其特征在于:所述限位機構(12)包括呈“T”字形結構的固定柱(13)、套設在所述固定柱(13)外表面的第一彈簧(14)、呈豎直狀態的連接桿(15)、外表面設置有螺紋的連接柱(16)和用于鎖緊限位的連接帽(17)。
4.根據權利要求3所述的一種可對余熱循環利用的污泥熱泵干化裝置,其特征在于:所述固定柱(13)分別滑動連接在固定架(11)的左右兩端,且固定柱(13)固定連接在連接桿(15)的下端,并且固定柱(13)帶動連接桿(15)套設在連接柱(16)的外表面。
5.根據權利要求4所述的一種可對余熱循環利用的污泥熱泵干化裝置,其特征在于:所述連接柱(16)固定連接在熱泵罩(9)下端的左右兩側,且連接柱(16)與連接帽(17)之間通過螺紋的方式相連接,并且連接帽(17)貼合設置在連接桿(15)上端的外側面。
6.根據權利要求1所述的一種可對余熱循環利用的污泥熱泵干化裝置,其特征在于:所述第一傳送帶(18)靠近干化箱體(1)垂直中軸線一側的前后兩端均設置有具有防護作用的防護板(19),且第一傳送帶(18)遠離干化箱體(1)垂直中軸線的一側設置有緩沖塊(20),并且緩沖塊(20)滑動連接在干化箱體(1)的左右兩端。
7.根據權利要求6所述的一種可對余熱循環利用的污泥熱泵干化裝置,其特征在于:所述緩沖塊(20)與干化箱體(1)之間設置有具有復位作用的緩沖彈簧(21),緩沖塊(20)與干化箱體(1)之間構成彈性結構,并且緩沖塊(20)用于對被輸送的污泥進行緩沖。
8.根據權利要求1所述的一種可對余熱循環利用的污泥熱泵干化裝置,其特征在于:所述支撐架(23)的上端安裝有用于驅動的第二電機(24),且第二電機(24)的輸出端固定連接有偏心輪(25),并且偏心輪(25)貼合設置在連接框(27)的內側壁;其中,所述支撐架(23)固定連接在干化箱體(1)下端的內側壁。
9.根據權利要求8所述的一種可對余熱循環利用的污泥熱泵干化裝置,其特征在于:所述連接框(27)的左右兩端均固定連接有第一傳送帶(18),且安裝桿(28)帶動固定桿(29)對第二傳送帶(22)上端的污泥進行攤平,并且固定桿(29)貼合設置在第二傳送帶(22)的上表面。
10.根據權利要求1所述的一種可對余熱循環利用的污泥熱泵干化裝置,其特征在于:所述干化箱體(1)下端的左右兩側均安裝有熱量回收箱體(31),且熱量回收箱體(31)的內部設置有呈螺旋狀結構的熱量回收管(32),并且熱量回收管(32)與干化箱體(1)的內部相連通。
發明內容
本發明的目的在于提供一種可對余熱循環利用的污泥熱泵干化裝置,以解決上述背景技術提出的在實際使用過程中,對污泥干化過程中使用,熱風吹出的熱量,在對污泥干化之后其中剩余部分余熱直接散失,造成能量的流失,不方便對余熱進行回收利用,污泥在傳送帶上進行輸送時,容易粘接在傳送帶上,不方便對干化處理的后的污泥進行下料,并且污泥在干化時在傳送帶上容易發生堆積,薄厚不一,影響污泥的干化效率,在熱泵將空氣吸入設備中,并將熱風吹進處理箱體內對污泥進行干化時,不方便對空氣進行干燥,容易將空氣中的水分帶入污泥上,影響實際干化效果的問題。
為實現上述目的,本發明提供如下技術方案:一種可對余熱循環利用的污泥熱泵干化裝置,包括干化箱體,所述干化箱體上端的中部設置有上料盒,且上料盒下端的左右兩側均固定連接有上料筒,并且上料筒的外表面纏繞有加熱絲;
熱泵本體,所述熱泵本體對稱設置在干化箱體上端的左右兩側,且熱泵本體的出風端設置有波紋管,并且熱泵本體通過波紋管與熱泵罩相連接;
還包括:
防塵過濾網,所述防塵過濾網貼合設置在熱泵罩的下表面,且防塵過濾網固定連接在固定架的中部,并且防塵過濾網設置在有上下兩層,而且防塵過濾網與防塵過濾網之間設置有干燥劑;
其中,所述防塵過濾網結合干燥劑用于對吹進干化箱體內部的熱風進行干燥;
限位機構,所述限位機構用于對固定架與熱泵罩之間進行限位,且限位機構對稱設置在固定架的左右兩端,并且限位機構通過固定架帶動防塵過濾網在熱泵罩的下端構成拆卸結構;
第一傳送帶,所述第一傳送帶設置在防塵過濾網的下方,且防塵過濾網的下方設置有第二傳送帶,并且第一傳送帶與第二傳送帶均用于對污泥進行輸送,而且第一傳送帶與第二傳送帶的傳送方向相反;
連接機構,所述連接機構設置在第二傳送帶與第二傳送帶之間;
其中,所述連接機構包括套設在偏心輪外側的連接框、呈水平狀態的安裝桿、呈鋸齒狀結構的固定桿和固定連接在支撐架上端左右兩側的輔助塊。
優選的,所述干化箱體上端的中部安裝有用于驅動的第一電機,且第一電機的輸出端固定連接有切斷刀,并且切斷刀的上表面貼合設置在上料筒的下側。
優選的,所述限位機構包括呈“T”字形結構的固定柱、套設在所述固定柱外表面的第一彈簧、呈豎直狀態的連接桿、外表面設置有螺紋的連接柱和用于鎖緊限位的連接帽。
優選的,所述固定柱分別滑動連接在固定架的左右兩端,且固定柱固定連接在連接桿的下端,并且固定柱帶動連接桿套設在連接柱的外表面。
優選的,所述連接柱固定連接在熱泵罩下端的左右兩側,且連接柱與連接帽之間通過螺紋的方式相連接,并且連接帽貼合設置在連接桿上端的外側面。
優選的,:所述第一傳送帶靠近干化箱體垂直中軸線一側的前后兩端均設置有具有防護作用的防護板,且第一傳送帶遠離干化箱體垂直中軸線的一側設置有緩沖塊,并且緩沖塊滑動連接在干化箱體的左右兩端。
優選的,所述緩沖塊與干化箱體之間設置有具有復位作用的緩沖彈簧,緩沖塊與干化箱體之間構成彈性結構,并且緩沖塊用于對被輸送的污泥進行緩沖。
優選的,所述支撐架的上端安裝有用于驅動的第二電機,且第二電機的輸出端固定連接有偏心輪,并且偏心輪貼合設置在連接框的內側壁;
其中,所述支撐架固定連接在干化箱體下端的內側壁。
優選的,所述連接框的左右兩端均固定連接有第一傳送帶,且安裝桿帶動固定桿對第二傳送帶上端的污泥進行攤平,并且固定桿貼合設置在第二傳送帶的上表面。
優選的,所述干化箱體下端的左右兩側均安裝有熱量回收箱體,且熱量回收箱體的內部設置有呈螺旋狀結構的熱量回收管,并且熱量回收管與干化箱體的內部相連通。
與現有技術相比,本發明的有益效果是:該可對余熱循環利用的污泥熱泵干化裝置,在實際使用過程中,通過防塵過濾網的設置,并且防塵過濾網設置有為雙層,同時防塵過濾網與防塵過濾網之間設置有干燥劑,可對吹進干化箱體內部的熱風進行干燥,結合限位機構的設置,便于對防塵過濾網進行拆卸清理以及對干燥劑進行更換,結合第一傳送帶和第二傳送帶對污泥進行自動輸送,通過連接機構的設置,能夠將污泥攤平,并且防止污泥粘附在第二傳送帶的上端,便于對污泥進行下料,而且結合熱量回收箱體和熱量回收管的設置,便于對干化過程中氣體的余熱進行回收利用,防止能量流失;
1.設有防塵過濾網、固定架和限位機構,通過防塵過濾網的設置,并且防塵過濾網設置有雙層,防塵過濾網與防塵過濾網之間設置有干燥劑,從而便于對吹進干化箱體內部的熱風進行干燥,而且結合限位機構的設置,便于對防塵過濾網進行拆卸清理以及對防塵過濾網與防塵過濾網之間的干燥劑進行更換;
2.設有緩沖塊、熱量回收箱體和熱量回收管,通過緩沖塊的設置,能夠在污泥由第一傳送帶至第二傳送帶上,對污泥進行緩沖,結合熱量回收箱體和熱量回收管的設置,便于對干化過程中氣體中的余熱進行回收利用,防止能量損失和浪費;
3.設有連接機構和切斷刀,通過切斷刀的設置,能夠對預加熱后的污泥進行分切,并且結合連接機構的設置,連接機構包括連接框、安裝桿、固定桿和輔助塊,能夠防止污泥粘附在第二傳送帶上,將污泥攤平,便于對污泥進行下料。
(發明人:黃志洋;李紅軍;王婷)






