公布日:2023.12.15
申請日:2023.08.11
分類號:C02F9/00(2023.01)I;C02F1/461(2023.01)I;C02F1/00(2023.01)N;C02F1/52(2023.01)N;C02F1/28(2023.01)N;C02F101/20(2006.01)N;C02F101/30(2006.01)N
摘要
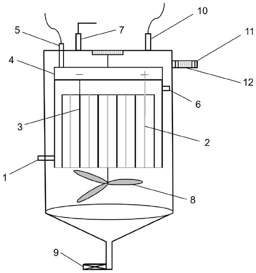
本發明提供一種無損檢測膠片洗脫廢水的集成式處理裝置,包括:外殼體;電化學反應系統;所述電化學反應系統包括設于所述外殼體內部的內殼體,所述內殼體的內部設有電極板和直流電源,所述電極板包括若干陽極電極板和若干陰極電極板;混凝沉淀系統;所述混凝沉淀系統包括設于所述外殼體頂部的加藥口和第二排氣孔,以及設于所述內殼體底部的攪拌器,以及設于外殼體底部的沉淀出口;過濾系統;所述過濾系統包括設于所述外殼體的一側上部的出水口。本發明將電化學,混凝沉淀和過濾三個過程整合成一體化裝置,大大節省了空間,并降低了裝置成本。

權利要求書
1.一種無損檢測膠片洗脫廢水的集成式處理裝置,其特征在于,包括:外殼體;電化學反應系統;所述電化學反應系統包括設于所述外殼體內部的內殼體,所述內殼體的內部設有電極板和直流電源,所述電極板包括若干陽極電極板和若干陰極電極板,所述內殼體的頂部設有第一排氣孔,所述內殼體的一側下部設有進水口,所述內殼體的另一側上部設有溢流口;混凝沉淀系統;所述混凝沉淀系統包括設于所述外殼體頂部的加藥口和第二排氣孔,以及設于所述內殼體底部的攪拌器,以及設于外殼體底部的沉淀出口;過濾系統;所述過濾系統包括設于所述外殼體的一側上部的出水口,所述出水口中設有過濾材料。
2.如權利要求1所述的無損檢測膠片洗脫廢水的集成式處理裝置,其特征在于,所述攪拌器為槳式攪拌器。
3.如權利要求1或2所述的無損檢測膠片洗脫廢水的集成式處理裝置,其特征在于,所述過濾材料為活性炭。
4.如權利要求1或2所述的無損檢測膠片洗脫廢水的集成式處理裝置,其特征在于,所述若干陽極電極板和若干陰極電極板間隔穿插且等間距平行設置,且無相互接觸,間距為電極板高度的1/3~2/3,并分別與所述直流電源的正極和負極相連,通電電壓為20~80V。
5.如權利要求1或2所述的無損檢測膠片洗脫廢水的集成式處理裝置,其特征在于,所述陰極電極板為Ti電極板,所述陽極電極板為Ti/RuO2-IrO2電極板。
6.如權利要求5所述的無損檢測膠片洗脫廢水的集成式處理裝置,其特征在于,所述Ti/RuO2-IrO2電極板的制備方法包括下述步驟:S1、Ti基底預處理:對鈦板進行打磨拋光,去除鈦板表面的氧化物;沖洗后,浸入堿性溶液進行堿洗,去除鈦板表面油污;沖洗后,浸入酸性溶液進行刻蝕處理,徹底除去鈦板表面的氧化層,使鈦板出現均勻的粗糙表面;最終將鈦板清洗后保存備用;S2、熱分解法進行陽極RuO2-IrO2涂層的制備:將一定量的三氯化釕和氯銥酸溶于正丁醇中,配制成涂覆液;將S1中經預處理后的鈦板清洗晾干后,將配好的涂覆液均勻涂刷在鈦板上,并迅速將其進行干燥,隨后焙燒若干次,焙燒結束冷卻至室溫后,即制得Ti/RuO2-IrO2電極板。
7.如權利要求6所述的無損檢測膠片洗脫廢水的集成式處理裝置,其特征在于,S1中,使用砂紙對鈦板進行打磨拋光,所述砂紙為150、280、500、800目由粗到細的打磨砂紙;所述鈦板為50mm*l00mm*lmm或50mm*l00mm*2mm的鈦板。
8.如權利要求6所述的無損檢測膠片洗脫廢水的集成式處理裝置,其特征在于,S1中,所述沖洗均選用去離子水;所述堿性溶液選用NaOH溶液或KOH溶液,質量分數為5%~10%;所述堿洗的時間為1~3h,溫度為60~90℃;所述酸性溶液選用質量分數為5%~10%的H2C204溶液;所述刻蝕處理的時間為1~3h,溫度為60~90℃;清洗后的鈦板最終保存在質量分數為1%~3%的H2C204溶液中備用。
9.如權利要求6所述的無損檢測膠片洗脫廢水的集成式處理裝置,其特征在于,S2中,所述三氯化釕和氯銥酸的總質量(g)與正丁醇的體積(L)的比值為1:100~1:25;所述三氯化釕和氯銥酸溶于正丁醇中時,超聲震蕩10~30min,均勻攪拌30~60min;涂覆后鈦板的干燥溫度為80~110℃,干燥時間為5~25min;所述焙燒溫度為300~650℃,焙燒時間為20~60min;所述焙燒操作重復10至20次。
10.如權利要求1或2所述的無損檢測膠片洗脫廢水的集成式處理裝置,其特征在于,所述加藥口中加入的是聚合氯化鋁和聚丙烯酰胺。
發明內容
針對上述現有技術,本發明提出一種無損檢測膠片洗脫廢水的集成式處理裝置。
本發明提供的一種無損檢測膠片洗脫廢水的集成式處理裝置,包括:外殼體;電化學反應系統;所述電化學反應系統包括設于所述外殼體內部的內殼體,所述內殼體的內部設有電極板和直流電源,所述電極板包括若干陽極電極板和若干陰極電極板,所述內殼體的頂部設有第一排氣孔,所述內殼體的一側下部設有進水口,所述內殼體的另一側上部設有溢流口;混凝沉淀系統;所述混凝沉淀系統包括設于所述外殼體頂部的加藥口和第二排氣孔,以及設于所述內殼體底部的攪拌器,以及設于外殼體底部的沉淀出口;過濾系統;所述過濾系統包括設于所述外殼體的一側上部的出水口,所述出水口中設有過濾材料。
優選的,所述攪拌器為槳式攪拌器。
優選的,所述過濾材料為活性炭。
優選的,所述若干陽極電極板和若干陰極電極板間隔穿插且等間距平行設置,且無相互接觸,間距為電極板高度的1/3~2/3,并分別與所述直流電源的正極和負極相連,通電電壓為20~80V。
優選的,所述陰極電極板為Ti電極板,所述陽極電極板為Ti/RuO2-IrO2電極板。
優選的,所述Ti/RuO2-IrO2電極板的制備方法包括下述步驟:S1、Ti基底預處理:對鈦板進行打磨拋光,去除鈦板表面的氧化物;沖洗后,浸入堿性溶液進行堿洗,去除鈦板表面油污;沖洗后,浸入酸性溶液進行刻蝕處理,徹底除去鈦板表面的氧化層,使鈦板出現均勻的粗糙表面;最終將鈦板清洗后保存備用;S2、熱分解法進行陽極RuO2-IrO2涂層的制備:將一定量的三氯化釕和氯銥酸溶于正丁醇中,配制成涂覆液;將S1中經預處理后的鈦板清洗晾干后,用毛刷將配好的涂覆液均勻涂刷在鈦板上,并迅速將其轉入干燥箱進行干燥,隨后移入馬弗爐中焙燒若干次,焙燒結束隨爐冷卻至室溫后,即制得Ti/RuO2-IrO2電極板。
優選的,S1中,使用砂紙對鈦板進行打磨拋光,所述砂紙為150、280、500、800目由粗到細的打磨砂紙;所述鈦板為50mm*l00mm*lmm或50mm*l00mm*2mm的鈦板。
優選的,S1中,所述沖洗均選用去離子水;所述堿性溶液選用NaOH溶液或KOH溶液,質量分數為5%~10%;所述堿洗的時間為1~3h,溫度為60~90℃;所述酸性溶液選用質量分數為5%~10%的H2C204溶液;所述刻蝕處理的時間為1~3h,溫度為60~90℃;清洗后的鈦板最終保存在質量分數為1%~3%的H2C204溶液中備用。
優選的,S2中,所述三氯化釕和氯銥酸的總質量(g)與正丁醇的體積(L)的比值為1:100~1:25;所述三氯化釕和氯銥酸溶于正丁醇中時,超聲震蕩10~30min,均勻攪拌30~60min;涂覆后鈦板的干燥溫度為80~110℃,干燥時間為5~25min;所述焙燒溫度為300~650℃,焙燒時間為20~60min;所述焙燒操作重復10至20次,至涂覆液用盡。
優選的,所述加藥口中加入的是聚合氯化鋁和聚丙烯酰胺。
相對于現有技術,本發明的有益效果為:1、本發明提供的一種無損檢測膠片洗脫廢水的集成式處理裝置,將電化學,混凝沉淀和過濾(優選活性炭吸附)三個過程整合成一體化裝置,大大節省了空間,并降低了裝置成本。
2、本發明將無損檢測膠片洗脫廢水經電化學反應部分、混凝沉淀部分和過濾部分集成,協同去除無損檢測膠片洗脫廢水中的有機物及金屬離子,大幅降低廢水中的COD和Ag+濃度,處理后的廢水可滿足《污水排入城鎮下水道水質標準》(GB/T31962-2015),整個過程中無其他污染物產生,可在一定程度上解決無損檢測膠片洗脫廢水的處置難的問題,實現無損檢測膠片洗脫廢水的無害化、減量化、穩定化處理,具有低成本、低能耗、高效、靈活等顯著特點。
(發明人:高源;黃益平;劉漢飛;朱昊;倪嵩波;丁銳;黃德海)






