公布日:2023.01.10
申請日:2021.07.05
分類號:C22B7/00(2006.01)I
摘要
本發明公開一種電鍍污泥中有價金屬回收裝置及方法,包括圓盤管和脫水盤,脫水盤安裝于圓盤管的內部,脫水盤的上側開設有扇形槽,脫水盤的扇形槽壁兩側安裝有過濾板,過濾板上開設有若干個過濾孔,脫水盤的底端開設有底孔,圓盤管的一側外壁中部通過固定座固定連接有第一電機,本發明的有益效果包括:通過設置壓實機構,通過壓實機構的擠壓板反復轉動擠壓金屬沉淀物,可使得金屬沉淀物中的水分被擠出,通過設置推出機構,通過推出機構的移動板向著回收管的外部移動,可方便將金屬固態沉淀物帶出回收管,通過設置齒輪與L型桿,通過齒輪往復小角度轉動,使得L型桿帶動移動板往復短距離移動,會產生震動帶動金屬固態沉淀物下落進行回收。

權利要求書
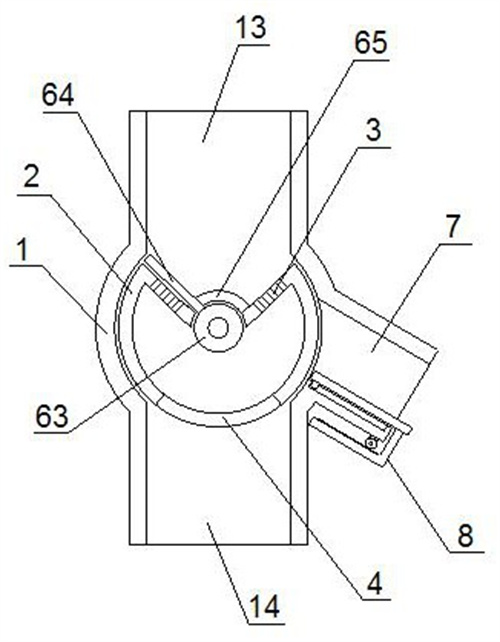
1.一種電鍍污泥中有價金屬回收裝置,包括圓盤管(1)和脫水盤(2),其特征在于,所述脫水盤(2)安裝于圓盤管(1)的內部,所述脫水盤(2)的上側開設有扇形槽,所述脫水盤(2)的扇形槽壁兩側安裝有過濾板(3),所述過濾板(3)上開設有若干個過濾孔,所述脫水盤(2)的底端開設有底孔(4),所述圓盤管(1)的一側外壁中部通過固定座固定連接有第一電機(5),所述第一電機(5)的輸出端貫穿圓盤管(1)且固定連接于脫水盤(2)的外壁中部,所述脫水盤(2)的扇形槽內設置有壓實機構(6),所述圓盤管(1)的一側中部固定連接有回收管(7),所述回收管(7)與圓盤管(1)的內部連通,所述回收管(7)的下側設置有推出機構(8)。
2.根據權利要求1所述的一種電鍍污泥中有價金屬回收裝置,其特征在于:所述壓實機構(6)包括固定殼(61),所述固定殼(61)焊接于脫水盤(2)的外壁,所述固定殼(61)內壁固定連接有第二電機(62),所述第二電機(62)的輸出軸貫穿脫水盤(2),所述第二電機(62)的輸出軸轉動連接于脫水盤(2)的內壁,所述第二電機(62)的輸出軸位于脫水盤(2)內部的部分表面固定連接有套管(63),所述脫水盤(2)的頂端中部開設有頂孔(65),所述套管(63)表面貼合頂孔(65)下端,所述套管(63)的上端表面焊接有擠壓板(64),所述擠壓板(64)貫穿頂孔(65)且延伸至脫水盤(2)的扇形槽內。
3.根據權利要求1所述的一種電鍍污泥中有價金屬回收裝置,其特征在于:所述推出機構(8)包括移動板(81),所述移動板(81)的寬度與回收管(7)的寬度相同,所述移動板(81)遠離脫水盤(2)的一端延伸至回收管(7)的外部,所述移動板(81)位于回收管(7)外部的一端下側固定連接有L型桿(82),所述L型桿(82)的長桿上側開鑿設有齒痕,所述回收管(7)的下側表面固定連接有固定塊(83),所述固定塊(83)的一側通過固定座固定連接有第三電機(84),所述第三電機(84)的輸出端貫穿固定塊(83)且固定連接有齒輪(85),所述齒輪(85)與L型桿(82)的長桿上側的齒痕嚙合連接。
4.根據權利要求2所述的一種電鍍污泥中有價金屬回收裝置,其特征在于:所述脫水盤(2)的外壁與圓盤管(1)的內壁貼合,所述擠壓板(64)的長度和寬度與脫水盤(2)的扇形槽槽壁相同,所述脫水盤(2)的內部為中空結構,所述套管(63)與頂孔(65)的下端貼合處設置有密封墊。
5.根據權利要求1所述的一種電鍍污泥中有價金屬回收裝置,其特征在于:所述回收管(7)的下側中部開設有內槽(9),所述內槽(9)內滑動連接有滑塊(10),所述滑塊(10)固定連接于移動板(81)靠近脫水盤(2)的一端下側表面。
6.根據權利要求1所述的一種電鍍污泥中有價金屬回收裝置,其特征在于:所述圓盤管(1)的上端通過連接法蘭連接有進料管(13),所述圓盤管(1)的下端通過連接法蘭連接有排液管(14),所述排液管(14)的直徑大于底孔(4)的長度,所述脫水盤(2)的扇形槽頂端兩點之間的長度大于進料管(13)的直徑。
7.根據權利要求2所述的一種電鍍污泥中有價金屬回收裝置,其特征在于:所述脫水盤(2)遠離第一電機(5)的一側表面兩端均固定連接有側塊(12),所述圓盤管(1)的內壁相對側塊(12)開設有環形槽(11),所述側塊(12)均滑動連接于環形槽(11)內,所述圓盤管(1)的內壁相對固定殼(61)開設有插槽,所述固定殼(61)轉動連接于圓盤管(1)內壁的插槽內。
8.采用權利要求1所述的一種電鍍污泥中有價金屬回收裝置的回收方法,其特征在于,包括如下步驟:T1、首先利用輸送泵將金屬沉淀物通入脫水盤(2)的扇形槽內,通入一定量時,停止排入金屬沉淀物,再打開壓實機構(6)擠出金屬沉淀物中的水分;T2、金屬沉淀物中被擠出的廢水通過脫水盤(2)兩側過濾板(3)的過濾孔進入脫水盤(2)的空腔內,接著從脫水盤(2)的底孔(4)內排出;T3、金屬沉淀物中的水分經過反復擠壓后,形成金屬固態沉淀物,打開第一電機(5)帶動脫水盤(2)轉動,當脫水盤(2)的扇形槽下側轉動至相對回收管(7)的下側后即可排出金屬固態沉淀物,打開回收管(7)內的推出機構(8),可將固態沉淀物帶出回收管(7)進行回收,方便簡單。
發明內容
本發明的目的在于提供一種電鍍污泥中有價金屬回收裝置及方法,以解決上述背景技術中提出的在對有價金屬沉淀進行回收時,一般先采用離心機將金屬沉淀物脫水,但是此種方式進行脫水后回收時,有價金屬沉淀物松散會導致回收不便的問題。
為實現上述目的,本發明提供如下技術方案:一種電鍍污泥中有價金屬回收裝置,包括圓盤管和脫水盤,所述脫水盤安裝于圓盤管的內部,所述脫水盤的上側開設有扇形槽,所述脫水盤的扇形槽壁兩側安裝有過濾板,所述過濾板上開設有若干個過濾孔,所述脫水盤的底端開設有底孔,所述圓盤管的一側外壁中部通過固定座固定連接有第一電機,所述第一電機的輸出端貫穿圓盤管且固定連接于脫水盤的外壁中部,所述脫水盤的扇形槽內設置有壓實機構,所述圓盤管的一側中部固定連接有回收管,所述回收管與圓盤管的內部連通,所述回收管的下側設置有推出機構。
在進一步的實施例中,所述壓實機構包括固定殼,所述固定殼焊接于脫水盤的外壁,所述固定殼內壁固定連接有第二電機,所述第二電機的輸出軸貫穿脫水盤,所述第二電機的輸出軸轉動連接于脫水盤的內壁,所述第二電機的輸出軸位于脫水盤內部的部分表面固定連接有套管,所述脫水盤的頂端中部開設有頂孔,所述套管表面貼合頂孔下端,所述套管的上端表面焊接有擠壓板,所述擠壓板貫穿頂孔且延伸至脫水盤的扇形槽內。
在進一步的實施例中,所述推出機構包括移動板,所述移動板的寬度與回收管的寬度相同,所述移動板遠離脫水盤的一端延伸至回收管的外部,所述移動板位于回收管外部的一端下側固定連接有L型桿,所述L型桿的長桿上側開鑿設有齒痕,所述回收管的下側表面固定連接有固定塊,所述固定塊的一側通過固定座固定連接有第三電機,所述第三電機的輸出端貫穿固定塊且固定連接有齒輪,所述齒輪與L型桿的長桿上側的齒痕嚙合連接。
在進一步的實施例中,所述脫水盤的外壁與圓盤管的內壁貼合,所述擠壓板的長度和寬度與脫水盤的扇形槽槽壁相同,所述脫水盤的內部為中空結構,所述套管與頂孔的下端貼合處設置有密封墊。
在進一步的實施例中,所述回收管的下側中部開設有內槽,所述內槽內滑動連接有滑塊,所述滑塊固定連接于移動板靠近脫水盤的一端下側表面。
在進一步的實施例中,所述圓盤管的上端通過連接法蘭連接有進料管,所述圓盤管的下端通過連接法蘭連接有排液管,所述排液管的直徑大于底孔的長度,所述脫水盤的扇形槽頂端兩點之間的長度大于進料管的直徑。
在進一步的實施例中,所述脫水盤遠離第一電機的一側表面兩端均固定連接有側塊,所述圓盤管的內壁相對側塊開設有環形槽,所述側塊均滑動連接于環形槽內,所述圓盤管的內壁相對固定殼開設有插槽,所述固定殼轉動連接于圓盤管內壁的插槽內。
優選的,采用上述一種電鍍污泥中有價金屬回收裝置的回收方法,其具體使用步驟為:T1、首先利用輸送泵將金屬沉淀物通入脫水盤的扇形槽內,通入一定量時,停止排入金屬沉淀物,再打開壓實機構擠出金屬沉淀物中的水分;T2、金屬沉淀物中被擠出的廢水通過脫水盤兩側過濾板的過濾孔進入脫水盤的空腔內,接著從脫水盤的底孔內排出;T3、金屬沉淀物中的水分經過反復擠壓后,形成金屬固態沉淀物,打開第一電機帶動脫水盤轉動,當脫水盤的扇形槽下側轉動至相對回收管的下側后即可排出金屬固態沉淀物,打開回收管內的推出機構,可將固態沉淀物帶出回收管進行回收,方便簡單。
與現有技術相比,本發明的有益效果包括:1、通過設置壓實機構,通過壓實機構的擠壓板反復轉動擠壓金屬沉淀物,可使得金屬沉淀物中的水分被擠出,此結構簡單,并且反復擠壓脫水效果好。
2、通過設置推出機構,通過推出機構的移動板向著回收管的外部移動,可方便將金屬固態沉淀物帶出回收管進行回收。
3、通過設置齒輪與L型桿,通過齒輪往復小角度轉動,使得L型桿帶動移動板往復短距離移動,會產生震動帶動金屬固態沉淀物下落至下一處理程序進行處理,此種微震方式帶動金屬固態沉淀物出料,方便簡單。
4、通過設置滑塊和內槽,滑塊被限制在內槽內滑動,可以限制與滑塊連接的移動板的移動距離,避免移動板脫出回收管。
(發明人:陳偉;萬克順;王許淼)






