公布日:2023.12.15
申請日:2023.11.02
分類號:C02F1/26(2023.01)I;C02F101/34(2006.01)N
摘要
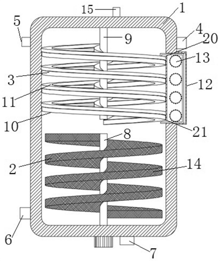
本發明涉及一種用于蘭炭廢水萃取除酚的萃取裝置,包括萃取塔,萃取塔內設有轉動填料層和移動填料層,轉動填料層處于移動填料層的下方;萃取塔的頂部設有萃取物出口,上部設有廢水進口,底部設有萃取劑進口和釜液出口;轉動填料層的中心設有攪拌軸,由萃取塔底部的電機帶動轉動;移動填料層包括中心支柱以及螺旋圍繞在中心支柱外側的支撐導軌,若干個填料籠相互連接形成鏈狀,并由下至上沿著支撐導軌移動,對應移動填料層的萃取塔側壁設有空心的夾層,夾層內設有若干個轉動輪,用于將移動填料層頂部的填料籠引進夾層,并使其向下移動,再從夾層底部穿出,再次沿支撐導軌上移;夾層頂部設有噴淋裝置,用于清洗移動到夾層內的填料籠。

權利要求書
1.一種用于蘭炭廢水萃取除酚的萃取裝置,其特征在于,包括萃取塔,萃取塔內設有轉動填料層和移動填料層,轉動填料層處于移動填料層的下方;萃取塔的頂部設有萃取物出口,上部設有廢水進口,底部設有萃取劑進口和釜液出口,分別用于排出含有酚類的萃取劑、輸入蘭炭廢水、輸入萃取劑和排出釜底液;轉動填料層的中心設有攪拌軸,由萃取塔底部的電機帶動轉動;移動填料層包括中心支柱以及螺旋圍繞在中心支柱外側的支撐導軌,若干個填料籠相互連接形成鏈狀,并由下至上沿著支撐導軌移動,對應移動填料層的萃取塔側壁設有空心的夾層,夾層內設有若干個轉動輪,用于將移動填料層頂部的填料籠引進夾層,并使其向下移動,再從夾層底部穿出,再次沿支撐導軌上移;夾層頂部設有噴淋裝置,用于清洗移動到夾層內的填料籠。
2.根據權利要求1所述的用于蘭炭廢水萃取除酚的萃取裝置,其特征在于,所述轉動填料層包括攪拌軸和填料部,填料部呈帶狀沿攪拌軸的外側面由上至下螺旋纏繞,攪拌軸的底部穿出萃取塔底部,并連接萃取塔外下方的電機,用于帶動攪拌軸和填料部轉動;所述填料部的內側固定在攪拌軸上,外層向萃取塔內壁延伸,并與萃取塔內壁之間留有間歇。
3.根據權利要求2所述的用于蘭炭廢水萃取除酚的萃取裝置,其特征在于,所述填料部為網籠形式,填料部內設有若干間隔壁,若干間隔壁沿著填料部的長度方向均勻分布,將填料部劃分為若干段,每段分別裝填料。
4.根據權利要求3所述的用于蘭炭廢水萃取除酚的萃取裝置,其特征在于,所述填料部的上表面、下表面和外側面均為波紋條與平面條間隔設置的形式,平面條處于波紋條的波峰與波谷之間的高度。5.根據權利要求1所述的用于蘭炭廢水萃取除酚的萃取裝置,其特征在于,所述移動填料層、轉動填料層與萃取塔同心設置,中心支柱、攪拌軸與萃取塔的軸線處于同一豎直線上;中心支柱的頂部固定連接萃取塔的頂面;支撐導軌包括螺旋纏繞在中心支柱外側面的內支撐條桿和外支撐條桿,內支撐條桿緊貼中心支柱的外側面,內支撐條桿與外支撐條桿之間連接有若干根滾動橫桿,滾動橫桿水平設置,用于支撐填料籠;萃取塔的內壁對應支撐導軌的頂部端口的位置設有清洗進口,萃取塔的內壁對應支撐導軌的底部端口的位置設有清洗出口,清洗進口和清洗出口處于同一豎直線上,所述夾層通過清洗進口和清洗出口與支撐導軌連通。
6.根據權利要求5所述的用于蘭炭廢水萃取除酚的萃取裝置,其特征在于,所述外支撐條桿設在萃取塔的內壁上,滾動橫桿的兩端分別轉動連接內支撐條桿和外支撐條桿。
7.根據權利要求5所述的用于蘭炭廢水萃取除酚的萃取裝置,其特征在于,所述夾層內對應清洗進口的位置設有第一轉動輪,第一轉動輪與清洗進口高度相同;夾層內對應清洗出口的位置設有第二轉動輪,第二轉動輪與清洗出口高度相同;第一轉動輪與第二轉動輪之間設有若干個第三轉動輪,所有轉動輪的轉軸穿出夾層側壁,并分別連接萃取塔外部的對應的轉動電機;所有轉動輪的外側面沿著轉動輪的周向均勻設置若干個凸齒,凸齒用于插入填料籠內并帶動填料籠移動。
8.根據權利要求7所述的用于蘭炭廢水萃取除酚的萃取裝置,其特征在于,所述夾層內部的噴淋裝置設在第一轉動輪的上方,用于向移動到夾層內的填料籠噴淋萃取劑,清洗填料籠。
9.根據權利要求1所述的用于蘭炭廢水萃取除酚的萃取裝置,其特征在于,所述中心支柱的外側面還設有塔盤,塔盤處于支撐導軌的下方,并螺旋圍繞中心支柱;塔盤的上表面光滑,且均勻密布大通孔和小通孔,大通孔的孔徑大于小通孔,大通孔用于塔盤上的廢水流下至下一層填料籠,小通孔用于允許上升的氣流通過;塔盤的外側設有溢流堰,且與萃取塔的內壁具有間隙。
10.根據權利要求1所述的用于蘭炭廢水萃取除酚的萃取裝置,其特征在于,所述廢水進口處于移動填料層的上方;所述萃取劑進口設在轉動填料層最下層填料的下方,釜液出口設在萃取劑進口的下方。
發明內容
針對上述問題,本發明提供一種用于蘭炭廢水萃取除酚的萃取裝置,包括萃取塔,萃取塔內設有轉動填料層和移動填料層,轉動填料層處于移動填料層的下方;萃取塔的頂部設有萃取物出口,上部設有廢水進口,底部設有萃取劑進口和釜液出口,分別用于排出含有酚類的萃取劑、輸入蘭炭廢水、輸入萃取劑和排出釜底液;
轉動填料層的中心設有攪拌軸,由萃取塔底部的電機帶動轉動;移動填料層包括中心支柱以及螺旋圍繞在中心支柱外側的支撐導軌,若干個填料籠相互連接形成鏈狀,并由下至上沿著支撐導軌移動,對應移動填料層的萃取塔側壁設有空心的夾層,夾層內設有若干個轉動輪,用于將移動填料層頂部的填料籠引進夾層,并使其向下移動,再從夾層底部穿出,再次沿支撐導軌上移;夾層頂部設有噴淋裝置,用于清洗移動到夾層內的填料籠。
本發明的萃取塔內蘭炭廢水與萃取劑逆流接觸并萃取,含有酚類物質的萃取物從塔頂的萃取物出口排出,進行后續的分離處理;廢水從釜液出口排出,進行后續的專業處理。萃取塔分為上、下兩部分,上部分優先接觸蘭炭廢水,將造成填料上粘連較多油類物質,影響填料性能,本發明在萃取塔上部分設置能夠移動清洗的移動填料層;廢水到萃取塔下部時,油類物質污染情況有所減輕,則使用能夠原地轉動的轉動填料層,避免油類物質污染的同時,提高填料效能。
可選的,所述轉動填料層包括攪拌軸和填料部,填料部呈帶狀沿攪拌軸的外側面由上至下螺旋纏繞,攪拌軸的底部穿出萃取塔底部,并連接萃取塔外下方的電機,用于帶動攪拌軸和填料部轉動;
所述填料部的內側固定在攪拌軸上,外層向萃取塔內壁延伸,并與萃取塔內壁之間留有間歇。
進一步可選的,所述填料部為網籠形式,內部裝填填料,填料部內設有若干間隔壁,若干間隔壁沿著填料部的長度方向均勻分布,將填料部劃分為若干段,每段分別裝填料。
進一步可選的,所述填料部的上表面、下表面和外側面均為波紋條與平面條間隔設置的形式,平面條處于波紋條的波峰與波谷之間的高度。
可選的,所述萃取劑進口設在轉動填料層最下層填料的下方,釜液出口設在萃取劑進口的下方。
可選的,所述移動填料層、轉動填料層與萃取塔同心設置,即中心支柱、攪拌軸與萃取塔的軸線處于同一豎直線上;中心支柱的頂部固定連接萃取塔的頂面;
支撐導軌包括螺旋纏繞在中心支柱外側面的內支撐條桿和外支撐條桿,內支撐條桿緊貼中心支柱的外側面,內支撐條桿與外支撐條桿之間連接有若干根滾動橫桿,滾動橫桿水平設置,用于支撐填料籠;
萃取塔的內壁對應支撐導軌的頂部端口的位置設有清洗進口,萃取塔的內壁對應支撐導軌的底部端口的位置設有清洗出口,清洗進口和清洗出口處于同一豎直線上,所述夾層通過清洗進口和清洗出口與支撐導軌連通。
進一步可選的,所述外支撐條桿設在萃取塔的內壁上,滾動橫桿的兩端分別轉動連接內支撐條桿和外支撐條桿。
進一步可選的,所述夾層內對應清洗進口的位置設有第一轉動輪,第一轉動輪與清洗進口高度相同;夾層內對應清洗出口的位置設有第二轉動輪,第二轉動輪與清洗出口高度相同;
第一轉動輪與第二轉動輪之間設有若干個第三轉動輪,所有轉動輪的轉軸穿出夾層側壁,并分別連接萃取塔外部的對應的轉動電機;
所有轉動輪的外側面沿著轉動輪的周向均勻設置若干個凸齒,凸齒用于插入填料籠內并帶動填料籠移動。
進一步可選的,所述夾層內部的噴淋裝置設在第一轉動輪的上方,用于向移動到夾層內的填料籠噴淋萃取劑,清洗填料籠。
可選的,所述廢水進口處于移動填料層的上方。
可選的,所述中心支柱的外側面還設有塔盤,塔盤處于支撐導軌的下方,并螺旋圍繞中心支柱;
塔盤的上表面光滑,且均勻密布大通孔和小通孔,大通孔的孔徑大于小通孔,大通孔用于塔盤上的廢水流下至下一層填料籠,小通孔用于允許上升的氣流通過;
塔盤的外側設有溢流堰,且與萃取塔的內壁具有間隙。
(發明人:陳學佳;楊林;劉德新;李建慈;楊石波;于晨;楊超;高慧)






