公布日:2023.10.24
申請日:2023.08.25
分類號:F17D1/20(2006.01)I;C02F1/00(2023.01)I;C02F3/00(2023.01)I;F16L55/045(2006.01)I;F16L55/02(2006.01)I
摘要
本發明提供一種穩流裝置和污水處理系統,所述穩流裝置包括旋流限流閥和溢流容器,溢流容器具有溢流區和儲水區,溢流區與旋流限流閥連通,以獲取旋流限流閥排出的液體,溢流區內的液體可溢流至儲水區內,溢流容器的側壁設有溢流出口,溢流出口與溢流區連通,以使溢流區內的液體由溢流出口排出溢流容器。本發明的穩流裝置通過旋流限流閥和溢流容器對流經穩流裝置的液體流量進行調控,以使溢流出口排出的液體流量恒定,且不受旋流限流閥的上游設備的液位影響。

權利要求書
1.一種穩流裝置,其特征在于,包括:旋流限流閥(1);溢流容器(2),所述溢流容器(2)具有溢流區(21)和儲水區(22),所述溢流區(21)與所述旋流限流閥(1)連通,以獲取所述旋流限流閥(1)排出的液體,所述溢流區(21)內的液體可溢流至所述儲水區(22)內,所述溢流容器(2)的側壁設有溢流出口(23),所述溢流出口(23)與所述溢流區(21)連通,以使所述溢流區(21)內的液體由所述溢流出口(23)排出所述溢流容器(2)。
2.根據權利要求1所述的穩流裝置,其特征在于,所述溢流容器(2)包括:水平隔板(24),所述水平隔板(24)的上方形成所述溢流區(21),所述水平隔板(24)的下方形成所述儲水區(22);溢流堰(25),所述溢流堰(25)設在所述水平隔板(24)上,且所述溢流堰(25)環繞形成跌水孔,所述跌水孔連通所述溢流區(21)和所述儲水區(22);排水口(29),所述排水口(29)與所述儲水區(22)連通。
3.根據權利要求1所述的穩流裝置,其特征在于,所述溢流容器(2)還具有在水平方向上依次分隔的進水區(26)、浮渣區(27)和配水區(28),所述進水區(26)與所述旋流限流閥(1)連通,所述浮渣區(27)的頂部與所述進水區(26)的頂部連通,所述浮渣區(27)的底部與所述配水區(28)的底部連通,所述配水區(28)與所述溢流區(21)連通。
4.根據權利要求1所述的穩流裝置,其特征在于,還包括調節件(3),所述調節件(3)止擋在所述溢流出口(23),并相對于所述溢流出口(23)可沿豎直方向移動,以調節所述溢流區(21)內液體在所述溢流出口(23)的溢流高度。
5.根據權利要求4所述的穩流裝置,其特征在于,所述調節件(3)為三角堰板;和/或所述穩流裝置還包括集水容器(4),所述集水容器(4)與所述溢流容器(2)相連,且所述集水容器(4)的內腔與所述溢流出口(23)連通,所述集水容器(4)設有出水口(41)。
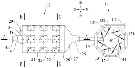
6.根據權利要求1所述的穩流裝置,其特征在于,所述旋流限流閥(1)包括:閥筒(11),所述閥筒(11)的底部設有所述旋流限流閥(1)的出口;封板(12),所述封板(12)設在所述閥筒(11)的頂部,以封閉所述閥筒(11)的頂部筒口,所述封板(12)設有氣孔;布水管(13),所述布水管(13)設在所述閥筒(11)上,并沿所述閥筒(11)的切向延伸,以用于向所述閥筒(11)的內部供給液體,所述布水管(13)為至少兩個,至少兩個所述布水管(13)沿所述閥筒(11)的周向間隔排布。
7.根據權利要求6所述的穩流裝置,其特征在于,所述布水管(13)具有閥門(131)和壓力表(132),所述閥門(131)用于調節所述布水管(13)的流量,所述壓力表(132)用于顯示所述布水管(13)內的液體壓力。
8.根據權利要求6所述的穩流裝置,其特征在于,所述閥筒(11)包括圓柱段(111)和錐形段(112),所述布水管(13)設在所述圓柱段(111)上,所述錐形段(112)直徑較大的一端與所述圓柱段(111)的底端相連,所述錐形段(112)直徑較小的一端設有所述旋流限流閥(1)的出口;所述封板(12)具有沿豎直方向延伸的進氣管(121),所述進氣管(121)的管腔形成所述氣孔。
9.根據權利要求6所述的穩流裝置,其特征在于,所述旋流限流閥(1)還包括進水管(14),所述進水管(14)具有進水口(141),所述進水管(14)的至少部分為環形,并環繞在所述閥筒(11)的外周,所述布水管(13)連接在所述進水管(14)和所述閥筒(11)之間。
10.一種污水處理系統,其特征在于,包括:調節池;穩流裝置,所述穩流裝置為權利要求1-9中任一項所述的穩流裝置,所述旋流限流閥(1)與所述調節池連通,以獲取所述調節池排出的液體,所述溢流容器(2)設有連通所述儲水區(22)的排水口(29),所述排水口(29)與所述調節池連通;污水處理設備,所述污水處理設備與所述溢流出口(23)連通,以獲取所述溢流出口(23)排出的液體。
發明內容
本發明旨在至少在一定程度上解決相關技術中的技術問題之一。為此,本發明的實施例提出一種穩流裝置,該穩流裝置通過旋流限流閥和溢流容器對流經穩流裝置的液體流量進行調控,以使溢流出口排出的液體流量恒定,且不受旋流限流閥的上游設備的液位影響。
本發明的實施例還提出一種污水處理系統。
本發明實施例的穩流裝置包括:
旋流限流閥;
溢流容器,所述溢流容器具有溢流區和儲水區,所述溢流區與所述旋流限流閥連通,以獲取所述旋流限流閥排出的液體,所述溢流區內的液體可溢流至所述儲水區內,所述溢流容器的側壁設有溢流出口,所述溢流出口與所述溢流區連通,以使所述溢流區內的液體由所述溢流出口排出所述溢流容器。
本發明實施例的穩流裝置首先通過旋流限流閥對流經的液體進行初步限流和穩流,使液體以較為恒定的流量進入溢流容器內,溢流容器進一步對流經的液體進行限流和穩流,以使溢流區內的液體以精度較高的恒定流量由溢流出口排出,而溢流區內超出溢流出口處限定流量的其余液體會進入儲水區內進行儲存,以避免影響溢流出口處的流量恒定狀態。同時,通過旋流限流閥和溢流容器對流經液體限流不會受到上游設備的液位變化和波動的影響。
在一些實施例中,所述溢流容器包括:
水平隔板,所述水平隔板的上方形成所述溢流區,所述水平隔板的下方形成所述儲水區;
溢流堰,所述溢流堰設在所述水平隔板上,且所述溢流堰環繞形成跌水孔,所述跌水孔連通所述溢流區和所述儲水區;
排水口,所述排水口與所述儲水區連通。
在一些實施例中,所述溢流容器還具有在水平方向上依次分隔的進水區、浮渣區和配水區,所述進水區與所述旋流限流閥連通,所述浮渣區的頂部與所述進水區的頂部連通,所述浮渣區的底部與所述配水區的底部連通,所述配水區與所述溢流區連通。
在一些實施例中,所述穩流裝置還包括調節件,所述調節件止擋在所述溢流出口,并相對于所述溢流出口可沿豎直方向移動,以調節所述溢流區內液體在所述溢流出口的溢流高度。
在一些實施例中,所述調節件為三角堰板;和/或
所述穩流裝置還包括集水容器,所述集水容器與所述溢流容器相連,且所述集水容器的內腔與所述溢流出口連通,所述集水容器設有出水口。
在一些實施例中,所述旋流限流閥包括:
閥筒,所述閥筒的底部設有所述旋流限流閥的出口;
封板,所述封板設在所述閥筒的頂部,以封閉所述閥筒的頂部筒口,所述封板設有氣孔;
布水管,所述布水管設在所述閥筒上,并沿所述閥筒的切向延伸,以用于向所述閥筒的內部供給液體,所述布水管為至少兩個,至少兩個所述布水管沿所述閥筒的周向間隔排布。
在一些實施例中,所述布水管具有閥門和壓力表,所述閥門用于調節所述布水管的流量,所述壓力表用于顯示所述布水管內的液體壓力。
在一些實施例中,所述閥筒包括圓柱段和錐形段,所述布水管設在所述圓柱段上,所述錐形段直徑較大的一端與所述圓柱段的底端相連,所述錐形段直徑較小的一端設有所述旋流限流閥的出口;
所述封板具有沿豎直方向延伸的進氣管,所述進氣管的管腔形成所述氣孔。
在一些實施例中,所述旋流限流閥還包括進水管,所述進水管具有進水口,所述進水管的至少部分為環形,并環繞在所述閥筒的外周,所述布水管連接在所述進水管和所述閥筒之間。
本發明實施例的污水處理系統包括:
調節池;
穩流裝置,所述穩流裝置為上述任一項實施例所述的穩流裝置,所述旋流限流閥與所述調節池連通,以獲取所述調節池排出的液體,所述溢流容器設有連通所述儲水區的排水口,所述排水口與所述調節池連通;
污水處理設備,所述污水處理設備與所述溢流出口連通,以獲取所述溢流出口排出的液體。
本發明實施例的污水處理系統利用本發明實施例的穩流裝置在調節池和污水處理設備之間對污水流量進行穩流,使進入污水處理設備的污水流量恒定,且不會受到調節池內的污水液位變化和波動的影響,避免污水處理設備受到水量沖擊負荷,同時儲水區內的污水通過排水口返回至調節池內,避免儲水區內的污水容量超出限定值而影響穩流裝置的穩流效果,使污水處理系統能夠持續且長時間的運行。
(發明人:楊恒;趙金;房衛軍;張偉;王彥芳)






