公布日:2023.12.15
申請日:2023.11.02
分類號:C02F9/00(2023.01)I;C02F103/34(2006.01)N;C02F3/00(2023.01)N;C02F1/28(2023.01)N;C02F1/00(2023.01)N
摘要
本發明公開了一種便于維護拆卸的肥料生產用廢水收集處理裝置,一種便于維護拆卸的肥料生產用廢水收集處理裝置,包括活性炭吸附機構、雙向驅動機構和處理箱機構,所述活性炭吸附機構的下表面固定連接有處理箱機構,所述處理箱機構的一側固定連接有雙向驅動機構,所述活性炭吸附機構包括滑動支撐板,所述滑動支撐板的外壁固定連接有滑動電機。通過滑動電機和三角電機架的輸出端的帶動驅動齒輪旋轉,帶動鏈條的傳動使三角電機架拉動驅動電機,沿電機滑動軌道下降到廢水中,起到了便于啟動和停止設備的作用,通過驅動電機的輸出端帶動齒輪盤的旋轉,同時帶動轉動盤轉動,起到了為設備提供動力的作用,保障了設備能夠正常運行。

權利要求書
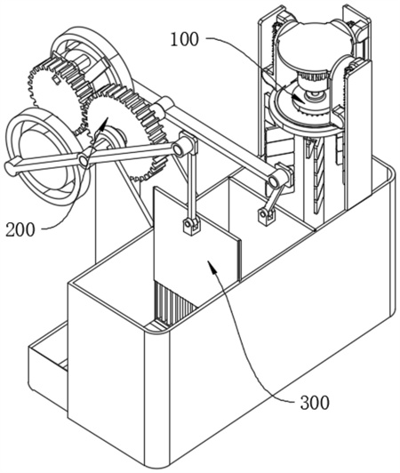
1.一種便于維護拆卸的肥料生產用廢水收集處理裝置,包括活性炭吸附機構(100)、雙向驅動機構(200)和處理箱機構(300),其特征在于:所述活性炭吸附機構(100)的下表面固定連接有處理箱機構(300),所述處理箱機構(300)的一側固定連接有雙向驅動機構(200);所述活性炭吸附機構(100)包括滑動支撐板(101),所述滑動支撐板(101)的外壁固定連接有滑動電機(102),所述滑動電機(102)的外壁固定連接有驅動齒輪(103),所述驅動齒輪(103)的外壁傳動連接有鏈條(104),所述鏈條(104)的外壁設置有三角電機架(105),所述三角電機架(105)的小表面固定連接有驅動電機(106),所述驅動電機(106)下表面固定連接有齒輪盤(107),所述齒輪盤(107)的內壁轉動連接有轉動盤(108),所述滑動電機(102)的外壁滑動連接有電機滑動軌道(109)。
2.根據權利要求1所述的一種便于維護拆卸的肥料生產用廢水收集處理裝置,其特征在于:所述轉動盤(108)的下表面轉動連接有驅動盤(110),所述驅動盤(110)的下表面轉動連接有驅動連接桿(111),所述驅動連接桿(111)的一端轉動連接有曲柄桿(112),所述曲柄桿(112)的小表面轉動連接有活性炭板(113)。
3.根據權利要求1所述的一種便于維護拆卸的肥料生產用廢水收集處理裝置,其特征在于:所述雙向驅動機構(200)包括驅動支撐架(201),所述驅動支撐架(201)的外壁固定連接有動力電機(202),所述動力電機(202)的外壁固定連接有動力齒輪(203),所述動力齒輪(203)的外壁嚙合有限位齒輪(204),所述限位齒輪(204)的內壁固定連接有限位槽(205),所述限位槽(205)的內壁固定連接有插銷柱(206),所述插銷柱(206)的一端固定連接有滑動圓盤(207),所述滑動圓盤(207)的內壁滑動連接有滑動柱(208),所述滑動柱(208)的外壁固定連接有翹桿(209)。
4.根據權利要求3所述的一種便于維護拆卸的肥料生產用廢水收集處理裝置,其特征在于:所述翹桿(209)的一端轉動連接有拉動桿(301),所述拉動桿(301)的一端轉動連接有泄水閘(302),所述泄水閘(302)的一側固定連接有閘門滑動軌道(303),所述泄水閘(302)的內壁固定連接有柵格滑動軌道(304)。
5.根據權利要求4所述的一種便于維護拆卸的肥料生產用廢水收集處理裝置,其特征在于:所述柵格滑動軌道(304)的內壁滑動連接有柵格阻攔板(305),所述柵格阻攔板(305)的下表面固定連接有限位彈簧(306)。
6.根據權利要求4所述的一種便于維護拆卸的肥料生產用廢水收集處理裝置,其特征在于:所述閘門滑動軌道(303)的外壁滑動連接有處理箱壁(307),所述處理箱壁(307)的內部設置有沉淀處理箱(308),所述沉淀處理箱(308)的一側固定連接有生物處理箱(309),所述生物處理箱(309)的一側固定連接有活性炭處理箱(310)。
7.根據權利要求6所述的一種便于維護拆卸的肥料生產用廢水收集處理裝置,其特征在于:所述沉淀處理箱(308)的內壁滑動連接有雜質收集箱(311),所述雜質收集箱(311)的外壁固定連接有把手(312)。
發明內容
針對現有技術存在的不足,本發明目的是提供一種便于維護拆卸的肥料生產用廢水收集處理裝置,具備便于維護拆卸的優點。
為實現上述目的,本發明提供如下技術方案:一種便于維護拆卸的肥料生產用廢水收集處理裝置,包括活性炭吸附機構、雙向驅動機構和處理箱機構,所述活性炭吸附機構的下表面固定連接有處理箱機構,所述處理箱機構的一側固定連接有雙向驅動機構,所述活性炭吸附機構包括滑動支撐板,所述滑動支撐板的外壁固定連接有滑動電機,所述滑動電機的外壁固定連接有驅動齒輪,所述驅動齒輪的外壁傳動連接有鏈條,所述鏈條的外壁設置有三角電機架,所述三角電機架的下表面固定連接有驅動電機,所述驅動電機下表面固定連接有齒輪盤,所述齒輪盤的內壁轉動連接有轉動盤,所述滑動電機的外壁滑動連接有電機滑動軌道。
通過上述技術方案,達到了便于拆卸的效果,通過滑動電機和三角電機架的輸出端的帶動驅動齒輪旋轉,帶動鏈條的傳動使三角電機架拉動驅動電機,沿電機滑動軌道下降到廢水中,起到了便于啟動和停止設備的作用,通過驅動電機的輸出端帶動齒輪盤的旋轉,同時帶動轉動盤轉動,起到了為設備提供動力的作用,保障了設備能夠正常運行。
優選的,所述轉動盤的下表面轉動連接有驅動盤,所述驅動盤的下表面轉動連接有驅動連接桿,所述驅動連接桿的一端轉動連接有曲柄桿,所述曲柄桿的小表面轉動連接有活性炭板。
通過上述技術方案,達到了深度凈化的效果,通過驅動盤的轉動同時帶動驅動連接桿和曲柄桿的轉動,使活性炭板在廢水中轉動,實現了深度凈化的作用。
優選的,所述雙向驅動機構包括驅動支撐架,所述驅動支撐架的外壁固定連接有動力電機,所述動力電機的外壁固定連接有動力齒輪,所述動力齒輪的外壁嚙合有限位齒輪,所述限位齒輪的內壁固定連接有限位槽,所述限位槽的內壁固定連接有插銷柱,所述插銷柱的一端固定連接有滑動圓盤,所述滑動圓盤的內壁滑動連接有滑動柱,所述滑動柱的外壁固定連接有翹桿。
通過上述技術方案,達到了雙向控制的效果,通過動力電機的輸出端帶動動力齒輪的旋轉,同時帶動限位齒輪拉動滑動圓盤轉動,使翹桿被抬起,起到了為設備提供動力的作用,保障了設備能夠正常運行,通過限位槽、插銷柱和滑動圓盤的設置,使設備在運行的過程中實現了一開一關的作用,使得廢水可以正確的流入相應的處理環節中。
優選的,所述翹桿的一端轉動連接有拉動桿,所述拉動桿的一端轉動連接有泄水閘,所述泄水閘的一側固定連接有閘門滑動軌道,所述泄水閘的內壁固定連接有柵格滑動軌道。
通過上述技術方案,達到了控制閘門的效果,通過拉動桿的拉動,使泄水閘沿閘門滑動軌道往上提拉,起到了開啟閘門的作用,使得廢水可以正確的流入下一節處理環節中。
優選的,所述柵格滑動軌道的內壁滑動連接有柵格阻攔板,所述柵格阻攔板的下表面固定連接有限位彈簧。
通過上述技術方案,達到了格柵過濾的效果,通過柵格阻攔板和柵格阻攔板的設置,實現了阻擋廢水中的雜質,分離水中懸浮固體物,通過限位彈簧的設置,起到了限位和復位的作用。
優選的,所述閘門滑動軌道的外壁滑動連接有處理箱壁,所述處理箱壁的內部設置有沉淀處理箱,所述沉淀處理箱的一側固定連接有生物處理箱,所述生物處理箱的一側固定連接有活性炭處理箱。
通過上述技術方案,達到了處理廢水的效果,通過沉淀處理箱、生物處理箱和活性炭處理箱的設置,實現了對廢水的處理,將廢水凈化達標。
優選的,所述沉淀處理箱的內壁滑動連接有雜質收集箱,所述雜質收集箱的外壁固定連接有把手。
通過上述技術方案,達到了收集廢水中雜質的效果,通過雜質收集箱和把手的設置,實現了將廢水中沉淀和分離下來的雜質收集起來的作用,實現了對廢水的初步處理。
與現有技術相比,本發明的有益效果是:
1、通過上述技術方案,達到了便于拆卸的效果,通過滑動電機和三角電機架的輸出端的帶動驅動齒輪旋轉,帶動鏈條的傳動使三角電機架拉動驅動電機,沿電機滑動軌道下降到廢水中,起到了便于啟動和停止設備的作用,通過驅動電機的輸出端帶動齒輪盤的旋轉,同時帶動轉動盤轉動,起到了為設備提供動力的作用,保障了設備能夠正常運行。
2、通過動力電機的輸出端帶動動力齒輪的旋轉,同時帶動限位齒輪拉動滑動圓盤轉動,使翹桿被抬起,起到了為設備提供動力的作用,保障了設備能夠正常運行,通過限位槽、插銷柱和滑動圓盤的設置,使設備在運行的過程中實現了一開一關的作用,使得廢水可以正確的流入相應的處理環節中。
3、通過拉動桿的拉動,使泄水閘沿閘門滑動軌道往上提拉,起到了開啟閘門的作用,使得廢水可以正確的流入下一節處理環節中,通過柵格阻攔板和柵格阻攔板的設置,實現了阻擋廢水中的雜質,分離水中懸浮固體物,通過限位彈簧的設置,起到了限位和復位的作用。
(發明人:程傳東;劉寧;劉艷峰;王琪;李大鵬;司廣輝;彭艷波)






