公布日:2023.12.08
申請日:2023.09.05
分類號:C02F9/00(2023.01)I;B01D29/03(2006.01)I;B01D29/50(2006.01)I;B01D36/04(2006.01)I;B01D35/16(2006.01)I;B01D21/24(2006.01)I;B01D21/00(2006.01)I;C02F1/
28(2023.01)N;C02F1/00(2023.01)N;C02F1/72(2023.01)N;C02F1/44(2023.01)N;C02F3/34(2023.01)N
摘要
本發明公開了一種高濃度廢水預處理裝置,涉及廢水處理技術領域,包括:處理箱,處理箱內設有沉淀腔;其中,沉淀腔內設有過濾件,并且過濾件呈傾斜設置;傳輸箱,傳輸箱與處理箱的一側連通;其中,傳輸箱上設有多個反應件,并且傳輸箱內設有驅動多個反應件進行豎直移動的多個直線調節件;凈化筒,凈化筒水平設置在傳輸箱遠離處理箱的一側,并且凈化筒與傳輸箱連通;本發明通過多道步驟來對廢水進行多次處理,完成廢水的初步過濾、氧化凈化、過濾膜攔截和微生物凈化等多道凈化步驟,來對廢水中不同類型的污染物分別進行處理,提高了廢水的處理效果;同時也能對處理過程中的固體沉淀物和氣態廢物分別進行集中處理,操作簡單、方便,實用性強。

權利要求書
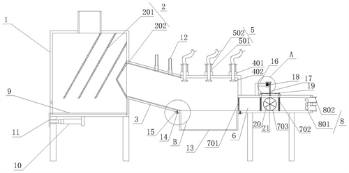
1.一種高濃度廢水預處理裝置,其特征在于,包括:處理箱(1),所述處理箱(1)內設有沉淀腔;其中,沉淀腔內設有過濾件(2),并且過濾件(2)呈傾斜設置;傳輸箱(3),所述傳輸箱(3)與處理箱(1)的一側連通;其中,所述傳輸箱(3)上設有多個反應件(4),并且傳輸箱(3)內設有驅動多個反應件(4)進行豎直移動的多個直線調節件(5);凈化筒(6),所述凈化筒(6)水平設置在傳輸箱(3)遠離處理箱(1)的一側,并且凈化筒(6)與傳輸箱(3)連通;其中,凈化筒(6)內設有凈化件(7),并且凈化筒(6)內設有驅動件(8)。
2.根據權利要求1所述的一種高濃度廢水預處理裝置,其特征在于,每一過濾件(2)包括:多個過濾斜板(201),多個過濾斜板(201)依次設置在沉淀腔內,并且過濾斜板(201)的底端遠離傳輸箱(3);過濾網套(202),所述過濾網套(202)套設在傳輸箱(3)的進料口內,并且過濾網套(202)位于沉淀腔內。
3.根據權利要求1所述的一種高濃度廢水預處理裝置,其特征在于,所述處理箱(1)內水平滑動安裝有收集箱(9),并且收集箱(9)位于沉淀腔的底部,所述處理箱(1)上水平設有多個電動推桿(10),所述多個電動推桿(10),所述電動推桿(10)的伸縮端設有連接桿(11),所述連接桿(11)與收集箱(9)連接。
4.根據權利要求1所述的一種高濃度廢水預處理裝置,其特征在于,每一反應件(4)包括:進料管(401),所述進料管(401)豎直滑動安裝在傳輸箱(3)的頂部;進料噴頭(402),所述進料噴頭(402)安裝在進料管(401)的底端,并且進料噴頭(402)位于傳輸箱(3)內。
5.根據權利要求4所述的一種高濃度廢水預處理裝置,其特征在于,所述直線調節件(5)包括:伸縮電機(501),所述伸縮電機(501)豎直設置在傳輸箱(3)外;連接塊(502),所述連接塊(502)設置在伸縮電機(501)的伸縮端,并且連接塊(502)套設在進料管(401)外。
6.根據權利要求1所述的一種高濃度廢水預處理裝置,其特征在于,所述傳輸箱(3)上設有多個出氣管(12),多個出氣管(12)呈豎直設置,并且多個出氣管(12)均與傳輸箱(3)的內部連通。
7.根據權利要求1所述的一種高濃度廢水預處理裝置,其特征在于,所述傳輸箱(3)的底部設有靜止箱(13),所述靜止箱(13)的兩側均設有安裝塊(14),所述安裝塊(14)上設有與傳輸箱(3)連接的螺紋孔,所述螺紋孔內設有螺紋固定銷(15)。
8.根據權利要求1所述的一種高濃度廢水預處理裝置,其特征在于,凈化件(7)包括:過濾膜(701),所述過濾膜(701)套設在凈化筒(6)的進口端;多個活性炭吸附板(702),多個活性炭吸附板(702)依次豎直設置在凈化筒(6)內;其中,凈化筒(6)的外部設有安裝架(16),所述安裝架(16)上豎直轉動安裝有升降螺桿(17),所述安裝架(16)上設有驅動升降螺桿(17)進行轉動的調節電機(18),所述升降螺桿(17)上螺紋安裝有安裝板(19),多個活性炭吸附板(702)可拆卸安裝在安裝板(19)上;轉動筒(703),所述轉動筒(703)轉動安裝在凈化筒(6)內;其中,所述轉動筒(703)內沿其轉動軸心設有多個隔離板(20),所述轉動筒(703)的外側設有多個通口(21),多個通口(21)分別與多個隔離板(20)相對應。
9.根據權利要求1所述的一種高濃度廢水預處理裝置,其特征在于,所述驅動件(8)包括:驅動泵(801),所述驅動泵(801)設置在凈化筒(6)內;多個出口管(802),多個出口管(802)設置在凈化筒(6)的出口端。
發明內容
本發明所解決的技術問題為:
(1)現有的廢水在處理過程中,通常只對廢水進行一項處理,導致裝置處理的能力可能無法滿足高濃度廢水的實際需求,從而導致處理效果不理想的問題;
(2)同時,廢水在處理過程會產生固體沉淀物和氣態廢物,不方便對其進行處理的問題。
本發明可以通過以下技術方案實現:一種高濃度廢水預處理裝置,包括:
處理箱,所述處理箱內設有沉淀腔;
其中,沉淀腔內設有過濾件,并且過濾件呈傾斜設置;
傳輸箱,所述傳輸箱與處理箱的一側連通;
其中,所述傳輸箱上設有多個反應件,并且傳輸箱內設有驅動多個反應件進行豎直移動的多個直線調節件;
凈化筒,所述凈化筒水平設置在傳輸箱遠離處理箱的一側,并且凈化筒與傳輸箱連通;
其中,凈化筒內設有凈化件,并且凈化筒內設有驅動件。
本發明的進一步技術改進在于:每一過濾件包括:
多個過濾斜板,多個過濾斜板依次設置在沉淀腔內,并且過濾斜板的底端遠離傳輸箱;
過濾網套,所述過濾網套套設在傳輸箱的進料口內,并且過濾網套位于沉淀腔內。
本發明的進一步技術改進在于:所述處理箱內水平滑動安裝有收集箱,并且收集箱位于沉淀腔的底部,所述處理箱上水平設有多個電動推桿,所述多個電動推桿,所述電動推桿的伸縮端設有連接桿,所述連接桿與收集箱連接。
本發明的進一步技術改進在于:每一反應件包括:
進料管,所述進料管豎直滑動安裝在傳輸箱的頂部;
進料噴頭,所述進料噴頭安裝在進料管的底端,并且進料噴頭位于傳輸箱內。
本發明的進一步技術改進在于:所述直線調節件包括:
伸縮電機,所述伸縮電機豎直設置在傳輸箱外;
連接塊,所述連接塊設置在伸縮電機的伸縮端,并且連接塊套設在進料管外。
本發明的進一步技術改進在于:所述傳輸箱上設有多個出氣管,多個出氣管呈豎直設置,并且多個出氣管均與傳輸箱的內部連通。
本發明的進一步技術改進在于:所述傳輸箱的底部設有靜止箱,所述靜止箱的兩側均設有安裝塊,所述安裝塊上設有與傳輸箱連接的螺紋孔,所述螺紋孔內設有螺紋固定銷。
本發明的進一步技術改進在于:凈化件包括:
過濾膜,所述過濾膜套設在凈化筒的進口端;
多個活性炭吸附板,多個活性炭吸附板依次豎直設置在凈化筒內;
其中,凈化筒的外部設有安裝架,所述安裝架上豎直轉動安裝有升降螺桿,所述安裝架上設有驅動升降螺桿進行轉動的調節電機,所述升降螺桿上螺紋安裝有安裝板,多個活性炭吸附板可拆卸安裝在安裝板上;
轉動筒,所述轉動筒轉動安裝在凈化筒內;
其中,所述轉動筒內沿其轉動軸心設有多個隔離板,所述轉動筒的外側設有多個通口,多個通口分別與多個隔離板相對應。
本發明的進一步技術改進在于:所述驅動件包括:
驅動泵,所述驅動泵設置在凈化筒內;
多個出口管,多個出口管設置在凈化筒的出口端。
與現有技術相比,本發明具備以下有益效果:
(1)本裝置通過多個過濾斜板對廢水中較大的沉淀物進行過濾,而較大的沉淀物會沿著過濾斜板移動到沉淀腔的底部,完成廢水的初步過濾過程;而過濾后的廢水會到達傳輸箱內,外部的氧化液會通過進料管和進料噴頭向傳輸箱的廢水內進行添加,致使氧化液與廢水進行充分反應,進而方便氧化液對廢水進行化學反應,從而方便廢水的凈化處理;通過伸縮電機帶動連接塊、進料管和進料噴頭沿傳輸箱的內部進行豎直移動,從而調整進料噴頭在傳輸箱內的位置,從而將氧化液與廢水的不同位置接觸,進而方便廢水的充分氧化處理;
(2)當廢水通過傳輸箱后,廢水會通過過濾膜,而過濾膜會對廢水中細微的物質進行攔截,從而廢水的進化效果;而通過過濾膜的廢水會到達凈化筒內,而其內的多個活性炭吸附板會對廢水內的污染物進行吸附固定,而轉動筒內會有微生物群落,其內的微生物群落會對活性炭吸附板吸附的污染物進行生物凈化,從而提高廢水的凈化效果,而外部驅動設備可帶動凈化筒進行轉動,使得廢水依次到達多個隔離板所隔離的一個個小空間內,從而方便廢水分別與一個個小空間內微生物進行充分接觸,提高廢水的凈化效果;
(3)當較大的沉淀物沿著過濾斜板移動到沉淀腔的底部時,沉淀物會落到收集箱內,通過電動推桿帶動連接桿、收集箱和其內的沉淀物向處理箱外移動,從而方便沉淀物的集中處理;當廢水與氧化液反應并產生氣體時,所產生的氣體會通過多個出氣管向傳輸箱的外部進行流動,從而保證傳輸箱內的氣壓正常,進而保證廢水與氧化液的充分反應;當廢水與傳輸箱內的廢水進行反應時,所產生的沉淀物會到達傳輸箱底部的靜止箱內,使得靜止箱對沉淀物進行收集;而通過螺紋固定銷和安裝塊可方便靜止箱和其內的沉淀物從傳輸箱上拆卸下來,從而方便沉淀物的集中處理。
(發明人:高明林;張超;范璐璐;田家樂;王先亮)






