公布日:2023.12.08
申請日:2023.09.04
分類號:C02F1/00(2023.01)I;C02F1/58(2023.01)I;C02F103/18(2006.01)N
摘要
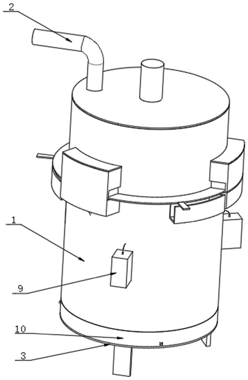
本發明涉及廢水凈化技術領域,具體涉及一種脫硫廢水處理裝置,包括處理固定筒,所述處理固定筒頂部固定連接有進水管,所述處理固定筒底部轉動連接有連接環,所述連接環底部轉動連接有底支撐筒,所述處理固定筒內部固定連接有第一過濾板,該脫硫廢水處理裝置,輸送絞龍對底支撐筒底部的沉淀物進行攪動卷入清理框內部,當需要排出時,通過電動伸縮桿拉動密封罩進行下降,密封罩對清理框進行密封,從而使輸送絞龍進行通過與清理框和密封罩的內壁擠壓對沉淀物進行輸送通過輸送管輸送至連接環外部,人員通過在連接環外側設置收集箱進行承接,從而達到廢水脫硫的處理,后期通過處理出水管將脫硫的廢水進行排出。

權利要求書
1.一種脫硫廢水處理裝置,包括處理固定筒,其特征在于,所述處理固定筒的頂部固定連接有進水管,所述處理固定筒的底部轉動連接有連接環,所述連接環的底部轉動連接有底支撐筒,所述處理固定筒內部固定連接有第一過濾板,所述第一過濾板的底部設有固定板,所述第一過濾板的頂部設有用于清理的過濾組件;所述固定板的底部設多個攪拌筒,多個所述攪拌筒的頂部均固定連接有第一進管,所述第一進管貫穿所述固定板,并與所述固定板固定連接,所述攪拌筒的內部設有用于廢水混合的攪拌組件;所述底支撐筒的頂部設有用于對沉淀物刮除的清理組件。
2.根據權利要求1所述的一種脫硫廢水處理裝置,其特征在于,所述過濾組件包括第一轉動桿,所述第一轉動桿貫穿處理固定筒的頂部,并與所述處理固定筒轉動連接,所述第一轉動桿的外側固定連接有多個清理刮板,多個所述清理刮板均與所述第一過濾板相貼合,多個所述清理刮板的頂部均設有往復絲杠,多個所述往復絲杠的外側均轉動連接有支撐板,所述支撐板固定連接于所述清理刮板的頂部。
3.根據權利要求2所述的一種脫硫廢水處理裝置,其特征在于,所述過濾組件還包括多個推動刮板;多個所述往復絲杠分別貫穿所述支撐板,并與所述支撐板通過滾珠螺母副連接,所述推動刮板與所述清理刮板的外側相貼合;多個所述往復絲杠一端均固定連接有第二錐齒輪,所述第一轉動桿的外側設有固定筒,所述固定筒與所述處理固定筒的內部頂端固定連接,所述固定筒的底部固定連接有第一錐齒輪盤,所述第一錐齒輪盤與所述第二錐齒輪嚙合連接,所述處理固定筒的頂部固定連接有第一電機,所述第一電機的輸出端與所述第一轉動桿固定連接。
4.根據權利要求3所述的一種脫硫廢水處理裝置,其特征在于,所述處理固定筒的外側固定連接有多個連通收集框,所述處理固定筒的外側開設有通槽,所述連通收集框通過所述通槽與所述處理固定筒相通,多個所述連通收集框的頂部均固定連接有第二過濾板,所述處理固定筒的外側轉動連接有傳動盤,所述傳動盤穿過多個所述連通收集框,所述傳動盤的頂部均開設有與多個所述第二過濾板一一對應的流槽,所述第二過濾板的兩側均設有推動板,所述推動板與所述傳動盤固定連接,多個所述連通收集框的外側均固定連接有收集框,所述傳動盤的外側固定連接有多個握持板,所述連通收集框的底部固定連接有連通管,所述連通管與所述處理固定筒固定連通。
5.根據權利要求1所述的一種脫硫廢水處理裝置,其特征在于,所述攪拌組件包括第二絲杠,所述第二絲杠貫穿所述攪拌筒的底部,并與所述攪拌筒轉動連接,所述第二絲杠的外側通過滾珠螺母副連接有升降板,所述升降板的頂部開設有多個流通槽,所述流通槽內部設有支撐桿,所述支撐桿的頂部固定連接有固定架,所述支撐桿的底部固定連接有下密封板,所述升降板與所述攪拌筒之間固定連接有多個伸縮桿,所述攪拌筒的底部固定連接有第二電機,所述第二電機的輸出端與所述第二絲杠固定連接。
6.根據權利要求5所述的一種脫硫廢水處理裝置,其特征在于,所述攪拌組件還包括轉動盤,所述轉動盤套設于所述第二絲杠的外側,所述第二絲杠的外側開設有限位槽,所述轉動盤的內部固定連接有凸塊,所述凸塊延伸至所述限位槽內部,并與所述第二絲杠滑動連接,所述轉動盤的外側固定連接有多個攪拌板,所述轉動盤的底部轉動連接有轉動連接環,所述轉動連接環的底部固定連接有固定桿,所述固定桿與所述升降板固定連接。
7.根據權利要求6所述的一種脫硫廢水處理裝置,其特征在于,所述攪拌筒的底部固定有第二出管,所述第二出管和所述第一進管的外側均設有控制閥,多個所述攪拌筒的外側均設有添加箱,所述添加箱固定連接于所述處理固定筒的外側,所述添加箱的內部設置有輸送泵,輸送泵的輸出端連接有添加管,所述添加管與所述攪拌筒固定連通。
8.根據權利要求1所述的一種脫硫廢水處理裝置,其特征在于,所述清理組件包括轉動支桿,所述轉動支桿貫穿所述底支撐筒,并與所述底支撐筒轉動連接,所述轉動支桿的外側固定連接有多個清理框,多個所述清理框的內部均轉動連接有輸送絞龍,所述清理框與所述連接環之間固定連接有輸送管,所述輸送管的外側設置有控制閥,所述輸送絞龍的一端固定連接有第三錐齒輪;多個所述第三錐齒輪之間嚙合連接有第四錐齒輪,所述第四錐齒輪固定連接于所述底支撐筒內部底端,所述第四錐齒輪套設于所述轉動支桿的外側。
9.根據權利要求8所述的一種脫硫廢水處理裝置,其特征在于,所述清理組件還包括多個密封罩,多個所述密封罩分別設置于多個所述清理框的頂部,所述密封罩與所述清理框之間固定連接有電動伸縮桿,所述密封罩的外側開設有進料槽,所述底支撐筒的底部固定連接有第三電機,所述第三電機的輸出端與所述轉動支桿固定連接。
10.根據權利要求1所述的一種脫硫廢水處理裝置,其特征在于,所述底支撐筒底部固定連接有處理出水管,所述處理出水管的外側安裝有控制閥。
發明內容
本發明的目的就在于為了解決上述問題而提供一種脫硫廢水處理裝置,以解決現有技術中常規的脫硫廢水處理裝置在工作過程中,工作人員需要對絮凝劑和金屬沉降劑等凈化劑進行投放工作,且輸送工作為一次性投放,無法使絮凝劑和金屬沉降劑等凈化劑與廢水進行充分反應的問題。
本發明通過以下技術方案予以實現:一種脫硫廢水處理裝置,包括處理固定筒,處理固定筒的頂部固定連接有進水管,處理固定筒的底部轉動連接有連接環,連接環的底部轉動連接有底支撐筒,處理固定筒內部固定連接有第一過濾板,第一過濾板的底部設有固定板,第一過濾板的頂部設有用于清理的過濾組件;
固定板的底部設多個攪拌筒,多個攪拌筒的頂部均固定連接有第一進管,第一進管貫穿固定板,并與固定板固定連接,攪拌筒的內部設有用于廢水混合的攪拌組件;
底支撐筒的頂部設有用于對沉淀物刮除的清理組件。
在其中一些實施例中,過濾組件包括第一轉動桿,第一轉動桿貫穿處理固定筒的頂部,并與處理固定筒轉動連接,第一轉動桿的外側固定連接有多個清理刮板,多個清理刮板均與第一過濾板相貼合,多個清理刮板的頂部均設有往復絲杠,多個往復絲杠的外側均轉動連接有支撐板,支撐板固定連接于清理刮板的頂部。
在其中一些實施例中,過濾組件還包括多個推動刮板;多個往復絲杠分別貫穿支撐板,并與支撐板通過滾珠螺母副連接,推動刮板與清理刮板的外側相貼合;多個往復絲杠一端均固定連接有第二錐齒輪,第一轉動桿的外側設有固定筒,固定筒與處理固定筒的內部頂端固定連接,固定筒的底部固定連接有第一錐齒輪盤,第一錐齒輪盤與第二錐齒輪嚙合連接,處理固定筒的頂部固定連接有第一電機,第一電機的輸出端與第一轉動桿固定連接。
在其中一些實施例中,處理固定筒的外側固定連接有多個連通收集框,處理固定筒的外側開設有通槽,連通收集框通過通槽與處理固定筒相通,多個連通收集框的頂部均固定連接有第二過濾板,處理固定筒的外側轉動連接有傳動盤,傳動盤穿過多個連通收集框,傳動盤的頂部均開設有與多個第二過濾板一一對應的流槽,第二過濾板的兩側均設有推動板,推動板與傳動盤固定連接,多個連通收集框的外側均固定連接有收集框,傳動盤的外側固定連接有多個握持板,連通收集框的底部固定連接有連通管,連通管與處理固定筒固定連通。
在其中一些實施例中,攪拌組件包括第二絲杠,第二絲杠貫穿攪拌筒的底部,并與攪拌筒轉動連接,第二絲杠的外側通過滾珠螺母副連接有升降板,升降板的頂部開設有多個流通槽,流通槽內部設有支撐桿,支撐桿的頂部固定連接有固定架,支撐桿的底部固定連接有下密封板,升降板與攪拌筒之間固定連接有多個伸縮桿,攪拌筒的底部固定連接有第二電機,第二電機的輸出端與第二絲杠固定連接。
在其中一些實施例中,攪拌組件還包括轉動盤,轉動盤套設于第二絲杠的外側,第二絲杠的外側開設有限位槽,轉動盤的內部固定連接有凸塊,凸塊延伸至限位槽內部,并與第二絲杠滑動連接,轉動盤的外側固定連接有多個攪拌板,轉動盤的底部轉動連接有轉動連接環,轉動連接環的底部固定連接有固定桿,固定桿與升降板固定連接。
在其中一些實施例中,攪拌筒的底部固定有第二出管,第二出管和第一進管的外側均設有控制閥,多個攪拌筒的外側均設有添加箱,添加箱固定連接于處理固定筒的外側,添加箱的內部設置有輸送泵,輸送泵的輸出端連接有添加管,添加管與攪拌筒固定連通。
在其中一些實施例中,清理組件包括轉動支桿,轉動支桿貫穿底支撐筒,并與底支撐筒轉動連接,轉動支桿的外側固定連接有多個清理框,多個清理框的內部均轉動連接有輸送絞龍,清理框與連接環之間固定連接有輸送管,輸送管的外側設置有控制閥,輸送絞龍的一端固定連接有第三錐齒輪;多個第三錐齒輪之間嚙合連接有第四錐齒輪,第四錐齒輪固定連接于底支撐筒內部底端,第四錐齒輪套設于轉動支桿的外側。
在其中一些實施例中,清理組件還包括多個密封罩,多個密封罩分別設置于多個清理框的頂部,密封罩與清理框之間固定連接有電動伸縮桿,密封罩的外側開設有進料槽,底支撐筒的底部固定連接有第三電機,第三電機的輸出端與轉動支桿固定連接。
在其中一些實施例中,底支撐筒底部固定連接有處理出水管,處理出水管的外側安裝有控制閥。
本發明提供了一種脫硫廢水處理裝置,其具備的有益效果如下:
1、該脫硫廢水處理裝置,在清理刮板上設置有往復絲杠,通過往復絲杠與第一錐齒輪盤嚙合連接,使第二錐齒輪帶動往復絲杠進行轉動,往復絲杠帶動外側的推動刮板進行轉動,推動刮板在清理刮板上移動,將清理刮板表面的過濾進行刮除,使其通過通槽推入連通收集框內部,并通過連通收集框內部固定連接的第二過濾板對其進行過濾處理,過濾出來的水重新通過連通管注入固定板頂部,當需要對傳動盤頂部的過濾處理時,人員通過轉動傳動盤,使傳動盤上的推動板推動第二過濾板上的過濾,使過濾物隨著傳動盤轉動落入收集框內部進行收集處理。
2、該脫硫廢水處理裝置,啟動添加箱內部的輸送泵,將添加劑注入通過添加管輸送至攪拌筒內部,使添加劑與廢水充分結合,使廢水中的硫進行沉淀,隨著升降板的下降,第二絲杠通過凸塊帶動轉動盤進行轉動,轉動盤帶動攪拌板進行轉動,并通過轉動連接環和固定桿拉動轉動盤隨著升降板一起進行下降,將添加劑與廢水進行充分混合,精準控制,使廢水中的硫化物進行沉淀,當混合后,通過啟動第二出管并反轉第二絲杠,升降板向上移動,廢水通過流通槽流出,留置底支撐筒和連接環內部進行靜止沉淀。
3、該脫硫廢水處理裝置,啟動轉動支桿,轉動支桿帶動清理框進行轉動,清理框內部的輸送絞龍通過第三錐齒輪與第四錐齒輪嚙合,使輸送絞龍進行轉動,輸送絞龍對底支撐筒底部的沉淀物進行攪動卷入清理框內部,當需要排出時,通過電動伸縮桿拉動密封罩進行下降,密封罩對清理框進行密封,從而使輸送絞龍進行通過與清理框和密封罩的內壁擠壓對沉淀物進行輸送通過輸送管輸送至連接環外部,人員通過在連接環外側設置收集箱進行承接,從而達到廢水脫硫的處理,后期通過處理出水管將脫硫的廢水進行排出。
(發明人:郭樹軍)






