公布日:2023.12.29
申請日:2023.09.01
分類號:C02F11/04(2006.01)I;B01D63/08(2006.01)I;B01D65/02(2006.01)I
摘要
本發明公開了一種強化升流流速的AnDMBR動態膜分離器及系統,包括分離器本體和動態膜組件;分離器本體包括固定支架、設于固定支架上的進泥罐體、過渡罐體和動態膜分離罐體;進泥罐體的側面設有進泥口,該進泥罐體的底部排泥口;動態膜分離罐體的側面設有循環污泥出口,該動態膜分離罐體頂部設有第一沼氣出口、膜出水口和循環沼氣入口;動態膜組件設于動態膜分離罐體內,其包括分離式膜框架、設于分離式膜框架內部的多個平板膜和設于平板膜下方的可拆卸式曝氣管。本發明能有效避免動態膜分離區內死區的形成,便于平板膜和可拆卸式曝氣管的更換,減少運行管理成本,為AnDMBR反應器的長期穩定運行提供技術保障。

權利要求書
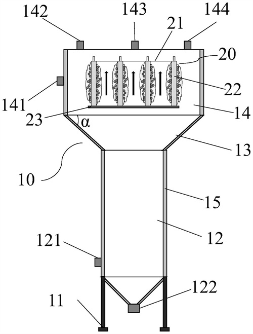
1.一種強化升流流速的AnDMBR動態膜分離器,其特征在于,包括分離器本體以及設于所述分離器本體內的動態膜組件;所述分離器本體包括固定支架、設于所述固定支架上的進泥罐體、設于所述進泥罐體上方的過渡罐體以及設于所述過渡罐體上方的動態膜分離罐體;所述進泥罐體的側面設有與厭氧消化主反應器連通的進泥口,該進泥罐體的底部排泥口;所述動態膜分離罐體的側面設有與厭氧消化主反應器連通的循環污泥出口,該動態膜分離罐體頂部設有第一沼氣出口、膜出水口以及循環沼氣入口;所述進泥罐體與所述動態膜分離罐體均為圓柱體形;所述進泥罐體的直徑小于所述動態膜分離罐體的直徑;所述動態膜組件設于所述動態膜分離罐體內;該動態膜組件包括分離式膜框架、設于所述分離式膜框架內部的多個平板膜以及設于所述平板膜下方的可拆卸式曝氣管。
2.根據權利要求1所述的強化升流流速的AnDMBR動態膜分離器,其特征在于,所述過渡罐體為圓臺形。
3.根據權利要求2所述的強化升流流速的AnDMBR動態膜分離器,其特征在于,所述過渡罐體的側面傾角α為30~60°。
4.根據權利要求1所述的強化升流流速的AnDMBR動態膜分離器,其特征在于,所述動態膜分離罐體的直徑與所述進泥罐體的直徑比為1.1~1.5:1。
5.根據權利要求4所述的強化升流流速的AnDMBR動態膜分離器,其特征在于,所述動態膜分離罐體的直徑與高度的比值為1:0.5~1;和/或所述進泥罐體的直徑與高度的比值為1:2~3。
6.根據權利要求4所述的強化升流流速的AnDMBR動態膜分離器,其特征在于,所述動態膜分離罐體的橫截面面積為所述進泥罐體的橫截面面積的1.2~2倍。
7.根據權利要求1所述的強化升流流速的AnDMBR動態膜分離器,其特征在于,所述進泥罐體底部設置的排泥口呈圓錐形。
8.根據權利要求1所述的強化升流流速的AnDMBR動態膜分離器,其特征在于,所述可拆卸式曝氣管通過沼氣循環管與所述循環沼氣入口連通,該可拆卸式曝氣管的下方設有多個導氣孔。
9.根據權利要求1所述的強化升流流速的AnDMBR動態膜分離器,其特征在于,所述分離器本體外部設置有水浴保溫層。
10.一種強化升流流速的厭氧生物反應器系統,其特征在于,包括權利1~9任一項所述的強化升流流速的AnDMBR動態膜分離器。
發明內容
針對現有技術中存在的上述缺陷,本發明的目的是提供一種強化升流流速的AnDMBR動態膜分離器及系統,通過優化構型設計,采用上寬下窄的分離器本體來強化污泥的升流流速,并搭載內部集成可拆卸式平板膜以及可拆卸式曝氣管的動態膜組件,從而有效避免動態膜分離區內死區的形成,便于可拆卸式平板膜和可拆卸式曝氣管的更換,減少運行管理成本,為AnDMBR反應器的長期穩定運行提供技術保障。
為實現上述目的,本發明采用如下技術方案:
本發明的第一方面提供了一種強化升流流速的AnDMBR動態膜分離器,包括分離器本體以及設于所述分離器本體內的動態膜組件;
所述分離器本體包括固定支架、設于所述固定支架上的進泥罐體、設于所述進泥罐體上方的過渡罐體以及設于所述過渡罐體上方的動態膜分離罐體;所述進泥罐體的側面設有與厭氧消化主反應器連通的進泥口,該進泥罐體的底部排泥口;所述動態膜分離罐體的側面設有與厭氧消化主反應器連通的循環污泥出口,該動態膜分離罐體頂部設有第一沼氣出口、膜出水口以及循環沼氣入口;所述進泥罐體與所述動態膜分離罐體均為圓柱體形;所述進泥罐體的直徑小于所述動態膜分離罐體的直徑;
所述動態膜組件設于所述動態膜分離罐體內;該動態膜組件包括分離式膜框架、設于所述分離式膜框架內部的多個平板膜以及設于所述平板膜下方的可拆卸式曝氣管。
優選地,所述過渡罐體為圓臺形。
優選地,所述過渡罐體的側面傾角α為30~60°。
優選地,所述動態膜分離罐體的直徑與所述進泥罐體的直徑比為1.1~1.5:1。
優選地,所述動態膜分離罐體的直徑與高度的比值為1:0.5~1;和/或
所述進泥罐體的直徑與高度的比值為1:2~3。
優選地,所述動態膜分離罐體的橫截面面積為所述進泥罐體的橫截面面積的1.2~2倍。
優選地,所述進泥罐體底部設置的排泥口呈圓錐形。
優選地,所述可拆卸式曝氣管通過沼氣循環管與所述循環沼氣入口連通,該可拆卸式曝氣管的下方設有多個導氣孔。
優選地,所述分離器本體外部設置有水浴保溫層。
本發明的第二方面提供了一種強化升流流速的厭氧生物反應器系統,包括本發明第一方面所述的強化升流流速的AnDMBR動態膜分離器。
本發明所提供的一種強化升流流速的AnDMBR動態膜分離器及系統,還具有以下幾點有益效果:
1、本發明的強化升流流速的AnDMBR動態膜分離器及系統,通過優化構型設計,采用上寬下窄的分離器本體來強化污泥的升流流速,并搭載內部集成可拆卸式平板膜以及可拆卸式曝氣管的動態膜組件,從而有效避免動態膜分離區內死區的形成,便于可拆卸式平板膜和可拆卸式曝氣管的更換,減少運行管理成本,為AnDMBR反應器的長期穩定運行提供技術保障;
2、本發明的強化升流流速的AnDMBR動態膜分離器及系統,通過優化構型設計,可強化膜區內的污泥升流流速,減小死區體積,使得反應器內污泥濃度分布更為均勻;
3、本發明的強化升流流速的AnDMBR動態膜分離器及系統,有效解決了AnDMBR膜區污泥濃度分布不均的問題,且僅通過簡單開蓋即可對膜組件及曝氣管進行更換;
4、本發明的強化升流流速的AnDMBR動態膜分離器及系統,設置AnDMBR動態膜區與主反應區對連,在二者之間建立污泥相向流動管路實現主反應區與膜區的污泥循環,并利用上寬下窄的動態膜分離本體強化污泥的升流流速,對膜區容積予以有效利用,內部集成了易于更換的平板膜、膜框架和可拆卸式曝氣管等,可促進污泥濃度的均勻分布,有助于反應器的長期穩定運行,且便于反應器的維護檢修。
(發明人:楊戌雷;呂燕;朱明瑞;翟羽;黃曉俊;王志偉;吳煒;周博;戴若彬;王雪野)






