公布日:2023.10.17
申請日:2023.08.15
分類號:C02F1/40(2023.01)I
摘要
本發明提供了一種污水表面浮油吸收分離系統及方法。系統包括:真空泵;中間罐,設置為與污水池管路連通并在上部連接至所述真空泵;油水分離罐,設置為與所述中間罐管路連通并包含油污分離池,其中所述油污分離池被分離隔板分隔為油水混合池和油污池,所述油污池的下部設置有油污出口;以及管路機構,包含實現管路連通的管路部件。本發明提供的污水表面浮油吸收分離系統,通過真空泵及閥組控制負壓吸入油水混合物和進行二次油水分離處理,采用負壓吸入的方式避免固體雜質損壞高速運行的葉片,實現油水分離。

權利要求書
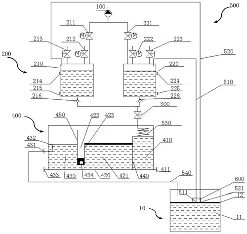
1.一種污水表面浮油吸收分離系統,其特征在于,包括:真空泵(100);中間罐(200),設置為與污水池(10)管路連通并在上部連接至所述真空泵(100);油水分離罐(400),設置為與所述中間罐(200)管路連通并包含油污分離池(420),其中所述油污分離池(420)被分離隔板(423)分隔為油水混合池(421)和油污池(422),所述油污池(422)的下部設置有油污出口;以及管路機構(500),包含實現管路連通的管路部件。
2.根據權利要求1所述的系統,其特征在于,所述中間罐(200)的數量為多個。
3.根據權利要求1或2所述的系統,其特征在于,所述中間罐(200)包含:罐體;控制閥,安裝于所述罐體和所述真空泵(100)之間的管路上;調節閥,安裝于所述罐體的內部通向外部環境的開口處;水位檢測開關,包含設置于所述罐體側壁的上水位檢測開關和/或下水位檢測開關;以及流量控制閥(300),安裝于所述罐體和所述油水分離罐(400)之間的管路上。
4.根據權利要求1所述的系統,其特征在于,所述油水分離罐(400)還包含進液池(410),其中,所述進液池(410)與所述油污分離池(420)的所述油水混合池(421)之間通過第一隔板(440)分隔,所述第一隔板(440)的高度大于所述分離隔板(423)的高度;來自所述中間罐(200)的油水混合液流入所述進液池(410);所述進液池(410)的底部設置有第一油污出口,所述第一油污出口安裝有第一排污閥(411)。
5.根據權利要求1或4所述的系統,其特征在于,所述油水分離罐(400)還包含清水池(430),其中,所述清水池(430)與所述油污分離池(420)的所述油污池(422)之間通過第二隔板(450)分隔,所述第二隔板(450)的高度大于所述分離隔板(423)的高度;所述清水池(430)與所述油污分離池(420)的所述油水混合池(421)在低于所述第二隔板(450)的高度處連通;所述清水池(430)的側壁設置有清水出口(431);所述清水池(430)的底部設置有第二油污出口,所述第二油污出口安裝有第二排污閥(424)。
6.根據權利要求5所述的系統,其特征在于,所述清水池(430)內設置有清水高度調節機構(432),包含:固定彎管(4321),一端連接至所述清水出口(431),另一端朝向清水液面方向開口;調節管(4322),一端連接至所述固定彎管(4321)朝向液面的開口,另一端的開口與所述清水液面齊平;以及橡膠圈(4323),設置為密封連接所述固定彎管(4321)和所述調節管(4322),并使得所述調節管(4322)相對于所述固定彎管(4321)在垂直于所述清水液面的方向上可滑動。
7.根據權利要求1所述的系統,其特征在于,所述系統還包含漂浮于所述污水池(10)液面上的浮島(600),所述管路機構(500)包含連通所述污水池(10)和所述中間罐(200)的吸油管,其中,所述吸油管連接所述污水池(10)的一端安裝于所述浮島(600)上。
8.根據權利要求5所述的系統,其特征在于,所述管路機構(500)包含:出水管(530),設置為連通所述中間罐(200)至所述油水分離罐(400)并具有至少一部分呈螺旋狀;以及回流管(540),設置為連通所述清水出口(431)至所述污水池(10)。
9.一種使用權利要求1-8任一項所述的污水表面浮油吸收分離系統吸收分離污水表面浮油的方法,其特征在于,包含以下步驟:步驟S1,啟動真空泵(100),當中間罐(200)內真空度達到預定值時吸入污水池(10)內的油水混合液;步驟S2,響應于所述中間罐(200)內液面到達預定高度,使所述油水混合液流入油水分離罐(400);以及步驟S3,浮油越過分離隔板(423)流入油污池(422),并從油污出口流出,實現油水分離。
10.根據權利要求9所述的方法,其特征在于,所述步驟S2包含:響應于上水位檢測開關檢測到所述中間罐(200)內液面到達預定高度,關閉控制閥并打開調節閥,使所述油水混合液自動流入所述油水分離罐(400)。
發明內容
本發明提供一種污水表面浮油吸收分離系統及方法,通過真空泵及閥組控制負壓吸入油水混合物和進行二次油水分離處理,采用負壓吸入的方式避免固體雜質損壞高速運行的葉片,實現油水分離。
為了解決上述技術問題中的至少一項,本發明采用以下技術方案:
依據本發明,提供一種污水表面浮油吸收分離系統,包括:真空泵;中間罐,設置為與污水池管路連通并在上部連接至所述真空泵;油水分離罐,設置為與所述中間罐管路連通并包含油污分離池,其中所述油污分離池被分離隔板分隔為油水混合池和油污池,所述油污池的下部設置有油污出口;以及管路機構,包含實現管路連通的管路部件。
依據本發明的一個實施例,所述中間罐的數量為多個。
依據本發明的一個實施例,所述中間罐包含:罐體;控制閥,安裝于所述罐體和所述真空泵之間的管路上;調節閥,安裝于所述罐體的內部通向外部環境的開口處;水位檢測開關,包含設置于所述罐體側壁的上水位檢測開關和/或下水位檢測開關;以及流量控制閥,安裝于所述罐體和所述油水分離罐之間的管路上。
依據本發明的一個實施例,所述油水分離罐還包含進液池,其中,所述進液池與所述油污分離池的所述油水混合池之間通過第一隔板分隔,所述第一隔板的高度大于所述分離隔板的高度;來自所述中間罐的油水混合液流入所述進液池;所述進液池的底部設置有第一油污出口,所述第一油污出口安裝有第一排污閥。
依據本發明的一個實施例,所述油水分離罐還包含清水池,其中,所述清水池與所述油污分離池的所述油污池之間通過第二隔板分隔,所述第二隔板的高度大于所述分離隔板的高度;所述清水池與所述油污分離池的所述油水混合池在低于所述第二隔板的高度處連通;所述清水池的側壁設置有清水出口;所述清水池的底部設置有第二油污出口,所述第二油污出口安裝有第二排污閥。
依據本發明的一個實施例,所述清水池內設置有清水高度調節機構,包含:固定彎管,一端連接至所述清水出口,另一端朝向清水液面方向開口;調節管,一端連接至所述固定彎管朝向液面的開口,另一端的開口與所述清水液面齊平;以及橡膠圈,設置為密封連接所述固定彎管和所述調節管,并使得所述調節管相對于所述固定彎管在垂直于所述清水液面的方向上可滑動。
依據本發明的一個實施例,所述系統還包含漂浮于所述污水池液面上的浮島,所述管路機構包含連通所述污水池和所述中間罐的吸油管,其中,所述吸油管連接所述污水池的一端安裝于所述浮島上。
依據本發明的一個實施例,所述管路機構包含:出水管,設置為連通所述中間罐至所述油水分離罐并具有至少一部分呈螺旋狀;以及回流管,設置為連通所述清水出口至所述污水池。
依據本發明,提供一種使用上述污水表面浮油吸收分離系統吸收分離污水表面浮油的方法,包含以下步驟:步驟S1,啟動真空泵,當中間罐內真空度達到預定值時吸入污水池內的油水混合液;步驟S2,響應于所述中間罐內液面到達預定高度,使所述油水混合液流入油水分離罐;以及步驟S3,浮油越過分離隔板流入油污池,并從油污出口流出,實現油水分離。
依據本發明的一個實施例,所述步驟S2包含:響應于上水位檢測開關檢測到所述中間罐內液面到達預定高度,關閉控制閥并打開調節閥,使所述油水混合液自動流入所述油水分離罐。
由于采用以上技術方案,可連續或定時處理污水池內的表面油污,并實現油水分離,相比于傳統的吸油泵至少具有以下優點:
1)通過真空泵及閥組控制負壓吸入油水混合物和進行二次油水分離處理,采用負壓吸入的方式避免固體雜質損壞高速運行的葉片,實現油水分離;
2)可實現對含有較多固體雜質的油水混合物的處理,吸口更靠近于液面吸混合物中水含量更少,可實現對氣泡型表面油污的吸入;
3)通過相關閥門開度調節可實現對物料吸入流量及排出流量的無極調節;
4)采用雙罐順序吸入實現連續或定時處理污水池內的表面油污;
5)設備揚程約4-5m,分離處理后的廢油可通過壓縮空氣打進密封罐體打到指定高度,實現低洼處污水處理;
6)污水池內吸油口需調節到貼近水面,更好的吸收浮油;
7)中間罐下部螺旋形出水管進入進液池后形成旋流場減緩水流沖擊更有利于油水分離;
8)下位油水分離罐排水口高度可調,從而調節箱體內水位液面,從而調節油污排出口油水比例。
(發明人:賈子松;彭宏亮;曹樹森;劉應東)






