公布日:2023.03.14
申請日:2022.10.24
分類號:C22B15/00(2006.01)I;C22B7/00(2006.01)I
摘要
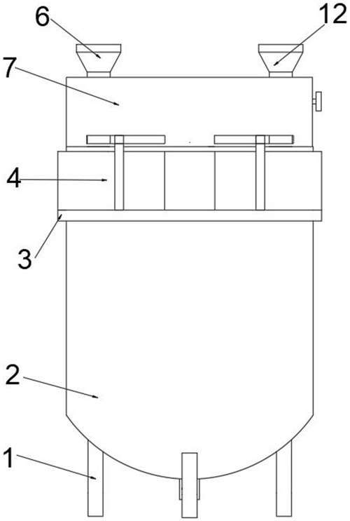
本發明公開了酸洗銅廢水中銅重金屬的提煉裝置及方法,包括支撐腿、頂罩、電機、側板、轉動柱、絲桿、連接柱、轉動軸、第三連接桿、支撐塊、底板、限位筒、底桿、刮桿、內套筒和外套筒,所述支撐腿的頂端分別固定連接在箱體的底端四角位置處,同時箱體的底端中心處嵌入安裝有出料管,同時出料管上設置有閥門,箱體的外部頂端套接固定有擋圈,該發明,通過利用設置的弧形板與箱體的貼合,且利用設置的擋圈對弧形板起到支撐的作用,便于將箱體與安裝板分離,從而使箱體的內壁以及與廢水接觸的第三連接桿、刮桿、底桿和轉動軸裸露在表面,有利于對易損壞零件進行維修,進而便于維護工作,且提高了工作效率。

權利要求書
1.酸洗銅廢水中銅重金屬的提煉裝置,包括支撐腿(1)、頂罩(7)、電機(10)、側板(11)、轉動柱(13)、絲桿(14)、連接柱(15)、轉動軸(17)、第三連接桿(18)、支撐塊(19)、底板(20)、限位筒(21)、底桿(22)、刮桿(23)、內套筒(29)和外套筒(30),其特征在于:所述支撐腿(1)的頂端分別固定連接在箱體(2)的底端四角位置處,同時箱體(2)的底端中心處嵌入安裝有出料管,同時出料管上設置有閥門,箱體(2)的外部頂端套接固定有擋圈(3),且擋圈(3)的頂端貼合有弧形板(4),同時弧形板(4)的一側與箱體(2)的外部頂端貼合,弧形板(4)的另一側固定連接有第一連接桿(5),且第一連接桿(5)的一端固定連接在L型桿(26)的一端,L型桿(26)的另一端穿過頂罩(7)上開設的通孔固定連接在滑塊(24)上,滑塊(24)上滑動連接有直線滑軌(28),同時直線滑軌(28)固定連接在分隔板(16)的兩側,且分隔板(16)水平固定連接在頂罩(7)的內部,且頂罩(7)的底端固定連接有安裝板(25),且安裝板(25)貼合連接有擋圈(3)的頂端。
2.根據權利要求1所述的酸洗銅廢水中銅重金屬的提煉裝置,其特征在于:所述安裝板(25)上分別嵌入安裝有進水管(6)和進藥管(12),且分隔板(16)和頂罩(7)分別與進水管(6)和進藥管(12)的連接處開設有通孔。
3.根據權利要求1所述的酸洗銅廢水中銅重金屬的提煉裝置,其特征在于:所述滑塊(24)的一側固定連接有固定座(27),且固定座(27)上鉸接有擺動桿(9)的一端,擺動桿(9)的另一端分別鉸接在連接柱(15)上,同時連接柱(15)通過轉動桿轉動連接在分隔板(16)的兩側,滑塊(24)的頂端固定連接有第二連接桿(8),且其中一個第二連接桿(8)上通過滾珠螺母配合連接有絲桿(14),絲桿(14)的一端穿過頂罩(7)上開設的通孔固定連接有轉動柱(13),絲桿(14)的另一端轉動連接在側板(11)上。
4.根據權利要求3所述的酸洗銅廢水中銅重金屬的提煉裝置,其特征在于:所述側板(11)的底端固定連接有分隔板(16),側板(11)的頂端固定連接在頂罩(7)上,分隔板(16)的頂端固定連接與電機(10),同時電機(10)位于兩個相互對應的側板(11)之間。
5.根據權利要求4所述的酸洗銅廢水中銅重金屬的提煉裝置,其特征在于:所述電機(10)的輸出端固定連接有轉動軸(17),且安裝板(25)和分隔板(16)與轉動軸(17)的連接處均設置有軸承,安裝板(25)的頂端固定連接有內套筒(29),內套筒(29)套接固定在外套筒(30)上。
6.根據權利要求5所述的酸洗銅廢水中銅重金屬的提煉裝置,其特征在于:所述轉動軸(17)上水平固定連接有第三連接桿(18),且第三連接桿(18)位于箱體(2)內,第三連接桿(18)的兩端固定連接有刮桿(23),同時刮桿(23)的一側與箱體(2)的內壁貼合。
7.根據權利要求6所述的酸洗銅廢水中銅重金屬的提煉裝置,其特征在于:所述轉動軸(17)的底端位于限位筒(21)內,同時限位筒(21)固定連接在底板(20)上,底板(20)的底端固定連接有支撐塊(19),且支撐塊(19)固定連接在底板(20)的內部底端,同時轉動軸(17)的底端固定連接有底桿(22),且底桿(22)位于限位筒(21)的上方。
8.酸洗銅廢水中銅重金屬的提煉方法,包括步驟一,轉移;步驟二,混合;步驟三,排放;步驟四,維護;其特征在于:其中上述步驟一中,將酸洗銅廢水通過設置的進水管(6)轉移至箱體(2)的內部,并且將絮凝藥物通過設置的進藥管(12)轉移至箱體(2)的內部;其中上述步驟二中,打開電機(10),通過電機(10)的工作帶動轉動軸(17)的轉動,且轉動軸(17)在轉動的過程中,由于底桿(22)、第三連接桿(18)和刮桿(23)均與轉動軸(17)相對固定連接,繼而利用轉動軸(17)的轉動帶動底桿(22)、第三連接桿(18)和刮桿(23)轉動,從而使藥物與酸洗銅廢水更好的混合處理;其中上述步驟三中,當混合處理完成后,即可關閉電機(10),隨后打開閥門使處理后的藥物與酸洗銅廢水混合物進行排放處理,隨后按照常規工藝完成對酸洗銅廢水中銅重金屬的提煉,當排放完成后,通過打開電機(10)帶動刮桿(23)的轉動,利用刮桿(23)的轉動對箱體(2)內壁附著的雜質進行清除處理,然后關閉電機(10)以及閥門即可;其中上述步驟四中,通過旋轉轉動柱(13)帶動絲桿(14)的轉動,進而帶動第二連接桿(8)的移動,且第二連接桿(8)上固定連接有滑塊(24),且滑塊(24)位于直線滑軌(28)上移動,同時隨著滑塊(24)的移動帶動擺動桿(9)的擺動以及連接柱(15)的轉動,從而帶動L型桿(26)、第一連接桿(5)和弧形板(4)的移動,從而使弧形板(4)與箱體(2)分離,然后使弧形板(4)與擋圈(3)分離,即可對該裝置進行維護處理,當維護完成后,將安裝板(25)放置在箱體(2)的頂端,然后反向旋轉轉動柱(13)帶動絲桿(14)的反向轉動,從而使弧形板(4)與箱體(2)貼合,此時弧形板(4)與箱體(2)之間相對固定,然后即可停止轉動柱(13)的轉動。
發明內容
本發明的目的在于提供酸洗銅廢水中銅重金屬的提煉裝置及方法,以解決上述背景技術中提出的問題。
為實現上述目的,本發明提供如下技術方案:酸洗銅廢水中銅重金屬的提煉裝置,包括支撐腿、箱體、擋圈、弧形板、第一連接桿、進水管、頂罩、第二連接桿、擺動桿、電機、側板、進藥管、轉動柱、絲桿、連接柱、分隔板、轉動軸、第三連接桿、支撐塊、底板、限位筒、底桿、刮桿、滑塊、安裝板、L型桿、固定座、直線滑軌、內套筒和外套筒,所述支撐腿的頂端分別固定連接在箱體的底端四角位置處,同時箱體的底端中心處嵌入安裝有出料管,同時出料管上設置有閥門,箱體的外部頂端套接固定有擋圈,且擋圈的頂端貼合有弧形板,同時弧形板的一側與箱體的外部頂端貼合,弧形板的另一側固定連接有第一連接桿,且第一連接桿的一端固定連接在L型桿的一端,L型桿的另一端穿過頂罩上開設的通孔固定連接在滑塊上,滑塊上滑動連接有直線滑軌,同時直線滑軌固定連接在分隔板的兩側,且分隔板水平固定連接在頂罩的內部,且頂罩的底端固定連接有安裝板,且安裝板貼合連接有擋圈的頂端。
優選的,所述安裝板上分別嵌入安裝有進水管和進藥管,且分隔板和頂罩分別與進水管和進藥管的連接處開設有通孔。
優選的,所述滑塊的一側固定連接有固定座,且固定座上鉸接有擺動桿的一端,擺動桿的另一端分別鉸接在連接柱上,同時連接柱通過轉動桿轉動連接在分隔板的兩側,滑塊的頂端固定連接有第二連接桿,且其中一個第二連接桿上通過滾珠螺母配合連接有絲桿,絲桿的一端穿過頂罩上開設的通孔固定連接有轉動柱,絲桿的另一端轉動連接在側板上。
優選的,所述側板的底端固定連接有分隔板,側板的頂端固定連接在頂罩上,分隔板的頂端固定連接與電機,同時電機位于兩個相互對應的側板之間。
優選的,所述電機的輸出端固定連接有轉動軸,且安裝板和分隔板與轉動軸的連接處均設置有軸承,安裝板的頂端固定連接有內套筒,內套筒套接固定在外套筒上。
優選的,所述轉動軸上水平固定連接有第三連接桿,且第三連接桿位于箱體內,第三連接桿的兩端固定連接有刮桿,同時刮桿的一側與箱體的內壁貼合。
優選的,所述轉動軸的底端位于限位筒內,同時限位筒固定連接在底板上,底板的底端固定連接有支撐塊,且支撐塊固定連接在底板的內部底端,同時轉動軸的底端固定連接有底桿,且底桿位于限位筒的上方。
酸洗銅廢水中銅重金屬的提煉方法,包括步驟一,轉移;步驟二,混合;步驟三,排放;步驟四,維護;
其中上述步驟一中,將酸洗銅廢水通過設置的進水管轉移至箱體的內部,并且將絮凝藥物通過設置的進藥管轉移至箱體的內部;
其中上述步驟二中,打開電機,通過電機的工作帶動轉動軸的轉動,且轉動軸在轉動的過程中,由于底桿、第三連接桿和刮桿均與轉動軸相對固定連接,繼而利用轉動軸的轉動帶動底桿、第三連接桿和刮桿轉動,從而使藥物與酸洗銅廢水更好的混合處理;
其中上述步驟三中,當混合處理完成后,即可關閉電機,隨后打開閥門使處理后的藥物與酸洗銅廢水混合物進行排放處理,隨后按照常規工藝完成對酸洗銅廢水中銅重金屬的提煉,當排放完成后,通過打開電機帶動刮桿的轉動,利用刮桿的轉動對箱體內壁附著的雜質進行清除處理,然后關閉電機以及閥門即可;
其中上述步驟四中,通過旋轉轉動柱帶動絲桿的轉動,進而帶動第二連接桿的移動,且第二連接桿上固定連接有滑塊,且滑塊位于直線滑軌上移動,同時隨著滑塊的移動帶動擺動桿的擺動以及連接柱的轉動,從而帶動L型桿、第一連接桿和弧形板的移動,從而使弧形板與箱體分離,然后使弧形板與擋圈分離,即可對該裝置進行維護處理,當維護完成后,將安裝板放置在箱體的頂端,然后反向旋轉轉動柱帶動絲桿的反向轉動,從而使弧形板與箱體貼合,此時弧形板與箱體之間相對固定,然后即可停止轉動柱的轉動。
與現有技術相比,本發明的有益效果是:該發明,通過利用設置的弧形板與箱體的貼合,且利用設置的擋圈對弧形板起到支撐的作用,通過該中方式使該裝置組合形成一個整體,便于將箱體與安裝板分離,從而使箱體的內壁以及與廢水接觸的第三連接桿、刮桿、底桿和轉動軸進行裸露,有利于對易損壞零件進行維修,進而便于維護工作,且提高了工作效率;同時利用設置的刮桿,便于對箱體內壁附著的雜質進行清除。
(發明人:黎三明;姚磊;宋麗芳)






