公布日:2023.10.17
申請日:2023.08.01
分類號:B01D33/42(2006.01)I;B01D33/03(2006.01)I;B01D33/76(2006.01)I;B01D33/80(2006.01)I;C02F11/18(2006.01)I;C02F9/00(2023.01)I;C02F1/00(2023.01)N;C02F1/
28(2023.01)N;C02F1/78(2023.01)N;C02F1/52(2023.01)N
摘要
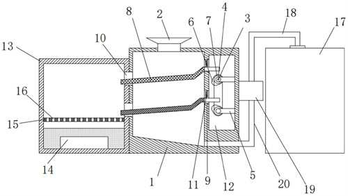
本發明提供了一種醫療污水處理系統,涉及醫療污水處理技術領域,包括箱體一,所述箱體一一端與雜質收集裝置連接,箱體一另一端與污水處理裝置連接,且所述箱體一內設有雜質分離機構。通過設置雜質分離機構分離雜質后輸入雜質收集裝置中進行處理,有效的解決了現有污水處理設備在處理雜質物時一般需要先對雜質物進行分離,然后使用單獨的設備進行雜質物處理的技術問題。

權利要求書
1.一種醫療污水處理系統,其特征在于,包括箱體一(1),所述箱體一(1)一端與雜質收集裝置連接,箱體一(1)另一端與污水處理裝置連接,且所述箱體一(1)內設有雜質分離機構。
2.根據權利要求1所述的一種醫療污水處理系統,其特征在于,所述雜質分離機構包括兩組上下間隔布置的過濾組件,所述過濾組件包括:過濾板(8),所述過濾板(8)右端上下滑動連接在箱體一(1)內的滑槽(9)內,復位彈簧(11)一端固定安裝在滑槽(9)內壁上,復位彈簧(11)另一端固定安裝在過濾板(8)上。
3.根據權利要求2所述的一種醫療污水處理系統,其特征在于,進料口(2)固定安裝在箱體一(1)頂端,所述雜質分離機構還包括:驅動電機一(3),箱體一(1)右側設有腔體一(12),驅動電機一(3)固定安裝在腔體一(12)后端,且驅動電機一(3)的輸出軸與上下對稱的兩組驅動組件連接,兩組驅動組件分別用于驅動兩個過濾板(8)右部上下運動。
4.根據權利要求3所述的一種醫療污水處理系統,其特征在于,所述驅動組件包括:轉軸一(4),轉軸一(4)的轉動連接在短桿一(5)一端,短桿一(5)另一端固定安裝在腔體一(12)右端內壁上,且轉軸一(4)上固定安裝有凸輪(6)和皮帶輪一(7);一個所述轉軸一(4)一端固定安裝在驅動電機一(3)的輸出軸上,兩個驅動組件的皮帶輪一(7)之間通過第一皮帶連接;過濾板(8)右側底端與凸輪(6)接觸,所述過濾板(8)左側貫穿通孔一(10)與雜質收集裝置連接。
5.根據權利要求1所述的一種醫療污水處理系統,其特征在于,所述雜質收集裝置包括:箱體二(13),所述箱體二(13)右端與所述箱體一(1)固定連接。
6.根據權利要求5所述的一種醫療污水處理系統,其特征在于,所述箱體二(13)底端固定安裝有加熱器(14),且加熱器(14)頂端所述箱體二(13)內壁上固定安裝有支撐板(15),所述支撐板(15)上設有若干通孔二(16)。
7.根據權利要求1所述的一種醫療污水處理系統,其特征在于,所述污水處理裝置包括:箱體三(17),所述箱體三(17)頂端固定安裝在連接管一(18)一端,連接管一(18)另一端與水泵(19)的輸出端連接,水泵(19)的輸入端與連接管二(20)一端連接,連接管二(20)另一端與箱體一(1)連通,所述箱體三(17)內設有物理過濾組件和化學過濾組件。
8.根據權利要求7所述的一種醫療污水處理系統,其特征在于,所述物理過濾組件包括:驅動電機二(21),所述驅動電機二(21)固定安裝在箱體三(17)所設腔體二(22)頂端內壁上,腔體二(22)底端從左到右設置有腔體三(34)和腔體四(39),驅動電機二(21)的輸出軸上固定安裝有轉軸二(23),所述轉軸二(23)上固定安裝有過濾桶(24),所述過濾桶(24)內放置有活性炭(25),且過濾桶(24)上設有若干通孔三(32),皮帶輪二(26)固定安裝在轉軸二(23)上,且皮帶輪二(26)通過第二皮帶對稱連接有抽水單元;抽水單元包括:固定塊(27),所述固定塊(27)一端固定安裝在腔體二(22)內壁上,且固定塊(27)另一端固定安裝在底端開口的軸流泵(28)上,軸流泵(28)通過旋轉桿(29)驅動,所述旋轉桿(29)頂端與皮帶輪三(30)固定連接,且皮帶輪三(30)與皮帶輪二(26)通過第二皮帶連接,連接管三(31)一端與軸流泵(28)連接,連接管三(31)另一端設置在過濾桶(24)頂端。
9.根據權利要求7所述的一種醫療污水處理系統,其特征在于,所述化學過濾組件包括:驅動電機三(33),所述驅動電機三(33)固定安裝在腔體三(34)右端內壁上,且驅動電機三(33)的輸出軸固定安裝有皮帶輪四(35),皮帶輪四(35)上同軸固定安裝有錐齒輪一(36),皮帶輪四(35)通過第三皮帶與皮帶輪五(37)連接,皮帶輪五(37)同軸固定安裝有轉軸三(38),轉軸三(38)貫穿腔體三(34)并與腔體四(39)內壁轉動連接,且位于腔體四(39)內的所述轉軸三(38)上固定安裝有若干攪拌桿(40),連接管四(41)一端與腔體二(22)連通,連接管四(41)另一端與腔體四(39)連通,且連接管四(41)上設有閥門一(42),所述腔體四(39)右側底端從上到下分別固定安裝有連接管五(43)和連接管六(44),且所述連接管五(43)和連接管六(44)上分別設有閥門二(45)和閥門三(46),所述錐齒輪一(36)前后兩端對稱設置有進液單元。
10.根據權利要求9所述的一種醫療污水處理系統,其特征在于,所述進液單元包括:錐齒輪二(47),所述錐齒輪二(47)與所述錐齒輪一(36)嚙合連接,且錐齒輪二(47)固定安裝在轉軸四(48)一端,轉軸四(48)另一端貫穿限位板(49)并與錐齒輪三(50)固定連接,所述限位板(49)頂端固定安裝在固定板(51)上,限位板(49)底端固定安裝在腔體三(34)內壁上,所述固定板(51)兩端固定安裝在腔體三(34)內壁上,轉軸五(52)底端轉動連接在腔體三(34)內壁上,轉軸五(52)另一端貫穿輸送管(53)并與扇葉(54)固定連接,錐齒輪四(55)固定安裝在轉軸五(52)上,且錐齒輪四(55)與錐齒輪三(50)嚙合連接,前后兩端的輸送管(53)貫穿箱體三(17)并分別與化學藥劑輸送管和臭氧輸送管連接,所述輸送管(53)另一端與腔體四(39)連通。
發明內容
本發明提供一種醫療污水處理系統,用以解決上述背景技術提出的技術問題。
為解決上述技術問題,本發明公開了一種醫療污水處理系統,包括箱體一,所述箱體一一端與雜質收集裝置連接,箱體一另一端與污水處理裝置連接,且所述箱體一內設有雜質分離機構。
優選的,所述雜質分離機構包括兩組上下間隔布置的過濾組件,所述過濾組件包括:過濾板,所述過濾板右端上下滑動連接在箱體一內的滑槽內,復位彈簧一端固定安裝在滑槽內壁上,復位彈簧另一端固定安裝在過濾板上。
優選的,進料口固定安裝在箱體一頂端,所述雜質分離機構還包括:驅動電機一,箱體一右側設有腔體一,驅動電機一固定安裝在腔體一后端,且驅動電機一的輸出軸與上下對稱的兩組驅動組件連接,兩組驅動組件分別用于驅動兩個過濾板右部上下運動。
優選的,所述驅動組件包括:轉軸一,轉軸一的轉動連接在短桿一一端,短桿一另一端固定安裝在腔體一右端內壁上,且轉軸一上固定安裝有凸輪和皮帶輪一;
一個所述轉軸一一端固定安裝在驅動電機一的輸出軸上,兩個驅動組件的皮帶輪一之間通過第一皮帶連接;
過濾板右側底端與凸輪接觸,所述過濾板左側貫穿通孔一與雜質收集裝置連接。
優選的,所述雜質收集裝置包括:箱體二,所述箱體二右端與所述箱體一固定連接。
優選的,所述箱體二底端固定安裝有加熱器,且加熱器頂端所述箱體二內壁上固定安裝有支撐板,所述支撐板上設有若干通孔二。
優選的,所述污水處理裝置包括:箱體三,所述箱體三頂端固定安裝在連接管一一端,連接管一另一端與水泵的輸出端連接,水泵的輸入端與連接管二一端連接,連接管二另一端與箱體一連通,所述箱體三內設有物理過濾組件和化學過濾組件。
優選的,所述物理過濾組件包括:驅動電機二,所述驅動電機二固定安裝在箱體三所設腔體二頂端內壁上,腔體二底端從左到右設置有腔體三和腔體四,驅動電機二的輸出軸上固定安裝有轉軸二,所述轉軸二上固定安裝有過濾桶,所述過濾桶內放置有活性炭,且過濾桶上設有若干通孔三,皮帶輪二固定安裝在轉軸二上,且皮帶輪二通過第二皮帶對稱連接有抽水單元;
抽水單元包括:固定塊,所述固定塊一端固定安裝在腔體二內壁上,且固定塊另一端固定安裝在底端開口的軸流泵上,軸流泵通過旋轉桿驅動,所述旋轉桿頂端與皮帶輪三固定連接,且皮帶輪三與皮帶輪二通過第二皮帶連接,連接管三一端與軸流泵連接,連接管三另一端設置在過濾桶頂端。
優選的,所述化學過濾組件包括:驅動電機三,所述驅動電機三固定安裝在腔體三右端內壁上,且驅動電機三的輸出軸固定安裝有皮帶輪四,皮帶輪四上同軸固定安裝有錐齒輪一,皮帶輪四通過第三皮帶與皮帶輪五連接,皮帶輪五同軸固定安裝有轉軸三,轉軸三貫穿腔體三并與腔體四內壁轉動連接,且位于腔體四內的所述轉軸三上固定安裝有若干攪拌桿,連接管四一端與腔體二連通,連接管四另一端與腔體四連通,且連接管四上設有閥門一,所述腔體四右側底端從上到下分別固定安裝有連接管五和連接管六,且所述連接管五和連接管六上分別設有閥門二和閥門三,所述錐齒輪一前后兩端對稱設置有進液單元。
優選的,所述進液單元包括:錐齒輪二,所述錐齒輪二與所述錐齒輪一嚙合連接,且錐齒輪二固定安裝在轉軸四一端,轉軸四另一端貫穿限位板并與錐齒輪三固定連接,所述限位板頂端固定安裝在固定板上,限位板底端固定安裝在腔體三內壁上,所述固定板兩端固定安裝在腔體三內壁上,轉軸五底端轉動連接在腔體三內壁上,轉軸五另一端貫穿輸送管并與扇葉固定連接,錐齒輪四固定安裝在轉軸五上,且錐齒輪四與錐齒輪三嚙合連接,前后兩端的輸送管貫穿箱體三并分別與化學藥劑輸送管和臭氧輸送管連接,所述輸送管另一端與腔體四連通。
(發明人:張敏昆;宋路波;柳飛)






