公布日:2023.10.17
申請日:2023.09.08
分類號:C02F3/30(2023.01)I;C02F3/10(2023.01)I;C02F3/34(2023.01)I;C02F9/00(2023.01)I;C02F1/00(2023.01)N;C02F101/30(2006.01)N
摘要
本發明公開了一種連續流微生物反應系統,包括進水室、缺氧室、厭氧室、沉降室、好氧室及出水室,好氧室內設有固載微生物填料,該填料的制備為:先利用3-氯丙基三乙氧基硅烷偶聯反應將2,6-二氨基吡啶修飾在SiC晶須表面,再原位自組裝形成金屬有機框架配合物,得到改性SiC粉末;聚丙烯酸酯單體與聚乙二醇經聚合反應后,與改性SiC粉末混合,得到改性聚丙烯酸酯溶液;聚乙烯醇與改性聚丙烯酸酯的混合溶液經交聯、發泡、固化,得到多孔通氣、比表面積大、力學性能好的聚合物基泡沫載體;最后利用吸附、包埋固定微生物,降低外界環境對微生物的傷害;本發明還公開了利用上述系統的污水處理方法,強化了處理效果,保證了出水水質。

權利要求書
1.一種連續流微生物反應系統,其特征在于:包括依次設置的進水室、缺氧室、厭氧室、沉降室、好氧室及出水室,所述好氧室內設置有固載微生物填料,所述固載微生物填料采用以下步驟制備:S1、將SiC晶須超聲分散于乙醇中,加入3-氯丙基三乙氧基硅烷及去離子水,于55~65℃攪拌回流5~8h,固液分離,取固體洗滌后,分散于乙醇水溶液中,加入2,6-二氨基吡啶,于氮氣氣氛下,升溫至55~65℃,攪拌反應5~8h,固液分離,取固體洗滌、干燥,得到有機修飾SiC;其中,SiC晶須、3-氯丙基三乙氧基硅烷及2,6-二氨基吡啶的質量比為1:0.4~0.6:0.8~2.8;S2、將步驟S1所得有機修飾SiC及三價鐵鹽分別分散于N,N-二甲基甲酰胺,得到有機修飾SiC分散液及鐵鹽溶液;向有機修飾SiC分散液中依次加入鐵鹽溶液及去離子水,混勻,得到前驅液;將前驅液于150~170℃溶劑熱反應10~20h,冷卻后,固液分離,取固體洗滌、干燥、研磨,得到改性SiC粉末;其中,有機修飾SiC及三價鐵鹽的質量比為15:8~13;S3、將丙烯酸異辛酯、丙烯酸甲酯、丙烯酸羥乙酯分散于二甲基亞砜中,得到單體溶液;將步驟S2所得改性SiC粉末分散于二甲基亞砜中,得到改性SiC漿液;在氮氣保護下,向單體溶液中加入聚乙二醇,混勻后,升溫至70~80℃,加入引發劑,攪拌反應6~12h,冷卻并加入改性SiC漿液,分散均勻,得到改性聚丙烯酸酯溶液;其中,丙烯酸異辛酯、丙烯酸甲酯、丙烯酸羥乙酯、聚乙二醇及改性SiC粉末的質量比為55:(39~41):(4~6):(8~12):(8~12),改性聚丙烯酸酯溶液中改性SiC粉末的質量分數為2.5~3.5%;S4、將聚乙烯醇加熱溶解于二甲基亞砜與去離子水的混合液中,得到質量分數為10~18%的聚乙烯醇溶液;將聚乙烯醇溶液與改性聚丙烯酸酯溶液按照質量比10:1~2混勻,得到預制液;于45~55℃,向預制液中依次加入表面活性劑及催化劑,攪拌10~30min后,加入交聯劑,攪拌3~7min后,再加入發泡劑,攪拌2~5min后,裝入模具,于70~110℃恒溫固化,脫模后,經水洗、干燥,得到聚合物基泡沫載體;S5、將步驟S4所得聚合物基泡沫載體浸沒于含硝化細菌、芽孢桿菌及酵母菌的復合菌液中,于室溫震蕩3~6h后,取出、瀝干后,浸沒于含聚谷氨酸與羧甲基纖維素鈉的水溶液中,靜置0.5~1.5h,取出、瀝干后,再浸沒于鐵鹽的水溶液,靜置10~20min,經水洗、干燥,即得。
2.根據權利要求1所述連續流微生物反應系統,其特征在于:步驟S1中,乙醇中SiC晶須的加入量為8~24g/L,去離子水的加入量為乙醇體積的0.8~2%;所述乙醇水溶液中乙醇的體積百分數為90~95%。
3.根據權利要求1所述連續流微生物反應系統,其特征在于:步驟S2中,所述三價鐵鹽選用九水合硝酸鐵或六水合三氯化鐵,前驅液中Fe3+的摩爾濃度為27~36mmol/L,前驅液中去離子水的體積分數為4~8%。
4.根據權利要求1所述連續流微生物反應系統,其特征在于:步驟S3中,所述單體溶液中丙烯酸異辛酯的質量分數為25~30%;所述引發劑選用偶氮二異丁腈,引發劑的用量為單體溶液質量的0.5~0.6%。
5.根據權利要求1所述連續流微生物反應系統,其特征在于:步驟S4中,二甲基亞砜與去離子水的混合液中二甲基亞砜的體積百分數為50~70%;所述表面活性劑選用烷基酚聚氧乙烯醚,表面活性劑的用量為預制液質量的1~2%;所述發泡劑選用碳酸氫鈉和/或碳酸氫鉀的水溶液,碳酸氫鈉和/或碳酸氫鉀的用量為預制液質量的0.2~0.4%。
6.根據權利要求5所述連續流微生物反應系統,其特征在于:步驟S4中,所述催化劑選用質量分數為40~50%的硫酸溶液,催化劑的用量為預制液質量的4~7%;所述交聯劑選用甲醛溶液,甲醛溶液中甲醛的質量分數為30~38%,交聯劑的用量為預制液質量的3~5%。
7.根據權利要求1所述連續流微生物反應系統,其特征在于:步驟S5中,所述含聚谷氨酸與羧甲基纖維素的水溶液中,聚谷氨酸與羧甲基纖維素鈉的質量分數分別為0.6~0.8%、0.4~0.6%;所述鐵鹽的水溶液選用硝酸鐵溶液,鐵鹽的水溶液中Fe3+的摩爾濃度為0.03~0.06mol/L。
8.根據權利要求6所述連續流微生物反應系統,其特征在于:所述硝化細菌、芽孢桿菌及酵母菌的復合菌液采用以下步驟制備:將硝化細菌、芽孢桿菌及酵母菌分別接種于培養基活化24~48h,再置于液體培養基中擴大培養1~4天,分別收集硝化細菌、芽孢桿菌及酵母菌的菌體,混合分散于無菌水中,即得復合菌液;其中,以干重計,復合菌液中菌體的總質量百分數為2.5~5%,芽孢桿菌、硝化細菌及酵母菌的菌體質量比為43~60:30~47:10。
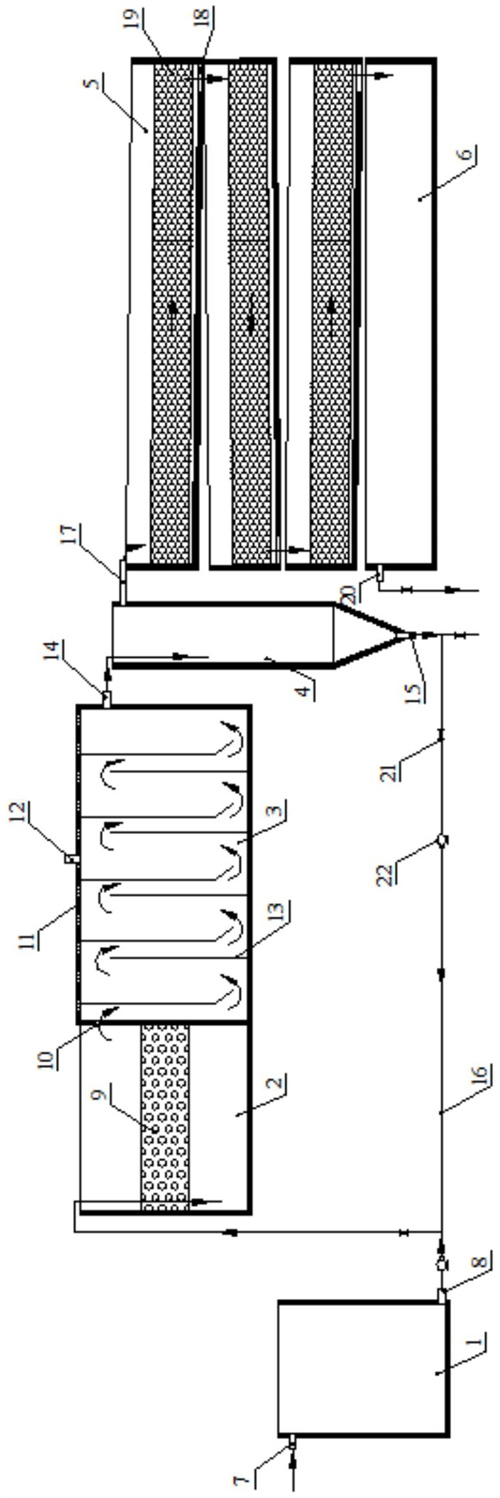
9.根據權利要求1所述連續流微生物反應系統,其特征在于:所述進水室的一側連接有進水管,進水室的另一側底部連接有輸水管,輸水管的另一端插入至缺氧室的下部;缺氧室的中部設有反硝化生物填料,缺氧室側壁的頂部設有通水口,缺氧室與厭氧室通過通水口相連通;厭氧室的上端口封閉,厭氧室內設有折流板,厭氧室側壁的頂部設有過水管,過水管的另一端延伸至沉降室內;沉降室的底部連接有排泥管,排泥管上連接有回流管,回流管的另一端與輸水管相連接,沉降室側壁的頂部連接有溢流管;所述好氧室位于溢流管出口的下方,好氧室為兩個以上,且好氧室從上至下依次排列,好氧室的上端敞口、好氧室的底部設有出水口,所述出水口間歇式打開;所述出水室位于最下層好氧室的下方,出水室的側壁連接有出水管;出水管、排泥管、回流管及輸水管上均安裝有閥門,回流管及輸水管上均安裝有蠕動泵。
10.利用權利要求1至9任一所述連續流微生物反應系統進行污水處理的方法,其特征在于,包括以下步驟:系統運行前,將活性污泥平均分配到缺氧室及厭氧室,采用連續流培養馴化,監測進出水指標;系統運行時,根據待處理污水的水質情況控制進水流速,污水連續流入進水室,經初沉淀、過濾處理后,依次進入缺氧室及厭氧室,經缺氧及厭氧處理后,進入沉降室再次沉淀,上清液溢流入好氧室,經好氧處理后,好氧室間歇排水,最后由出水室出水,并對出水進行取樣檢測。
發明內容
基于現有技術的不足,本發明提供了一種連續流微生物反應系統,在倒置A2/O工藝的基礎上,通過改性SiC晶須與聚丙烯酸酯協同增強聚乙烯醇泡沫,得到多孔通氣、比表面積大、力學性能好的聚合物基泡沫載體,提高了微生物的富集固載量,并利用聚谷氨酸與羧甲基纖維素鈉互穿凝膠形成包埋層,降低外界環境對微生物的傷害,提高了微生物的重復利用率,保證了出水水質。
本發明還公開了利用上述連續流微生物反應系統進行污水處理的方法,通過缺氧反硝化、厭氧消化及好氧消化處理污水,便于控制、能耗較低,減少了污泥外排量,強化了污水處理效果。
為了實現上述目的,本發明采用的技術方案為:
一種連續流微生物反應系統,包括依次設置的進水室、缺氧室、厭氧室、沉降室、好氧室及出水室,所述好氧室內設置有固載微生物填料,所述固載微生物填料采用以下步驟制備:
S1、將SiC晶須超聲分散于乙醇中,加入3-氯丙基三乙氧基硅烷及去離子水,于55~65℃攪拌回流5~8h,固液分離,取固體洗滌后,分散于乙醇水溶液中,加入2,6-二氨基吡啶,于氮氣氣氛下,升溫至55~65℃,攪拌反應5~8h,固液分離,取固體洗滌、干燥,得到有機修飾SiC;其中,SiC晶須、3-氯丙基三乙氧基硅烷及2,6-二氨基吡啶的質量比為1:0.4~0.6:0.8~2.8;
S2、將步驟S1所得有機修飾SiC及三價鐵鹽分別分散于N,N-二甲基甲酰胺(DMF),得到有機修飾SiC分散液及鐵鹽溶液;向有機修飾SiC分散液中依次加入鐵鹽溶液及去離子水,混勻,得到前驅液;將前驅液于150~170℃溶劑熱反應10~20h,冷卻后,固液分離,取固體洗滌、干燥、研磨,得到改性SiC粉末;其中,有機修飾SiC及三價鐵鹽的質量比為15:8~13;
S3、將丙烯酸異辛酯、丙烯酸甲酯、丙烯酸羥乙酯分散于二甲基亞砜中,得到單體溶液;將步驟S2所得改性SiC粉末分散于二甲基亞砜中,得到改性SiC漿液;在氮氣保護下,向單體溶液中加入聚乙二醇,混勻后,升溫至70~80℃,加入引發劑,攪拌反應6~12h,冷卻并加入改性SiC漿液,分散均勻,得到改性聚丙烯酸酯溶液;其中,丙烯酸異辛酯、丙烯酸甲酯、丙烯酸羥乙酯、聚乙二醇及改性SiC粉末的質量比為55:(39~41):(4~6):(8~12):(8~12),改性聚丙烯酸酯溶液中改性SiC粉末的質量分數為2.5~3.5%;
S4、將聚乙烯醇加熱溶解于二甲基亞砜與去離子水的混合液中,得到質量分數為10~18%的聚乙烯醇溶液;將聚乙烯醇溶液與改性聚丙烯酸酯溶液按照質量比10:1~2混勻,得到預制液;于45~55℃,向預制液中依次加入表面活性劑及催化劑,攪拌10~30min后,加入交聯劑,攪拌3~7min后,再加入發泡劑,攪拌2~5min后,裝入模具,于70~110℃恒溫固化,脫模后,經水洗、干燥,得到聚合物基泡沫載體;
S5、將步驟S4所得聚合物基泡沫載體浸沒于含硝化細菌、芽孢桿菌及酵母菌的復合菌液中,于室溫震蕩3~6h后,取出、瀝干后,浸沒于含聚谷氨酸與羧甲基纖維素鈉的水溶液中,靜置0.5~1.5h,取出、瀝干后,再浸沒于鐵鹽的水溶液,靜置10~20min,經水洗、干燥,即得。
與現有技術相比,本發明所述聚合物基泡沫載體具有以下有益效果:
(1)首先利用3-氯丙基三乙氧基硅烷偶聯反應將2,6-二氨基吡啶修飾在SiC晶須表面,有機修飾過程如下:

其中,“丨”指代SiC晶須,通過表面有機修飾,改善了SiC晶須的分散性,提高了SiC晶須與有機體系的相容性;
(2)然后以DMF作為反應介質,以有機修飾SiC為異質核、SiC晶須表面的有機修飾物為有機配體、以Fe為節點,在SiC晶須表面原位自組裝形成金屬有機框架配合物,提高了比表面積、增加了活性位點,在H2SO4催化作用下,Fe3+與聚乙烯醇分子鏈上的-OH產生配位作用,形成交聯位點,使發泡材料內部更易成孔,有助于提高吸水性能,同時更多交聯位點的產生,也可提高材料回彈性能;
(3)再以丙烯酸異辛酯為硬單體、丙烯酸甲酯為軟單體、丙烯酸羥乙酯為功能性單體,在單體聚合過程中引入具有親水性的聚乙二醇,功能性單體中的羥基可提高交聯密度,增強了聚合產物的內聚強度,聚乙二醇可提高聚合體系的流動性,有助于聚合產物的成分均勻,并通過形成聚丙烯酸酯-聚乙二醇互穿網絡結構,提升聚合產物表剛內韌的特性,進一步引入改性SiC粉末形成改性聚丙烯酸酯溶液,改性SiC粉末均勻分布、填充于網絡間,起到一定的釘扎作用,可以穩定聚合物三維網絡;
(4)最后在聚乙烯醇基泡沫材料形成過程中,加入改性聚丙烯酸酯溶液,可減少交聯劑(甲醛)的使用量,提高泡孔的均勻性,并達到增強增韌的作用,使制得的聚合物基泡沫載體具有優異的力學性能,提高了其作為載體的使用壽命。
本發明在聚合物基泡沫載體吸附固定微生物后,以含聚谷氨酸與羧甲基纖維素鈉的水溶液為包衣材料,經過浸漬包覆包衣材料,再通過浸漬鐵鹽的水溶液,使包衣材料發生交聯,形成無毒害、傳質性能好的包埋層,從而提高了微生物對難降解污水的耐受性,有助于提升微生物污水處理效果。
為了使3-氯丙基三乙氧基硅烷對SiC晶須有良好的表面處理效果,步驟S1中,乙醇中SiC晶須的加入量為8~24g/L,去離子水的加入量為乙醇體積的0.8~2%;為了給2,6-二氨基吡啶接枝改性提供良好的反應介質,所述乙醇水溶液中乙醇的體積百分數為90~95%。
在有機修飾SiC表面原位生成金屬有機框架材料的過程中,為了控制反應速率、提高比表面積,步驟S2中,所述三價鐵鹽選用九水合硝酸鐵或六水合三氯化鐵,前驅液中Fe3+的摩爾濃度為27~36mmol/L,前驅液中去離子水的體積分數為4~8%。
為了控制聚丙烯酸酯的聚合速率,步驟S3中,所述單體溶液中丙烯酸異辛酯的質量分數為25~30%,以使聚合反應體系具有適合的粘度;所述引發劑選用偶氮二異丁腈,引發劑的用量為單體溶液質量的0.5~0.6%。
為了優化聚合物基泡沫載體的力學性能,步驟S4中,二甲基亞砜與去離子水的混合液中二甲基亞砜的體積百分數為50~70%;所述表面活性劑選用烷基酚聚氧乙烯醚,表面活性劑的用量為預制液質量的1~2%;所述發泡劑選用碳酸氫鈉和/或碳酸氫鉀的水溶液,碳酸氫鈉和/或碳酸氫鉀的用量為預制液質量的0.2~0.4%;所述催化劑選用質量分數為40~50%的硫酸溶液,催化劑的用量為預制液質量的4~7%;所述交聯劑選用甲醛溶液,甲醛溶液中甲醛的質量分數為30~38%,交聯劑的用量為預制液質量的3~5%。
為了形成具有良好傳質作用的包埋層,步驟S5中,所述含聚谷氨酸與羧甲基纖維素鈉的水溶液中,聚谷氨酸與羧甲基纖維素鈉的質量分數分別為0.6~0.8%、0.4~0.6%;所述鐵鹽的水溶液選用硝酸鐵溶液,鐵鹽的水溶液中Fe3+的摩爾濃度為0.03~0.06mol/L。
為了提高微生物菌的好氧處理效果,所述硝化細菌、芽孢桿菌及酵母菌的復合菌液采用以下步驟制備:將硝化細菌、芽孢桿菌及酵母菌分別接種于培養基活化24~48h,再置于液體培養基中擴大培養1~4天,分別收集硝化細菌、芽孢桿菌及酵母菌的菌體,混合分散于無菌水中,即得復合菌液;其中,以干重計,復合菌液中菌體的總質量百分數為2.5~5%,芽孢桿菌、硝化細菌及酵母菌的菌體質量比為43~60:30~47:10。
為了優化缺氧-厭氧-好氧處理效果,所述進水室的一側連接有進水管,進水室的另一側底部連接有輸水管,輸水管的另一端插入至缺氧室的下部;缺氧室的中部設有反硝化生物填料,缺氧室側壁的頂部設有通水口,缺氧室與厭氧室通過通水口相連通;厭氧室的上端口封閉,厭氧室內設有折流板,厭氧室側壁的頂部設有過水管,過水管的另一端延伸至沉降室內;沉降室的底部連接有排泥管,排泥管上連接有回流管,回流管的另一端與輸水管相連接,沉降室側壁的頂部連接有溢流管;所述好氧室位于溢流管出口的下方,好氧室為兩個以上,且好氧室從上至下依次排列,好氧室的上端敞口、好氧室的底部設有出水口,所述出水口間歇式打開;所述出水室位于最下層好氧室的下方,出水室的側壁連接有出水管;出水管、排泥管、回流管及輸水管上均安裝有閥門,回流管及輸水管上均安裝有蠕動泵。
利用上述連續流微生物反應系統進行污水處理的方法,包括以下步驟:系統運行前,將活性污泥平均分配到缺氧室及厭氧室,采用連續流培養馴化,監測進出水指標;系統運行時,根據待處理污水的水質情況控制進水流速,污水連續流入進水室,經初沉淀、過濾處理后,依次進入缺氧室及厭氧室,經缺氧及厭氧處理后,進入沉降室再次沉淀,上清液溢流入好氧室,經好氧處理后,好氧室間歇排水,最后由出水室出水,并對出水進行取樣檢測。
本發明通過將含有改性SiC粉末的改性聚丙烯酸酯溶液與聚乙烯醇溶液混合,經交聯、發泡、固化,形成三維多孔結構的輕質泡沫載體,綜合提高了力學性能,并且兼具良好的親水性、吸水性和穩定性,負載固定硝化細菌(如亞硝酸菌及硝酸菌)、芽孢桿菌(如巨大芽胞桿菌、解淀粉芽胞桿菌、地衣芽胞桿菌及枯草芽胞桿菌等)及酵母菌(如熱帶假絲酵母及產朊假絲酵母),可達到脫氮、吸磷、降解有機物的目的;本發明所述連續流微生物反應系統運行穩定、便于控制,不僅適用于污水處理,還可以用于水質保持,對于河道水進行“控源截污”與“內源治理”,實現水生態系統的良性循環,具有重要意義。
(發明人:王文昭;廖家龍;畢兆順;林佳純;袁越;龍俊儒;熊偉;張心寶)






