公布日:2023.11.17
申請日:2022.05.10
分類號:C02F3/10(2006.01)I;C02F3/34(2006.01)I;C02F101/38(2006.01)N
摘要
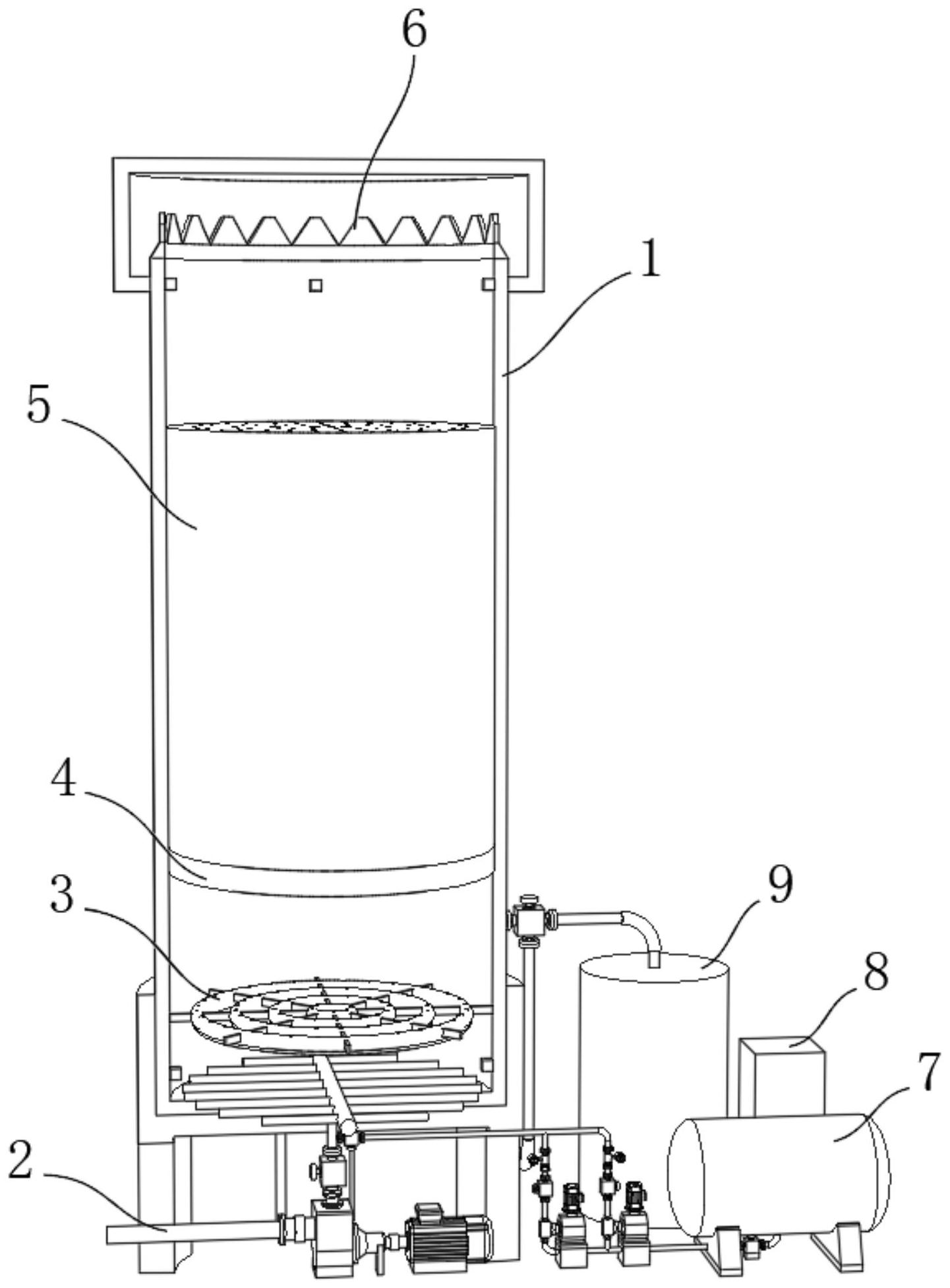
本發明提供一種污水深度脫氮反應器,涉及污水處理技術領域。該污水深度脫氮反應器,包括深度脫氮反應器設備本體和中控系統,所述深度脫氮反應器設備本體底部設置有配水系統,所述深度脫氮反應器設備本體下部內側固定連接有固化載體微生物發生器,所述承托層頂端設置有組合式填料,所述深度脫氮反應器設備本體頂端固定連接有環形出水堰。通過布水器和頂部為鋸齒狀的環形出水堰對水體進行整流,在深度脫氮反應器設備本體底部和頂部分別形成布水區和清水區,優化水利結構,降低脫氮反應器承受的沖擊負荷,通過環狀緩沖條和環形擋板對污水進行緩沖,降低環狀載體內微生物母體受到的沖擊,反應器脫氮均勻性好,出水水質有保障。

權利要求書
1.一種污水深度脫氮反應器,包括深度脫氮反應器設備本體(1)和中控系統(8),其特征在于:所述深度脫氮反應器設備本體(1)底部設置有配水系統(2),所述深度脫氮反應器設備本體(1)下部內側固定連接有固化載體微生物發生器(3),所述固化載體微生物發生器(3)上側設置有承托層(4)且承托層(4)固定連接在深度脫氮反應器設備本體(1)的內側,所述承托層(4)頂端設置有組合式填料(5),所述深度脫氮反應器設備本體(1)頂端固定連接有環形出水堰(6),所述配水系統(2)與碳源投加系統(7)連通,所述深度脫氮反應器設備本體(1)與排水系統(9)連通;所述固化載體微生物發生器(3)包括環形管(301)和環狀緩沖條(305),所述環形管(301)內側設置有環狀載體(302),所述環形管(301)底部設置有環形開口(303),所述環形開口(303)的內外兩側均設置有環形擋板(304),所述中控系統(8)包括控制器(801),所述控制器(801)通過無線信號與第一硝酸根離子傳感器(802)、第一亞硝酸根離子傳感器(803)、第一COD傳感器(804)、第二硝酸根離子傳感器(805)、第二亞硝酸根離子傳感器(806)和第二COD傳感器(807)相連。
2.根據權利要求1所述的一種污水深度脫氮反應器,其特征在于:相鄰的所述環形管(301)通過連桿相連,多個所述環形管(301)的中心線呈圓形,多個所述環形管(301)的中心線共面且同心,相鄰的環形管(301)的中心線的半徑之差相等,最外側所述環形管(301)通過連桿與深度脫氮反應器設備本體(1)相連,所述環狀載體(302)內部設置有微生物母體,所述環形擋板(304)固定連接在環形管(301)的底部,所述環形擋板(304)的橫截面呈圓弧形,所述環狀緩沖條(305)通過連桿固定連接在環形管(301)的內部,所述環形管(301)的頂部和承托層(4)的內部均設置有均勻分布的通孔。
3.根據權利要求1所述的一種污水深度脫氮反應器,其特征在于:所述配水系統(2)包括供水管(201)和布水器(205),所述供水管(201)與污水提升泵(202)連通,所述污水提升泵(202)的出水口連通有第一止回閥(203),所述第一止回閥(203)的頂端固定連接有進水管(204),所述進水管(204)與布水器(205)連通,所述進水管(204)貫穿深度脫氮反應器設備本體(1)的底壁,所述布水器(205)固定連接在深度脫氮反應器設備本體(1)的內側底端,所述深度脫氮反應器設備本體(1)的高度為13~16m,所述深度脫氮反應器設備本體(1)的直徑為2.5~3.5m。
4.根據權利要求1所述的一種污水深度脫氮反應器,其特征在于:所述碳源投加系統(7)包括碳源罐(701)和第三止回閥(706),所述碳源罐(701)底部連通有出料閥(702),所述出料閥(702)的左端與兩個計量泵(703)連通,所述計量泵(703)的出水口連通有第二止回閥(704),所述第二止回閥(704)的頂端連通有質量流量計(705),所述第三止回閥(706)的右端與兩個質量流量計(705)連通,所述第三止回閥(706)的左端與進水管(204)連通,所述第三止回閥(706)固定連接在深度脫氮反應器設備本體(1)的底端。
5.根據權利要求1所述的一種污水深度脫氮反應器,其特征在于:所述排水系統(9)包括集水罩(901)和排水管(905),所述集水罩(901)的底部連通有三通閥(902),所述三通閥(902)的右端連通有蓄水罐(903),所述蓄水罐(903)內側頂端設置有液位計(904),所述三通閥(902)的底端與排水管(905)連通。
6.根據權利要求5所述的一種污水深度脫氮反應器,其特征在于:所述集水罩(901)固定連接在深度脫氮反應器設備本體(1)的頂部外側,所述環形出水堰(6)設置在集水罩(901)的內部,所述環形出水堰(6)的上部呈鋸齒狀。
7.根據權利要求1所述的一種污水深度脫氮反應器,其特征在于:所述第一硝酸根離子傳感器(802)、第一亞硝酸根離子傳感器(803)和第一COD傳感器(804)均設置在深度脫氮反應器設備本體(1)的底部內側,所述第二硝酸根離子傳感器(805)、第二亞硝酸根離子傳感器(806)和第二COD傳感器(807)均設置在深度脫氮反應器設備本體(1)的頂部內側,所述控制器(801)通過無線信號與污水提升泵(202)、出料閥(702)、計量泵(703)、質量流量計(705)、三通閥(902)和液位計(904)相連。
8.根據權利要求1所述的一種污水深度脫氮反應器,其特征在于:所述微生物母體的培養方法包括以下步驟:S1.微生物馴化將反硝化菌接種至裝有去離子水的培養皿A中,將厭氧氨氧化菌接種至裝有去離子水的培養皿B中,將脫氮硫桿菌接種至裝有去離子水的培養皿C中,不向培養皿A、培養皿B和培養皿C中加入任何營養物質,使反硝化菌、厭氧氨氧化菌和脫氮硫桿菌進入休眠狀態,7~10d后,將培養皿A中的反硝化菌接種至多個裝有DM培養基的培養瓶A中,將培養皿B中的厭氧氨氧化菌接種至多個裝有MSF培養基的培養瓶B中,將培養皿C中的脫氮硫桿菌接種至多個裝有脫氮硫桿菌標準培養基的培養瓶C中,向培養瓶A、培養瓶B和培養瓶C中加入污水處理廠中的含氮污水,并將多個培養瓶A、培養瓶B和培養瓶C放置在厭氧工作站內進行厭氧培養,36~42h后,從多個培養瓶A、培養瓶B和培養瓶C中篩選出長勢良好的反硝化菌、厭氧氨氧化菌和脫氮硫桿菌;S2.共生培養將污水處理廠中的含氮污水加入多個培養瓶D中,向每個培養瓶D中接種S1中長勢良好的反硝化菌、厭氧氨氧化菌和脫氮硫桿菌,并向培養瓶D中加入有機碳源及碳酸鹽,進行共生培養,48~54h后,挑選出反硝化菌、厭氧氨氧化菌和脫氮硫桿菌均長勢良好的培養瓶D,以該培養瓶D中的反硝化菌、厭氧氨氧化菌和脫氮硫桿菌接種至裝有污水處理廠中的含氮污水、有機碳源和碳酸鹽的培養罐內進行擴繁培養,3~5d后得到微生物母體。
發明內容
(一)解決的技術問題
針對現有技術的不足,本發明提供了一種污水深度脫氮反應器,解決了脫氮反應器出水水質欠佳和碳源投加精準度不足的問題。
(二)技術方案
為實現以上目的,本發明通過以下技術方案予以實現:一種污水深度脫氮反應器,包括深度脫氮反應器設備本體和中控系統,所述深度脫氮反應器設備本體底部設置有配水系統,所述深度脫氮反應器設備本體下部內側固定連接有固化載體微生物發生器,所述固化載體微生物發生器上側設置有承托層且承托層固定連接在深度脫氮反應器設備本體的內側,所述承托層頂端設置有組合式填料,所述深度脫氮反應器設備本體頂端固定連接有環形出水堰,所述配水系統與碳源投加系統連通,所述深度脫氮反應器設備本體與排水系統連通;
所述固化載體微生物發生器包括環形管和環狀緩沖條,所述環形管內側設置有環狀載體,所述環形管底部設置有環形開口,所述環形開口的內外兩側均設置有環形擋板,所述中控系統包括控制器,所述控制器通過無線信號與第一硝酸根離子傳感器、第一亞硝酸根離子傳感器、第一COD傳感器、第二硝酸根離子傳感器、第二亞硝酸根離子傳感器和第二COD傳感器相連。
優選的,相鄰的所述環形管通過連桿相連,多個所述環形管的中心線呈圓形,多個所述環形管的中心線共面且同心,相鄰的環形管的中心線的半徑之差相等,最外側所述環形管通過連桿與深度脫氮反應器設備本體相連,所述環狀載體內部設置有微生物母體,所述環形擋板固定連接在環形管的底部,所述環形擋板的橫截面呈圓弧形,所述環狀緩沖條通過連桿固定連接在環形管的內部,所述環形管的頂部和承托層的內部均設置有均勻分布的通孔。
優選的,所述配水系統包括供水管和布水器,所述供水管與污水提升泵連通,所述污水提升泵的出水口連通有第一止回閥,所述第一止回閥的頂端固定連接有進水管,所述進水管與布水器連通,所述進水管貫穿深度脫氮反應器設備本體的底壁,所述布水器固定連接在深度脫氮反應器設備本體的內側底端。
優選的,所述碳源投加系統包括碳源罐和第三止回閥,所述碳源罐底部連通有出料閥,所述出料閥的左端與兩個計量泵連通,所述計量泵的出水口連通有第二止回閥,所述第二止回閥的頂端連通有質量流量計,所述第三止回閥的右端與兩個質量流量計連通,所述第三止回閥的左端與進水管連通,所述第三止回閥固定連接在深度脫氮反應器設備本體的底端,所述深度脫氮反應器設備本體的高度為13~16m,所述深度脫氮反應器設備本體的直徑為2.5~3.5m。
優選的,所述排水系統包括集水罩和排水管,所述集水罩的底部連通有三通閥,所述三通閥的右端連通有蓄水罐,所述蓄水罐內側頂端設置有液位計,所述三通閥的底端與排水管連通。
優選的,所述集水罩固定連接在深度脫氮反應器設備本體的頂部外側,所述環形出水堰設置在集水罩的內部,所述環形出水堰的上部呈鋸齒狀。
優選的,所述第一硝酸根離子傳感器、第一亞硝酸根離子傳感器和第一COD傳感器均設置在深度脫氮反應器設備本體的底部內側,所述第二硝酸根離子傳感器、第二亞硝酸根離子傳感器和第二COD傳感器均設置在深度脫氮反應器設備本體的頂部內側,所述控制器通過無線信號與污水提升泵、出料閥、計量泵、質量流量計、三通閥和液位計相連。
優選的,所述微生物母體的培養方法包括以下步驟:
S1.微生物馴化
將反硝化菌接種至裝有去離子水的培養皿A中,將厭氧氨氧化菌接種至裝有去離子水的培養皿B中,將脫氮硫桿菌接種至裝有去離子水的培養皿C中,不向培養皿A、培養皿B和培養皿C中加入任何營養物質,使反硝化菌、厭氧氨氧化菌和脫氮硫桿菌進入休眠狀態,7~10d后,將培養皿A中的反硝化菌接種至多個裝有DM培養基的培養瓶A中,將培養皿B中的厭氧氨氧化菌接種至多個裝有MSF培養基的培養瓶B中,將培養皿C中的脫氮硫桿菌接種至多個裝有脫氮硫桿菌標準培養基的培養瓶C中,向培養瓶A、培養瓶B和培養瓶C中加入污水處理廠中的含氮污水,并將多個培養瓶A、培養瓶B和培養瓶C放置在厭氧工作站內進行厭氧培養,36~42h后,從多個培養瓶A、培養瓶B和培養瓶C中篩選出長勢良好的反硝化菌、厭氧氨氧化菌和脫氮硫桿菌;
S2.共生培養
將污水處理廠中的含氮污水加入多個培養瓶D中,向每個培養瓶D中接種S1中長勢良好的反硝化菌、厭氧氨氧化菌和脫氮硫桿菌,并向培養瓶D中加入有機碳源及碳酸鹽,進行共生培養,48~54h后,挑選出反硝化菌、厭氧氨氧化菌和脫氮硫桿菌均長勢良好的培養瓶D,以該培養瓶D中的反硝化菌、厭氧氨氧化菌和脫氮硫桿菌接種至裝有污水處理廠中的含氮污水、有機碳源和碳酸鹽的培養罐內進行擴繁培養,3~5d后得到微生物母體。
工作原理:通過配水系統和碳源投加系統向深度脫氮反應器設備本體內分別泵入污水和碳源,通過固化載體微生物發生器配合組合式填料對污水進行脫氮處理,通過排水系統對環形出水堰處排出的水體進行轉移,通過中控系統對污水脫氮進程進行監控調節,污水提升泵將供水管內的污水導入進水管內,打開出料閥,計量泵將碳源罐內的碳源導入進水管內,污水與碳源混合后沿進水管向上進入布水器,布水器將污水和碳源均勻分布在深度脫氮反應器設備本體內,污水和碳源在深度脫氮反應器設備本體內從下向上運動,固化載體微生物發生器向上產生微生物,微生物母體產生的微生物通過多個環形管和承托層上的通孔均勻進入組合式填料,組合式填料內的微生物對污水進行脫氮處理,經過脫氮處理的水體從環形出水堰處溢出至集水罩,三通閥左右兩端導通,底端閉合,從集水罩流出的水體經過三通閥進入蓄水罐內,液位計配合控制器對蓄水罐內的液位高度進行檢測,若液位上升至上限閾值,則三通閥的左端和底端導通,右端閉合,水體從排水管排出,若蓄水罐內的液位下降至下限閾值,則三通閥左右兩端再次導通,底端再次閉合,污水經過固化載體微生物發生器的過程中,通過環狀緩沖條和環形擋板對污水進行緩沖,降低環狀載體內微生物母體受到的沖擊,脫氮處理過程中,控制器通過第一硝酸根離子傳感器、第一亞硝酸根離子傳感器和第一COD傳感器以及第二硝酸根離子傳感器、第二亞硝酸根離子傳感器和第二COD傳感器反饋的信息對污水提升泵、計量泵和質量流量計進行變頻調節。
(三)有益效果
本發明提供了一種污水深度脫氮反應器。具備以下有益效果:
1、本發明通過布水器和頂部為鋸齒狀的環形出水堰對水體進行整流,在深度脫氮反應器設備本體底部和頂部分別形成布水區和清水區,優化水利結構,保證水流均勻通過深度脫氮反應器設備本體,降低脫氮反應器承受的沖擊負荷,通過環狀緩沖條和環形擋板對污水進行緩沖,降低環狀載體內微生物母體受到的沖擊,微生物母體產生的微生物通過多個環形管和承托層上的通孔均勻進入組合式填料,保證脫氮均勻性,微生物母體經過馴化及共生培養,休眠能力強,能夠對污水中的硝態氮進行多酶體系協同處理,出水水質得到保障。
2、本發明通過配水系統和碳源投加系統向深度脫氮反應器設備本體內分別泵入污水和碳源,控制器通過第一硝酸根離子傳感器、第一亞硝酸根離子傳感器和第一COD傳感器以及第二硝酸根離子傳感器、第二亞硝酸根離子傳感器和第二COD傳感器反饋的信息對污水提升泵、計量泵和質量流量計進行變頻調節,實現碳源的精準投加,有效防止COD超標和總氮超標。
3、本發明通過液位計配合控制器對蓄水罐內的液位高度進行檢測,并通過檢測結果對三通閥的狀態進行調節,控制從集水罩流出的水體的走向,蓄水罐內的水能夠作為碳源罐中碳源的溶劑,排水系統對水資源進行回收利用。
(發明人:王志偉;王武波;梁佶威;趙振宏;李可可;李丹;李宇霖)






