公布日:2023.04.07
申請日:2022.12.28
分類號:C02F1/66(2023.01)I;C02F1/52(2023.01)I;C02F11/122(2019.01)I;B01F27/75(2022.01)I;B01D21/06(2006.01)I;B01D21/24(2006.01)I;B01D21/28(2006.01)I
摘要
本發明公布了一種熄焦廢水處理裝置及其使用方法,屬于熄焦廢水處理技術領域,包括底板,底板上固定設置有混合反應池,混合反應池上設置有攪動組件和驅動組件,底板上設置有濃縮沉淀組件,通過設置4個改流隔板,將混合反應池分割為4個反應池,并且通過改流隔板對水流流向進行改變,增大流動路徑,從而提高反應時長,攪動組件和驅動組件的相互配合,能夠對混合反應池進行多級攪拌,相鄰兩個攪動圓板的轉動位置不同,從而進一步打亂混合反應池內部的水流旋向,提高藥劑混合效果,通過攪動組件、驅動組件、濃縮沉淀組件三者的相互配合,提高熄焦廢水處理的自動化程度,實現對熄焦廢水的循環利用。

權利要求書
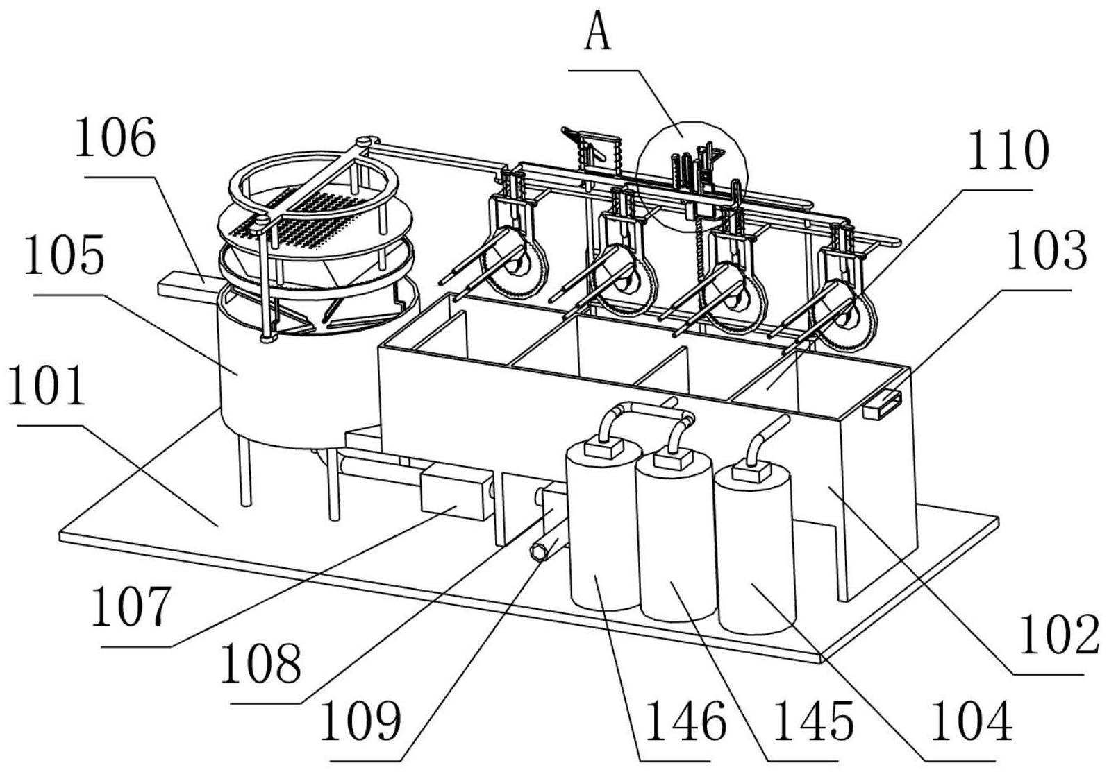
1.一種熄焦廢水處理裝置,包括底板(101),底板(101)上固定設置有混合反應池(102),其特征在于:所述混合反應池(102)上設置有攪動組件和驅動組件,攪動組件包括4個攪動底座(121),攪動底座(121)下端固定安裝有攪動齒環(120),攪動齒環(120)上轉動安裝有攪動條形板(127),攪動條形板(127)上轉動安裝有攪動圓板(122),攪動圓板(122)上固定設置有攪動柱齒輪(128)和4個攪動桿(123),攪動柱齒輪(128)和攪動齒環(120)構成齒輪副,驅動組件包括驅動滑板一(116)和驅動滑板二(117),驅動滑板一(116)和驅動滑板二(117)上均固定設置有兩個驅動滑座(124),驅動滑座(124)和攪動底座(121)滑動配合;所述底板(101)上設置有濃縮沉淀組件,濃縮沉淀組件包括濃縮沉底圓池(105),濃縮沉底圓池(105)的下端和混合反應池(102)的下端接通,濃縮沉底圓池(105)上滑動安裝有沉淀環形架(138),沉淀環形架(138)上固定安裝有斜管組(139)。
2.根據權利要求1所述的一種熄焦廢水處理裝置,其特征在于:所述攪動組件還包括抬升滑板(115)和曲柄轉板(125),所述攪動底座(121)均和抬升滑板(115)固定連接,攪動條形板(127)的側面固定設置有曲柄圓板(126),曲柄轉板(125)的一端和驅動滑座(124)轉動連接,曲柄轉板(125)的另一端和曲柄圓板(126)轉動連接在曲柄圓板(126)的偏心位置。
3.根據權利要求2所述的一種熄焦廢水處理裝置,其特征在于:所述驅動組件還包括驅動底座(114)和兩個輔助直齒條(133),驅動底座(114)和抬升滑板(115)滑動配合,驅動底座(114)上轉動安裝有抬升絲桿(112),抬升滑板(115)和抬升絲桿(112)構成螺旋副,驅動滑座(124)和攪動底座(121)之間設置有彈簧。
4.根據權利要求3所述的一種熄焦廢水處理裝置,其特征在于:所述驅動滑板一(116)和驅動滑板二(117)之間為滑動配合,其中一個輔助直齒條(133)滑動安裝在驅動滑板一(116)上,另一個輔助直齒條(133)固定安裝在驅動滑板二(117)上,驅動滑板一(116)上的輔助直齒條(133)和驅動滑板一(116)之間設置有彈簧片(134),所述抬升滑板(115)上轉動安裝有輔助柱齒輪(136),輔助柱齒輪(136)和兩個輔助直齒條(133)接合時均構成齒輪副。
5.根據權利要求4所述的一種熄焦廢水處理裝置,其特征在于:所述抬升滑板(115)上固定安裝有驅動電缸(129),驅動電缸(129)的輸出軸上固定設置有驅動底板(130),驅動底板(130)上固定設置有主動直齒條(131)和梯形板(132),梯形板(132)和驅動滑板一(116)上的輔助直齒條(133)接觸,輔助柱齒輪(136)的側面固定設置有主動柱齒輪(135),主動直齒條(131)和主動柱齒輪(135)接合時構成齒輪副。
6.根據權利要求5所述的一種熄焦廢水處理裝置,其特征在于:所述驅動滑板二(117)上滑動安裝有移位滑座(118),驅動滑板二(117)和移位滑座(118)之間設置有彈簧,抬升滑板(115)上轉動安裝有條形驅動轉板(119),移位滑座(118)和條形驅動轉板(119)活動連接,混合反應池(102)的側面固定設置有移位支柱(113)。
7.根據權利要求6所述的一種熄焦廢水處理裝置,其特征在于:所述濃縮沉淀組件還包括沉淀齒環(141),沉淀齒環(141)轉動安裝在沉淀環形架(138)上,所述抬升滑板(115)和沉淀環形架(138)固定連接,沉淀齒環(141)下端固定設置有4個齒條攪動條板(142),濃縮沉底圓池(105)的下端固定設置有淤泥導管(140),底板(101)上固定安裝有淤泥泵(107)和壓濾機(108),淤泥泵(107)和壓濾機(108)接通,淤泥泵(107)和淤泥導管(140)接通,壓濾機(108)上設置有二級出水口(109)和淤泥出口(137)。
8.根據權利要求7所述的一種熄焦廢水處理裝置,其特征在于:所述混合反應池(102)內設置有4個改流隔板(110),改流隔板(110)將混合反應池(102)分割成4個反應池,所述底板(101)上固定設置有絮凝劑藥桶(104)、酸性藥劑桶(145)、堿性藥劑桶(146),絮凝劑藥桶(104)、酸性藥劑桶(145)、堿性藥劑桶(146)均設置有水泵和混合反應池(102)接通,濃縮沉底圓池(105)上端設置有一級出水口(106),混合反應池(102)上端設置有進水口(103)。
9.一種使用如權利要求1-8任一項所述的熄焦廢水處理裝置的使用方法,其特征在于,包括以下步驟:步驟一:驅動抬升絲桿(112)轉動,使得抬升滑板(115)滑動,使得攪動桿(123)和斜管組(139)沒入水中,啟動驅動電缸(129),在主動直齒條(131)的作用下驅動主動柱齒輪(135)轉動,進而使得驅動滑板一(116)和驅動滑板二(117)相對發生滑動,即在攪動齒環(120)的作用下,使得攪動圓板(122)即發生自轉也發生公轉,實現對混合反應池(102)內進行攪拌,驅動沉淀齒環(141)轉動,使得齒條攪動條板(142)對濃縮沉底圓池(105)底部進行攪動,開啟淤泥泵(107)和壓濾機(108);步驟二:熄焦廢水通過進水口(103)加入混合反應池(102)中,通過絮凝劑藥桶(104)上的水泵向混合反應池(102)中加入絮凝劑,通過酸性藥劑桶(145)上的水泵或者堿性藥劑桶(146)上的水泵向混合反應池(102)中加入酸或堿進行PH值的調節,熄焦廢水經過被改流隔板(110)分割成4個池子的混合反應池(102),以及在四級攪拌的作用下,完成料液與藥劑的充分混合,并且相鄰兩個攪動圓板(122)的轉動位置不同,從而進一步打亂混合反應池(102)內部的水流旋向,提高藥劑混合效果;步驟三:與藥劑混合后的料液進入濃縮沉底圓池(105),在齒條攪動條板(142)和斜管組(139)的作用下完成沉淀和澄清,溢流水經過一級出水口(106)返回熄焦水池,完成水的閉環利用;步驟四:斜管組(139)濃縮后,底部沉淀的污泥由淤泥泵(107)打入壓濾機(108),壓濾處理后,濾液從二級出水口(109)返回熄焦水池循環利用,壓縮后的淤泥從淤泥出口(137)排出。
發明內容
本發明針對現有技術上的缺陷,提供了一種熄焦廢水處理裝置及其使用方法,克服攪拌混合過程較為單一,無法實現充分的混合,并且不便于對內部進行清理的問題。
為實現上述目的,本發明提供如下技術方案一種熄焦廢水處理裝置,包括底板,底板上固定設置有混合反應池,混合反應池上設置有攪動組件和驅動組件,攪動組件包括4個攪動底座,攪動底座下端固定安裝有攪動齒環,攪動齒環上轉動安裝有攪動條形板,攪動條形板上轉動安裝有攪動圓板,攪動圓板上固定設置有攪動柱齒輪和4個攪動桿,攪動柱齒輪和攪動齒環構成齒輪副,驅動組件包括驅動滑板一和驅動滑板二,驅動滑板一和驅動滑板二上均固定設置有兩個驅動滑座,驅動滑座和攪動底座滑動配合,底板上設置有濃縮沉淀組件,濃縮沉淀組件包括濃縮沉底圓池,濃縮沉底圓池的下端和混合反應池的下端接通,濃縮沉底圓池上滑動安裝有沉淀環形架,沉淀環形架上固定安裝有斜管組。
進一步地,攪動組件還包括抬升滑板和曲柄轉板,攪動底座均和抬升滑板固定連接,攪動條形板的側面固定設置有曲柄圓板,曲柄轉板的一端和驅動滑座轉動連接,曲柄轉板的另一端和曲柄圓板轉動連接在曲柄圓板的偏心位置。
進一步地,驅動組件還包括驅動底座和兩個輔助直齒條,驅動底座和抬升滑板滑動配合,驅動底座上轉動安裝有抬升絲桿,抬升滑板和抬升絲桿構成螺旋副,驅動滑座和攪動底座之間設置有彈簧。
進一步地,驅動滑板一和驅動滑板二之間為滑動配合,其中一個輔助直齒條滑動安裝在驅動滑板一上,另一個輔助直齒條固定安裝在驅動滑板二上,驅動滑板一上的輔助直齒條和驅動滑板一之間設置有彈簧片,抬升滑板上轉動安裝有輔助柱齒輪,輔助柱齒輪和兩個輔助直齒條接合時均構成齒輪副。
進一步地,抬升滑板上固定安裝有驅動電缸,驅動電缸的輸出軸上固定設置有驅動底板,驅動底板上固定設置有主動直齒條和梯形板,梯形板和驅動滑板一上的輔助直齒條接觸,輔助柱齒輪的側面固定設置有主動柱齒輪,主動直齒條和主動柱齒輪接合時構成齒輪副。
進一步地,驅動滑板二上滑動安裝有移位滑座,驅動滑板二和移位滑座之間設置有彈簧,抬升滑板上轉動安裝有條形驅動轉板,移位滑座和條形驅動轉板活動連接,混合反應池的側面固定設置有移位支柱。
進一步地,濃縮沉淀組件還包括沉淀齒環,沉淀齒環轉動安裝在沉淀環形架上,抬升滑板和沉淀環形架固定連接,沉淀齒環下端固定設置有4個齒條攪動條板,濃縮沉底圓池的下端固定設置有淤泥導管,底板上固定安裝有淤泥泵和壓濾機,淤泥泵和壓濾機接通,淤泥泵和淤泥導管接通,壓濾機上設置有二級出水口和淤泥出口。
進一步地,混合反應池內設置有4個改流隔板,改流隔板將混合反應池分割成4個反應池,底板上固定設置有絮凝劑藥桶、酸性藥劑桶、堿性藥劑桶,絮凝劑藥桶、酸性藥劑桶、堿性藥劑桶均設置有水泵和混合反應池接通,濃縮沉底圓池上端設置有一級出水口,混合反應池上端設置有進水口。
一種熄焦廢水處理裝置的使用方法,包括以下步驟:
步驟一:驅動抬升絲桿轉動,使得抬升滑板滑動,使得攪動桿和斜管組沒入水中,啟動驅動電缸,在主動直齒條的作用下驅動主動柱齒輪轉動,進而使得驅動滑板一和驅動滑板二相對發生滑動,即在攪動齒環的作用下,使得攪動圓板即發生自轉也發生公轉,實現對混合反應池內進行攪拌,驅動沉淀齒環轉動,使得齒條攪動條板對濃縮沉底圓池底部進行攪動,開啟淤泥泵和壓濾機;
步驟二:熄焦廢水通過進水口加入混合反應池中,通過絮凝劑藥桶上的水泵向混合反應池中加入絮凝劑,通過酸性藥劑桶上的水泵或者堿性藥劑桶上的水泵向混合反應池中加入酸或堿進行PH值的調節,熄焦廢水經過被改流隔板分割成4個池子的混合反應池,以及在四級攪拌的作用下,完成料液與藥劑的充分混合,并且相鄰兩個攪動圓板的轉動位置不同,從而進一步打亂混合反應池內部的水流旋向,提高藥劑混合效果;
步驟三:與藥劑混合后的料液進入濃縮沉底圓池,在齒條攪動條板和斜管組的作用下完成沉淀和澄清,溢流水經過一級出水口返回熄焦水池,完成水的閉環利用;
步驟四:斜管組濃縮后,底部沉淀的污泥由淤泥泵打入壓濾機,壓濾處理后,濾液從二級出水口返回熄焦水池循環利用,壓縮后的淤泥從淤泥出口排出。
本發明與現有技術相比的有益效果是:(1)本發明通過設置4個改流隔板,將混合反應池分割為4個反應池,并且通過改流隔板對水流流向進行改變,增大流動路徑,從而提高反應時長。(2)本發明通過設置攪動組件和驅動組件的相互配合,能夠對混合反應池進行多級攪拌,相鄰兩個攪動圓板的轉動位置不同,從而進一步打亂混合反應池內部的水流旋向,提高藥劑混合效果。(3)本發明通過攪動組件、驅動組件、濃縮沉淀組件三者的相互配合,提高熄焦廢水處理的自動化程度,實現對熄焦廢水的循環利用。
(發明人:林孝仁;林建亮;林用;聞宇)






