公布日:2023.11.21
申請日:2023.10.09
分類號:C02F1/00(2023.01)I;C02F1/52(2023.01)I;B01D29/03(2006.01)I;B01D29/96(2006.01)I;B01D21/06(2006.01)I;B01D21/24(2006.01)I;B01D29/68(2006.01)I;B01F35
/80(2022.01)I;B01F101/00(2022.01)N
摘要
本發明涉及自潔型一體化污水凈化處理設備技術領域,公開了一種自潔型一體化污水凈化處理設備,包括沉淀桶,所述沉淀桶的一側固定連接有第三套筒,所述第三套筒圓周外表面的上下均開設有第三連接孔,所述第三套筒的圓周外表面上活動套接有第三齒輪,所述第三齒輪的圓周外表面下側開設有第二連接孔,所述第三齒輪圓周外表面上活動套接有第一套筒,所述第一套筒的圓周外表面上下兩側均開設有第一連接孔,所述第一套筒的一側固定連接著第三套筒。本發明所述的一種自潔型自潔型一體化污水凈化處理設備及工作方法方便了污水處理設備進行自我清潔,方便了方便定量投放藥品進行污水沉淀,方便了對過濾網進行維修更換。

權利要求書
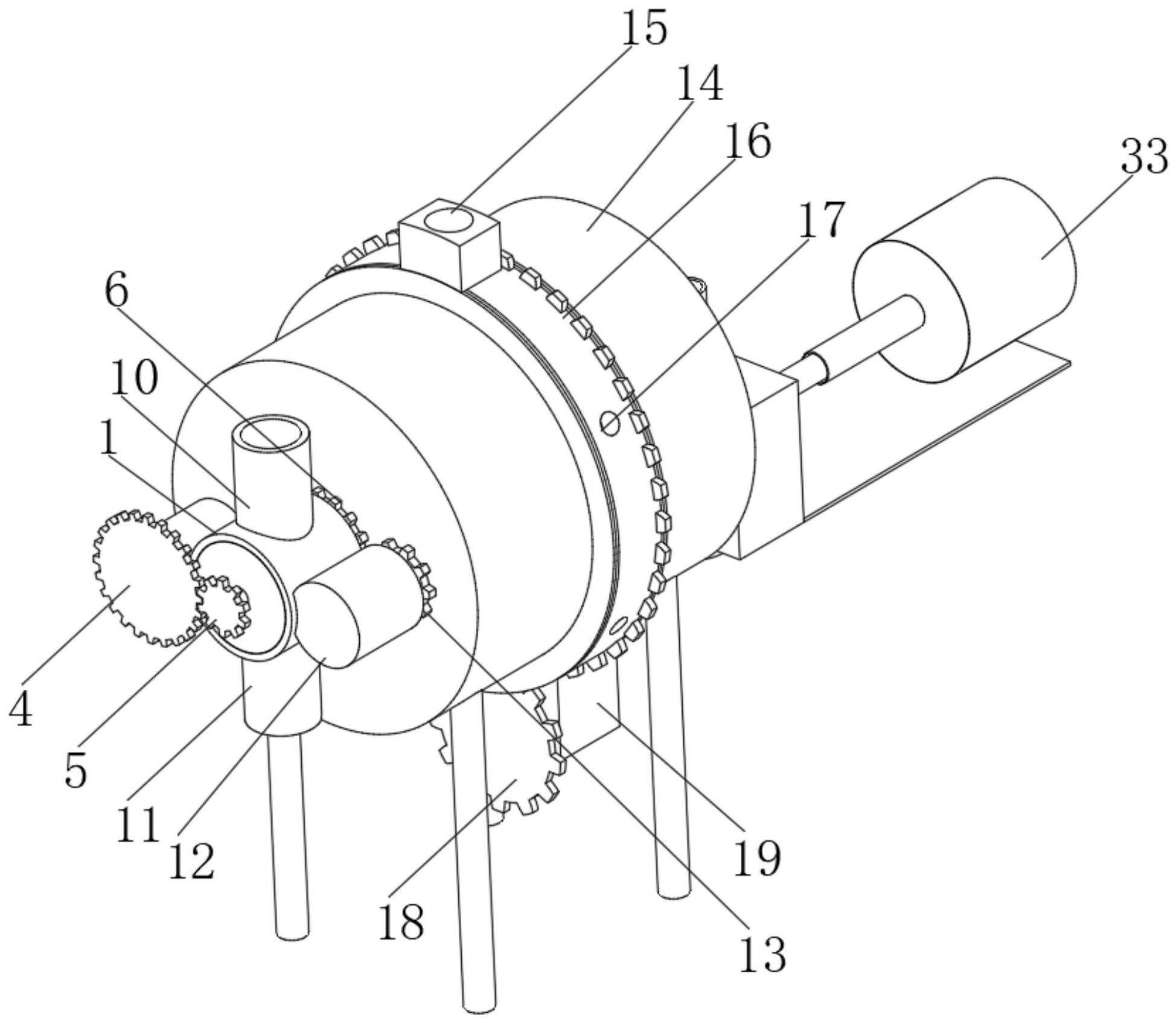
1.一種自潔型一體化污水凈化處理設備,其特征在于:包括沉淀桶(14),所述沉淀桶(14)的一側固定連接有第三套筒(8),所述第三套筒(8)圓周外表面的上下均開設有第三連接孔(9),所述第三套筒(8)的圓周外表面上活動套接有第三齒輪(6),所述第三齒輪(6)的圓周外表面下側開設有第二連接孔(7),所述第三齒輪(6)圓周外表面上活動套接有第一套筒(1),所述第一套筒(1)的圓周外表面上下兩側均開設有第一連接孔(2),所述第一套筒(1)的一側固定連接著第三套筒(8),所述第一套筒(1)的圓周外表面一側固定連接有第二電機(12),所述第二電機(12)的一側活動連接有第四齒輪(13),所述第四齒輪(13)的一側齒接著第三齒輪(6),所述第一套筒(1)的圓周外表面上方在第一連接孔(2)外側固定連接有進水管(10),所述所述第一套筒(1)的圓周外表面下方在第一連接孔(2)外側固定連接有出水管(11)。
2.根據權利要求1所述的一種自潔型一體化污水凈化處理設備,其特征在于:所述第三套筒(8)的外側開設有第一安裝孔,所述第一安裝孔內活動有第一傳動桿,所述第一傳動桿的外側一端固定連接有第二齒輪(5),所述第一套筒(1)的圓周外表面上的一側固定連接有第一電機(3),所述第一電機(3)的一側活動連接有第一齒輪(4),所述第一齒輪(4)的一側齒接著第二齒輪(5)。
3.根據權利要求2所述的一種自潔型一體化污水凈化處理設備,其特征在于:所述第一傳動桿在的沉淀桶(14)內部一端固定連接有刮板(22),所述刮板(22)的外側抵接著沉淀桶(14)的內壁,所述刮板(22)的兩側內部均等距固定連接有兩個攪拌板(23)。
4.根據權利要求3所述的一種自潔型一體化污水凈化處理設備,其特征在于:所述沉淀桶(14)的圓周外表面上等距固定連接有兩個限位板(25),兩個所述限位板(25)中間抵接有第五齒輪(16),且所述第五齒輪(16)抵接著沉淀桶(14)的外壁,所述第五齒輪(16)的圓周外表上等距開設有若干第一通過槽(17),一個所述限位板(25)的上方固定連接有存藥盒(15),所述存藥盒(15)的下方開設有出藥孔,且所述出藥孔與鄰近的第一通過槽(17)圓心對齊,所述沉淀桶(14)的外壁上在兩個限位板(25)中間開設有第二通過槽(20),且所述第二通過槽(20)與鄰近的第一通過槽(17)圓心對齊,所述沉淀桶(14)的外壁下方等距固定連接有四個支腿(26),所述第五齒輪(16)的下方齒接有第六齒輪(18),所述第六齒輪(18)的一側固定連接有第三電機(19),所述第三電機(19)的一側固定連接著沉淀桶(14)。
5.根據權利要求4所述的一種自潔型一體化污水凈化處理設備,其特征在于:所述沉淀桶(14)的一側開設有第二安裝孔,所述第二安裝孔內穿過有第二傳動桿,所述第二傳動桿的外側固定連接有第四電機(27),所所述第四電機(27)的上方固定連接有第一安裝板,所述第一安裝板的一側固定連接著沉淀桶(14),所述第二傳動桿的內側固定連接有密封板(24),所述密封板(24)的一側抵接著刮板(22)。
6.根據權利要求5所述的一種自潔型一體化污水凈化處理設備,其特征在于:所述密封板(24)的一側下方開設有密封孔,所述沉淀桶(14)的一側開設有固定孔,且所述密封孔與固定孔大小相同圓心對應,所述沉淀桶(14)的一側在固定孔的外側固定連接有連接筒。
7.根據權利要求6所述的一種自潔型一體化污水凈化處理設備,其特征在于:所述連接筒的一側固定連接有分流盒(28),所述分流盒(28)的上方固定連接有反沖管(29),所述反沖管(29)的中間固定連接有閥門(30),所述分流盒(28)的下方固定連接有排液管(31),所述排液管(31)的下端活動套接有蓋板(32)。
8.根據權利要求7所述的一種自潔型一體化污水凈化處理設備,其特征在于:所述分流盒(28)的一側開設有第三安裝孔,所述第三安裝孔內活動抵接有堵板(34),所述堵板(34)中間固定套接有電動推桿(33),所述電動推桿(33)的外側下方固定連接有第二安裝板,所述第二安裝板的一側固定連接著分流盒(28)。
9.根據權利要求8所述的一種自潔型一體化污水凈化處理設備,其特征在于:所述電動推桿(33)的一端開設有固定槽,所述固定槽內活動抵接有卡板(37),所述卡板(37)的一側固定連接有過濾板(35),所述過濾板(35)抵接著連接筒的內壁,所述過濾板(35)的一側固定連接有第三安裝板,所述第三安裝板的下方固定連接有彈簧(38),所述彈簧(38)的外側活動套接有安裝筒,所述安裝筒的一側固定連接著第三安裝板,所述彈簧(38)的下端固定連接有卡桿(39),所述卡桿(39)上固定套接有把手(40),所述卡板(37)上開設有第一限位孔,所述電動推桿(33)的一側開設有第二限位孔,所述卡桿(39)穿過第一限位孔和第二限位孔。
10.一種自潔型一體化污水凈化處理設備的使用方法,其特征在于:采用如權利要求1-9任意所述的一種自潔型一體化污水凈化處理設備,具體使用步驟如下:S1、在使用時,將支腿(26)放置在水平平面上,啟動第二電機(12),第二電機(12)通過第四齒輪(13)帶動第三齒輪(6)旋轉,直至第三齒輪(6)轉動至帶動第二連接孔(7)與上方的第一連接孔(2)和第三連接孔(9)對齊,從進水管(10)注入污水,污水經過第一連接孔(2)、第二連接孔(7)和第三連接孔(9)進入第三套筒(8)內,污水從第三套筒(8)進入沉淀桶(14),啟動第三電機(19),第三電機(19)通過第六齒輪(18)帶動第五齒輪(16)旋轉,在存藥盒(15)內加入藥品,在第五齒輪(16)勻速轉動的過程中,當第五齒輪(16)上的第一通過槽(17)與第二通過槽(20)和出藥孔對齊時,存藥盒(15)內的藥品即可經過第一通過槽(17)與第二通過槽(20)和出藥孔進入沉淀桶(14),啟動第四電機(27),第四電機(27)通過第二傳動桿帶動密封板(24)旋轉,直至密封板(24)上的密封孔不再與固定孔對齊,此時污水停留在沉淀桶(14)內經過藥品處理進行沉淀;S2、當污水處理沉淀完畢后,啟動第四電機(27),第四電機(27)通過第二傳動桿帶動密封板(24)旋轉,直至密封板(24)上的密封孔與固定孔對齊,此時沉淀桶(14)內污水經過密封孔和固定孔進入連接筒,污水經過過濾板(35)過濾后進入分流盒(28),打開蓋板(32),污水經過排液管(31)排出;S3、當需要污水處理設備進行內部自潔時,打開閥門(30),從反沖管(29)注水,水流通過分流盒(28)進入連接筒對過濾板(35)上的污物進行反沖,水流經過連接筒進入沉淀桶(14)內,啟動第一電機(3),第一電機(3)通過第一齒輪(4)帶動第二齒輪(5)旋轉,第二齒輪(5)通過第一傳動桿帶動刮板(22)旋轉,刮板(22)對沉淀桶(14)內壁內壁和密封板(24)上的沉淀污物進行刮除,水流帶動被刮除的沉淀污物進入第三套筒(8),然后水流經過第一連接孔(2)、第二連接孔(7)和第三連接孔(9)從出水管(11)排出并將污物排出,此時污水處理設備的內部實現自我清潔;S4、當需要對過濾網進行維修更換時,啟動電動推桿(33),直至電動推桿(33)通過卡桿(39)帶動過濾板(35)離開連接筒和分流盒(28),向上推動把手(40),直至把手(40)帶動卡桿(39)遠離卡板(37),此時即可取下過濾板(35),反向操作即可安裝過濾板(35)。
發明內容
本發明的主要目的在于提供一種自潔型自潔型一體化污水凈化處理設備及工作方法,解決了現有的自潔型一體化污水凈化處理設備不方便進行內部清潔,影響設備處理污水效率,現有的自潔型一體化污水凈化處理設備不方便定量投放藥品進行污水沉淀,現有的自潔型一體化污水凈化處理設備的過濾網不方便進行更換的問題。
為實現上述目的,本發明采取的技術方案為:
一種自潔型一體化污水凈化處理設備,包括沉淀桶,所述沉淀桶的一側固定連接有第三套筒,所述第三套筒圓周外表面的上下均開設有第三連接孔,所述第三套筒的圓周外表面上活動套接有第三齒輪,所述第三齒輪的圓周外表面下側開設有第二連接孔,所述第三齒輪圓周外表面上活動套接有第一套筒,所述第一套筒的圓周外表面上下兩側均開設有第一連接孔,所述第一套筒的一側固定連接著第三套筒,所述第一套筒的圓周外表面一側固定連接有第二電機,所述第二電機的一側活動連接有第四齒輪,所述第四齒輪的一側齒接著第三齒輪,所述第一套筒的圓周外表面上方在第一連接孔外側固定連接有進水管,所述所述第一套筒的圓周外表面下方在第一連接孔外側固定連接有出水管。
進一步的,所述第三套筒的外側開設有第一安裝孔,所述第一安裝孔內活動有第一傳動桿,所述第一傳動桿的外側一端固定連接有第二齒輪,所述第一套筒的圓周外表面上的一側固定連接有第一電機,所述第一電機的一側活動連接有第一齒輪,所述第一齒輪的一側齒接著第二齒輪。
進一步的,所述第一傳動桿在的沉淀桶內部一端固定連接有刮板,所述刮板的外側抵接著沉淀桶的內壁,所述刮板的兩側內部均等距固定連接有兩個攪拌板。
進一步的,所述沉淀桶的圓周外表面上等距固定連接有兩個限位板,兩個所述限位板中間抵接有第五齒輪,且所述第五齒輪抵接著沉淀桶的外壁,所述第五齒輪的圓周外表上等距開設有若干第一通過槽,一個所述限位板的上方固定連接有存藥盒,所述存藥盒的下方開設有出藥孔,且所述出藥孔與鄰近的第一通過槽圓心對齊,所述沉淀桶的外壁上在兩個限位板中間開設有第二通過槽,且所述第二通過槽與鄰近的第一通過槽圓心對齊,所述沉淀桶的外壁下方等距固定連接有四個支腿,所述第五齒輪的下方齒接有第六齒輪,所述第六齒輪的一側固定連接有第三電機,所述第三電機的一側固定連接著沉淀桶。
進一步的,所述沉淀桶的一側開設有第二安裝孔,所述第二安裝孔內穿過有第二傳動桿,所述第二傳動桿的外側固定連接有第四電機,所所述第四電機的上方固定連接有第一安裝板,所述第一安裝板的一側固定連接著沉淀桶,所述第二傳動桿的內側固定連接有密封板,所述密封板的一側抵接著刮板。
進一步的,所述密封板的一側下方開設有密封孔,所述沉淀桶的一側開設有固定孔,且所述密封孔與固定孔大小相同圓心對應,所述沉淀桶的一側在固定孔的外側固定連接有連接筒。
進一步的,所述連接筒的一側固定連接有分流盒,所述分流盒的上方固定連接有反沖管,所述反沖管的中間固定連接有閥門,所述分流盒的下方固定連接有排液管,所述排液管的下端活動套接有蓋板。
進一步的,所述分流盒的一側開設有第三安裝孔,所述第三安裝孔內活動抵接有堵板,所述堵板中間固定套接有電動推桿,所述電動推桿的外側下方固定連接有第二安裝板,所述第二安裝板的一側固定連接著分流盒。
進一步的,所述電動推桿的一端開設有固定槽,所述固定槽內活動抵接有卡板,所述卡板的一側固定連接有過濾板,所述過濾板抵接著連接筒的內壁,所述過濾板的一側固定連接有第三安裝板,所述第三安裝板的下方固定連接有彈簧,所述彈簧的外側活動套接有安裝筒,所述安裝筒的一側固定連接著第三安裝板,所述彈簧的下端固定連接有卡桿,所述卡桿上固定套接有把手,所述卡板上開設有第一限位孔,所述電動推桿的一側開設有第二限位孔,所述卡桿穿過第一限位孔和第二限位孔。
本發明還提供了一種自潔型一體化污水凈化處理設備的使用方法,具體使用步驟如下:
S1、在使用時,將支腿放置在水平平面上,啟動第二電機,第二電機通過第四齒輪帶動第三齒輪旋轉,直至第三齒輪轉動至帶動第二連接孔與上方的第一連接孔和第三連接孔對齊,從進水管注入污水,污水經過第一連接孔、第二連接孔和第三連接孔進入第三套筒內,污水從第三套筒進入沉淀桶,啟動第三電機,第三電機通過第六齒輪帶動第五齒輪旋轉,在存藥盒內加入藥品,在第五齒輪勻速轉動的過程中,當第五齒輪上的第一通過槽與第二通過槽和出藥孔對齊時,存藥盒內的藥品即可經過第一通過槽與第二通過槽和出藥孔進入沉淀桶,啟動第四電機,第四電機通過第二傳動桿帶動密封板旋轉,直至密封板上的密封孔不再與固定孔對齊,此時污水停留在沉淀桶內經過藥品處理進行沉淀;
S2、當污水處理沉淀完畢后,啟動第四電機,第四電機通過第二傳動桿帶動密封板旋轉,直至密封板上的密封孔與固定孔對齊,此時沉淀桶內污水經過密封孔和固定孔進入連接筒,污水經過過濾板過濾后進入分流盒,打開蓋板,污水經過排液管排出;
S3、當需要污水處理設備進行內部自潔時,打開閥門,從反沖管注水,水流通過分流盒進入連接筒對過濾板上的污物進行反沖,水流經過連接筒進入沉淀桶內,啟動第一電機,第一電機通過第一齒輪帶動第二齒輪旋轉,第二齒輪通過第一傳動桿帶動刮板旋轉,刮板對沉淀桶內壁內壁和密封板上的沉淀污物進行刮除,水流帶動被刮除的沉淀污物進入第三套筒,然后水流經過第一連接孔、第二連接孔和第三連接孔從出水管排出并將污物排出,此時污水處理設備的內部實現自我清潔;
S4、當需要對過濾網進行維修更換時,啟動電動推桿,直至電動推桿通過卡桿帶動過濾板離開連接筒和分流盒,向上推動把手,直至把手帶動卡桿遠離卡板,此時即可取下過濾板,反向操作即可安裝過濾板。
與現有技術相比,本發明具有如下有益效果:
1、本發明通過第三齒輪的設置,方便了污水處理設備進行內部清潔,打開閥門,從反沖管注水,水流通過分流盒進入連接筒對過濾板上的污物進行反沖,水流經過連接筒進入沉淀桶內,啟動第一電機,第一電機通過第一齒輪帶動第二齒輪旋轉,第二齒輪通過第一傳動桿帶動刮板旋轉,刮板對沉淀桶內壁內壁和密封板上的沉淀污物進行刮除,水流帶動被刮除的沉淀污物進入第三套筒,然后水流經過第一連接孔、第二連接孔和第三連接孔從出水管排出并將污物排出,此時污水處理設備的內部實現自我清潔,通過這樣的設置,方便了污水處理設備進行自我清潔。
2、本發明通過第五齒輪的設置,方便了方便定量投放藥品進行污水沉淀,啟動第三電機,第三電機通過第六齒輪帶動第五齒輪旋轉,在存藥盒內加入藥品,在第五齒輪勻速轉動的過程中,當第五齒輪上的第一通過槽與第二通過槽和出藥孔對齊時,存藥盒內的藥品即可經過第一通過槽與第二通過槽和出藥孔進入沉淀桶,因為第五齒輪勻速轉動,所以此時單位時間內進入沉淀桶的藥品量固定,實現定量投放藥品,通過這樣的設置,方便了方便定量投放藥品進行污水沉淀。
3、本發明通過卡板的設置,方便了對過濾網進行維修更換,啟動電動推桿,直至電動推桿通過卡桿帶動過濾板離開連接筒和分流盒,向上推動把手,直至把手帶動卡桿遠離卡板,此時即可取下過濾板,通過這樣的設置,方便了對過濾網進行維修更換。
該裝置中未涉及部分均與現有技術相同或可采用現有技術加以實現。
(發明人:關玲玲;王穎)






