公布日:2023.04.07
申請日:2022.12.28
分類號:D06F39/08(2006.01)I;D06F39/00(2020.01)I;H02J7/35(2006.01)I
摘要
本發明公開了一種洗衣機漂洗廢水收集節水裝置,包括收集框和漂洗廢水出管,收集框的一側固定安裝有初步收集箱,初步收集箱的一側固定安裝有進水管,進水管與漂洗廢水出管通過接頭進行連接,初步收集箱與收集框通過輸水組件進行連通,洗衣機在對衣服進行漂洗后,漂洗的水通過漂洗廢水出管排出,并通過連接的進水管,將水輸送至初步收集箱內,通過初步收集箱內的輸水組件,能夠將輸送進來的漂洗水,輸送至收集框內,在輸水管的端部設有防濺擋板,防濺擋板能夠有效避免在輸水過程中,有水滴濺起的問題,能夠將漂洗的廢水進行收集,當需要沖洗廁所或者洗拖把時,可以將收集的水進行利用,從而達到節水的目的,避免大量的水資源浪費。

權利要求書
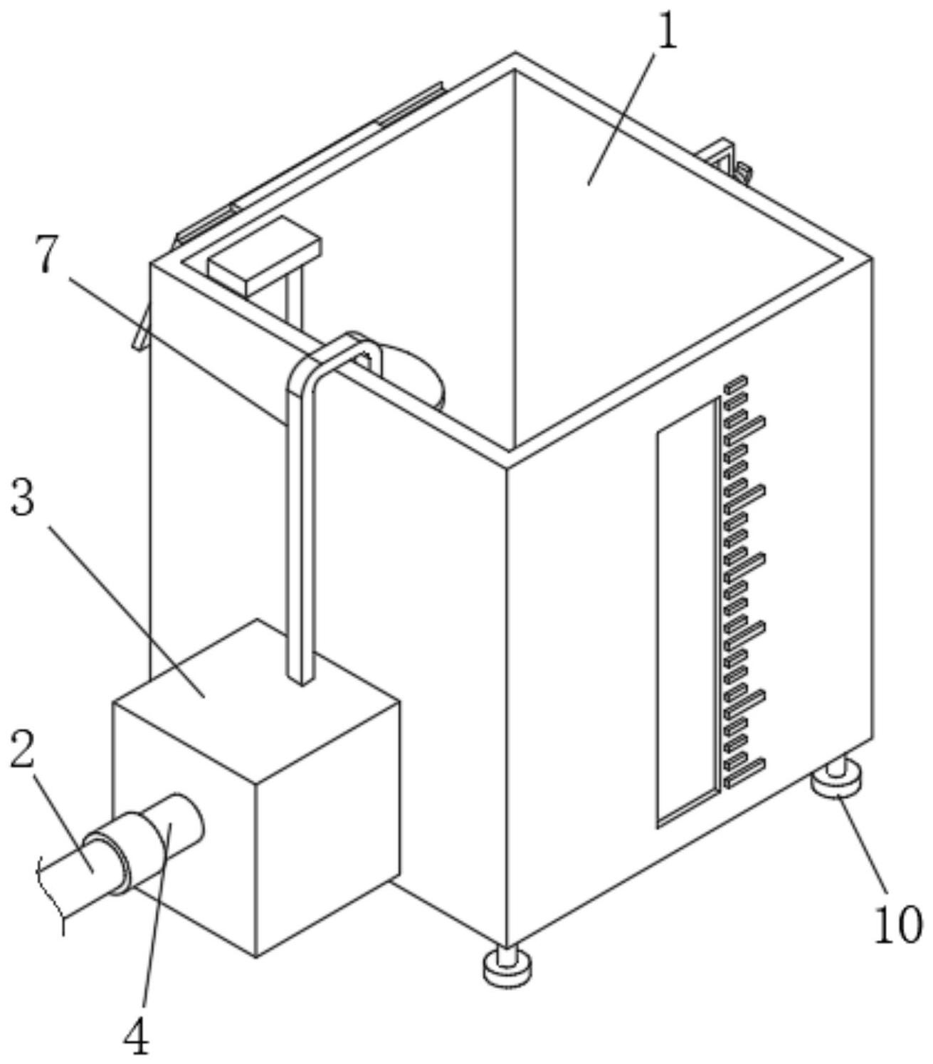
1.一種洗衣機漂洗廢水收集節水裝置,包括收集框(1)和漂洗廢水出管(2),其特征在于,所述收集框(1)的一側固定安裝有初步收集箱(3),初步收集箱(3)的一側固定安裝有進水管(4),進水管(4)與漂洗廢水出管(2)通過接頭進行連接,所述初步收集箱(3)與收集框(1)通過輸水組件進行連通,所述收集框(1)內安裝有水位升高自動排放組件,所述收集框(1)的一側設有出水管(13),出水管(13)上設有控制閥門(14),所述收集框(1)上安裝有電力供應組件。
2.根據權利要求1所述的一種洗衣機漂洗廢水收集節水裝置,其特征在于,所述水位升高自動排放組件包括固定安裝在收集框(1)底側內壁上的兩個滑動導桿(15),收集框(1)的一側內壁上固定安裝有頂部固定塊(16),兩個滑動導桿(15)的頂端固定安裝在頂部固定塊(16)的底側上,頂部固定塊(16)的底側固定安裝有第一導電塊(17),兩個滑動導桿(15)上滑動套接有同一個浮板(18),浮板(18)的頂側固定安裝有第二導電塊(20),第一導電塊(17)和第二導電塊(20)相適配,所述收集框(1)上安裝有排水組件。
3.根據權利要求2所述的一種洗衣機漂洗廢水收集節水裝置,其特征在于,所述浮板(18)的頂側開設有兩個導向孔(19),兩個滑動導桿(15)的頂端分別活動貫穿兩個導向孔(19),浮板(18)的頂側固定安裝有底部防護框(21),第二導電塊(20)位于底部防護框(21)內。
4.根據權利要求2所述的一種洗衣機漂洗廢水收集節水裝置,其特征在于,所述排水組件包括開設在收集框(1)底側內壁上的排水孔(27),收集框(1)的底側固定安裝有排水管(28),排水管(28)與排水孔(27)相連通,所述收集框(1)上開設有安裝槽(29),安裝槽(29)內固定安裝有伸縮電機(30),伸縮電機(30)的輸出軸安裝有伸縮桿(31),伸縮桿(31)的一端固定安裝有阻擋板(33),安裝槽(29)的一側內壁上開設有擋板槽(32),擋板槽(32)與排水孔(27)相連通,阻擋板(33)阻擋住擋板槽(32)。
5.根據權利要求1所述的一種洗衣機漂洗廢水收集節水裝置,其特征在于,所述電力供應組件包括開設在收集框(1)上的電池槽(22),電池槽(22)內安裝有電池組(23),收集框(1)的一側開設有插電槽(24),所述收集框(1)的一側固定安裝有太陽能架(25),太陽能架(25)上安裝有太陽能板(26)。
6.根據權利要求1所述的一種洗衣機漂洗廢水收集節水裝置,其特征在于,所述輸水組件包括開設在初步收集箱(3)上的收集腔(5),收集腔(5)的底側內壁上安裝有水泵(6),水泵(6)的頂側連接有輸水管(7),輸水管(7)的頂端延伸至收集框(1)內。
7.根據權利要求6所述的一種洗衣機漂洗廢水收集節水裝置,其特征在于,所述收集框(1)的一側內壁上固定安裝有防濺擋板(8),輸水管(7)的底端貫穿防濺擋板(8)。
8.根據權利要求1所述的一種洗衣機漂洗廢水收集節水裝置,其特征在于,所述收集框(1)的一側開設有觀察窗(11),收集框(1)的一側設有水深刻度(12),水深刻度(12)設置在觀察窗(11)的一側,收集框(1)的底側內壁上開設有沉淀槽(9)。
9.根據權利要求1所述的一種洗衣機漂洗廢水收集節水裝置,其特征在于,所述收集框(1)的一側固定安裝有掛鉤(34),掛鉤(34)上掛有水瓢(35),收集框(1)的底側四角位置均安裝有支撐腳(10)。
10.根據權利要求1所述的一種洗衣機漂洗廢水收集節水方法,該方法包括:步驟一:洗衣機將漂洗后的水通過漂洗廢水出管(2)和進水管(4),輸送至初步收集箱(3)內,便于漂洗水的排出;步驟二:初步收集箱(3)內輸送進來的漂洗水,通過輸水組件輸出,并輸送至收集框(1)內,進行漂洗廢水收集利用,使用時可以通過出水管(13)放水,也可以通過水瓢(35)取水使用,從而達到節水的目的;步驟三:漂洗水在輸送至收集框(1)內時,收集框(1)內設有水位升高自動排放組件,當輸送進來的水位過高后,在水位升高自動排放組件的作用下,能夠將過多的水通過排水管(28),排放至下水管道內,避免水位過高造成溢出的問題;步驟四:設置的電力供應組件,能夠通過電池組(23)內存儲電量,進行電力供應,洗衣機放置在陽臺,可以利用陽光照在太陽能板(26),進行電力供應補充,也可以直接通過插電槽(24),進行電力補充,電力供應選擇多。
發明內容
針對現有技術的不足,本發明提供了一種洗衣機漂洗廢水收集節水裝置,用于解決漂洗后的水相對干凈,都是直接排放,這樣造成洗衣機用水量大,水資源浪費的問題。
為了實現上述目的,本發明采用了如下技術方案:
一種洗衣機漂洗廢水收集節水裝置,包括收集框和漂洗廢水出管,所述收集框的一側固定安裝有初步收集箱,初步收集箱的一側固定安裝有進水管,進水管與漂洗廢水出管通過接頭進行連接,所述初步收集箱與收集框通過輸水組件進行連通,所述收集框內安裝有水位升高自動排放組件,所述收集框的一側設有出水管,出水管上設有控制閥門,所述收集框上安裝有電力供應組件。
優選的,所述水位升高自動排放組件包括固定安裝在收集框底側內壁上的兩個滑動導桿,收集框的一側內壁上固定安裝有頂部固定塊,兩個滑動導桿的頂端固定安裝在頂部固定塊的底側上,頂部固定塊的底側固定安裝有第一導電塊,兩個滑動導桿上滑動套接有同一個浮板,浮板的頂側固定安裝有第二導電塊,第一導電塊和第二導電塊相適配,所述收集框上安裝有排水組件。
優選的,所述浮板的頂側開設有兩個導向孔,兩個滑動導桿的頂端分別活動貫穿兩個導向孔,浮板的頂側固定安裝有底部防護框,第二導電塊位于底部防護框內。
優選的,所述排水組件包括開設在收集框底側內壁上的排水孔,收集框的底側固定安裝有排水管,排水管與排水孔相連通,所述收集框上開設有安裝槽,安裝槽內固定安裝有伸縮電機,伸縮電機的輸出軸安裝有伸縮桿,伸縮桿的一端固定安裝有阻擋板,安裝槽的一側內壁上開設有擋板槽,擋板槽與排水孔相連通,阻擋板阻擋住擋板槽。
優選的,所述電力供應組件包括開設在收集框上的電池槽,電池槽內安裝有電池組,收集框的一側開設有插電槽,所述收集框的一側固定安裝有太陽能架,太陽能架上安裝有太陽能板。
優選的,所述輸水組件包括開設在初步收集箱上的收集腔,收集腔的底側內壁上安裝有水泵,水泵的頂側連接有輸水管,輸水管的頂端延伸至收集框內。
優選的,所述收集框的一側內壁上固定安裝有防濺擋板,輸水管的底端貫穿防濺擋板。
優選的,所述收集框的一側開設有觀察窗,收集框的一側設有水深刻度,水深刻度設置在觀察窗的一側,收集框的底側內壁上開設有沉淀槽。
優選的,所述收集框的一側固定安裝有掛鉤,掛鉤上掛有水瓢,收集框的底側四角位置均安裝有支撐腳。
一種洗衣機漂洗廢水收集節水方法,該方法包括:
步驟一:洗衣機將漂洗后的水通過漂洗廢水出管和進水管,輸送至初步收集箱內,便于漂洗水的排出;
步驟二:初步收集箱內輸送進來的漂洗水,通過輸水組件輸出,并輸送至收集框內,進行漂洗廢水收集利用,使用時可以通過出水管放水,也可以通過水瓢取水使用,從而達到節水的目的;
步驟三:漂洗水在輸送至收集框內時,收集框內設有水位升高自動排放組件,當輸送進來的水位過高后,在水位升高自動排放組件的作用下,能夠將過多的水通過排水管,排放至下水管道內,避免水位過高造成溢出的問題;
步驟四:設置的電力供應組件,能夠通過電池組內存儲電量,進行電力供應,洗衣機放置在陽臺,可以利用陽光照在太陽能板,進行電力供應補充,也可以直接通過插電槽,進行電力補充,電力供應選擇多。
與現有技術相比,本發明的有益效果是:
1、本發明中,該洗衣機漂洗廢水收集節水裝置,洗衣機在對衣服進行漂洗后,漂洗的水通過漂洗廢水出管排出,并通過連接的進水管,將水輸送至初步收集箱內,然后通過初步收集箱內的輸水組件,輸水組件上的水泵運行,能夠將輸送進來的漂洗水,通過輸水管輸送至收集框內,在輸水管的端部設有防濺擋板,防濺擋板能夠有效避免在輸水過程中,有水滴濺起的問題,能夠將漂洗的廢水,進行收集,當需要沖洗廁所或者洗拖把時,可以將收集的水進行利用,從而達到節水的目的,避免大量的水資源浪費;
2、本發明中,在收集漂洗的廢水過程中,漂洗的水又不斷的輸送,會造成水位過高,此時水位升高自動排放組件上的浮板將會在水的浮力作用下向上飄起,能夠帶動第二導電塊向上移動,當水位升高到一定的高度后,第二導電塊與第一導電塊接觸后,此時伸縮電機通電運行,伸縮電機運行能夠帶動伸縮桿移動,伸縮桿移動帶動阻擋板移動,阻擋板移動過程中,能夠將排水孔通道打開,收集框內過多的水,將會排出,排出的水通過房間的下水管道排走,從而避免輸送進來的水位過多,造成溢出,弄濕陽臺的問題,阻擋板的兩面均為密封橡膠,能夠有效保障密封性;
3、本發明中,在收集框上設有電力供應組件,電力供應組件上電池組,能夠直接為伸縮電機進行供電,當電池組沒有電時,可以將通電的插頭直接插在插電槽內,進行電池組供電,收集框放置在陽臺上,陽臺能夠受到陽光的照射,設置的太陽能板,能夠利用太陽能光照,對電池組進行電力供應,電力供應的方式多種,且利用太陽能供電,節能環保,在收集框的一側設有觀察窗,能夠觀察收集框內的水位高度,從而及時的發現水位情況。
(發明人:許磊;司海瑞;范俊飛;袁琮;袁波;李育富;賴建輝)






