公布日:2023.04.07
申請日:2022.12.16
分類號:C02F1/00(2023.01)I
摘要
本發明涉及廢水處理裝置技術領域,具體涉及一種脫水反應釜廢水處理裝置,包括圓筒、過濾單元、動力單元、輔助單元、進藥單元、抽吸單元和控制單元;所述圓筒頂端和底部側面分別開設有進水口和出水口;所述圓筒外壁上分別開設有兩個圓孔;所述圓筒內部固定安裝有過濾單元;所述圓筒頂部固定安裝有動力單元;所述圓筒外部固定安裝有輔助單元;所述圓筒外壁上固定安裝有進藥單元;所述圓筒內部固定安裝有抽吸單元;所述過濾單元、動力單元、抽吸單元和進藥單元分別與控制單元電連接,本發明不僅可以在同一個裝置內進行連續不同反應,還可以進行二次反應,大大提高了廢水的處理效率,縮短了廢水處理的時間,同時也能使得廢水處理更加徹底。

權利要求書
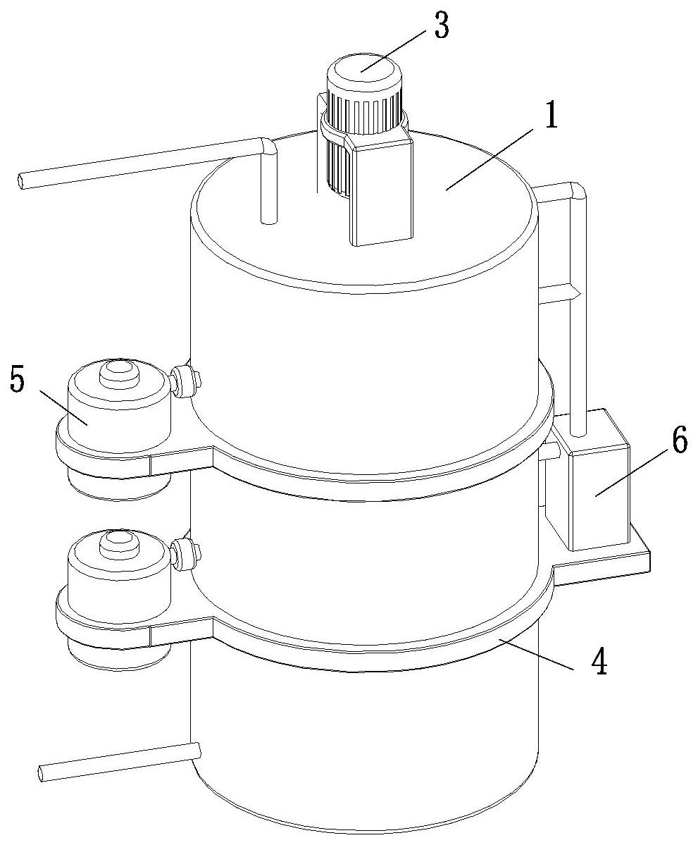
1.一種脫水反應釜廢水處理裝置,包括圓筒(1)、過濾單元(2)、動力單元(3)、輔助單元(4)、進藥單元(5)、抽吸單元(6)和控制單元;其特征在于:所述圓筒(1)頂端和底部側面分別開設有進水口(11)和出水口(12);所述圓筒(1)外壁上分別開設有兩個圓孔(13);所述圓筒(1)內部固定安裝有過濾單元(2);所述過濾單元(2)用于過濾雜質;所述圓筒(1)頂部固定安裝有動力單元(3);所述動力單元(3)用于驅動過濾網;所述圓筒(1)外部固定安裝有輔助單元(4);所述輔助單元(4)用于輸送液體;所述圓筒(1)外壁上固定安裝有進藥單元(5);所述進藥單元(5)用于控制進藥量;所述圓筒(1)內部固定安裝有抽吸單元(6);所述抽吸單元(6)用于抽取雜質;所述過濾單元(2)、動力單元(3)、抽吸單元(6)和進藥單元(5)分別與控制單元電連接。
2.根據權利要求1所述的一種脫水反應釜廢水處理裝置,其特征在于:所述過濾單元(2)包括一號擋板(21)、二號擋板(22)、一號電磁閥(23)、二號電磁閥(24)、一號過濾網(25)、二號過濾網(26)和三號過濾網(27);所述一號擋板(21)和二號擋板(22)為圓形結構;所述一號擋板(21)和二號擋板(22)圓心位置分別開設有通孔(28);所述一號擋板(21)和二號擋板(22)四周向圓心位置傾斜30°;所述一號擋板(21)和二號檔板分別水平固定安裝在圓筒(1)底部內壁的三分之一處和三分之二處;所述一號擋板(21)和二號檔板圓心位置通孔(28)底部分別固定安裝有一號電磁閥(23)和二號電磁閥(24);所述一號擋板(21)和二號擋板(22)圓心位置通孔(28)頂部分別固定安裝有一號過濾網(25)和二號過濾網(26);所述三號過濾網(27)轉動安裝在圓筒(1)頂部內壁上。
3.根據權利要求2所述的一種脫水反應釜廢水處理裝置,其特征在于:所述動力單元(3)包括一號支架(31)、轉動電機(32)和轉軸(33);所述一號支架(31)固定安裝在圓筒(1)頂端;所述一號支架(31)上豎直固定安裝有轉動電機(32);所述轉動電機(32)上固定安裝有轉軸(33);所述轉軸(33)與三號過濾網(27)固定安裝。
4.根據權利要求3所述的一種脫水反應釜廢水處理裝置,其特征在于:所述輔助單元(4)包括水管(41)和二號支架(42);所述二號支架(42)固定安裝在圓筒(1)外表面上;所述水管(41)分別與圓筒(1)頂端進水口(11)和圓筒(1)底部側面出水口(12)密封連接。
5.根據權利要求4所述的一種脫水反應釜廢水處理裝置,其特征在于:所述進藥單元(5)包括一號藥罐(51)、二號藥罐(52)、三號電磁閥(53)和四號電磁閥(54);所述三號電磁閥(53)和四號電磁閥(54)一端分別固定安裝在圓筒(1)外壁的圓孔(13)上;所述三號電磁閥(53)和四號電磁閥(54)另一端分別與一號藥罐(51)和二號藥罐(52)固定安裝,且所述一號藥罐(51)和二號藥罐(52)分別豎直固定安裝在二號支架(42)上。
6.根據權利要求5所述的一種脫水反應釜廢水處理裝置,其特征在于:所述抽吸單元(6)包括一號吸管(61)、二號吸管(62)、三號吸管(63)和雜質泵(64);所述一號吸管(61)、二號吸管(62)和三號吸管(63)分別呈彎曲狀;所述一號吸管(61)一段固定安裝在圓筒(1)頂端內壁;所述一號吸管(61)另一段垂直位于三號過濾網(27)徑向二分之一處上方;且所述一號吸管(61)另一段的自由端到三號過濾網(27)的距離在2-5cm之間;所述二號吸管(62)一段固定安裝在圓筒(1)內壁上;所述二號吸管(62)另一段垂直位于二號擋板(22)通孔(28)上方,且所述二號吸管(62)另一段的自由端到通孔(28)的距離在2-5cm之間;所述三號吸管(63)一段固定安裝在二號擋板(22)底部上;所述三號吸管(63)另一段垂直位于一號擋板(21)通孔(28)上方,且三號吸管(63)另一段的自由端到通孔(28)的距離在2-5cm之間;所述一號吸管(61)、二號吸管(62)和三號吸管(63)一段的自由端分別貫穿圓筒(1)內壁與外部雜質泵(64)密封連接,且所述雜質泵(64)固定安裝在二號支架(42)上。
7.根據權利要求6所述的一種脫水反應釜廢水處理裝置,其特征在于:所述一號擋板(21)和二號擋板(22)內部固定安裝有加熱管(7)。
8.根據權利要求7所述的一種脫水反應釜廢水處理裝置,其特征在于:所述一號擋板(21)和二號擋板(22)內部分別固定安裝有超聲波發生器(8),且所述超聲波發生器(8)位于加熱管(7)之間。
9.根據權利要求8所述的一種脫水反應釜廢水處理裝置,其特征在于:所述圓筒(1)內壁一號擋板(21)和二號擋板(22)以上分別固定安裝有溫度傳感器。
10.根據權利要求9所述的一種脫水反應釜廢水處理裝置,其特征在于:所述超聲波發生器(8)外表面固定安裝有隔熱棉。
發明內容
本發明所要解決的技術問題:本發明提供了一種脫水反應釜廢水處理裝置,這不僅可以在同一個裝置內進行連續不同反應,還可以進行二次反應,反應過后自動清理雜質,減小了人工清理的勞動強度,大大提高了廢水的處理效率,縮短了廢水處理的時間,同時也能使得廢水處理更加徹底。
本發明提供以下技術方案:一種脫水反應釜廢水處理裝置,包括圓筒、過濾單元、動力單元、輔助單元、進藥單元、抽吸單元和控制單元;所述圓筒頂端和底部側面分別開設有進水口和出水口;所述圓筒外壁上分別開設有兩個圓孔;所述圓筒內部固定安裝有過濾單元;所述過濾單元用于過濾雜質;所述圓筒頂部固定安裝有動力單元;所述動力單元用于驅動過濾網;所述圓筒外部固定安裝有輔助單元;所述輔助單元用于輸送液體;所述圓筒外壁上固定安裝有進藥單元;所述進藥單元用于控制進藥量;所述圓筒內部固定安裝有抽吸單元;所述抽吸單元用于抽取雜質;所述過濾單元、動力單元、抽吸單元和進藥單元分別與控制單元電連接;所述控制單元分別控制過濾單元、動力單元、抽吸單元以及進藥單元的運作。
所述過濾單元包括一號擋板、二號擋板、一號電磁閥、二號電磁閥、一號過濾網、二號過濾網和三號過濾網;所述一號擋板和二號擋板為圓形結構;所述一號擋板和二號擋板圓心位置分別開設有通孔;所述一號擋板和二號擋板圓心位置分別開設有通孔用于處理過后的廢水流過;所述一號擋板和二號擋板四周向圓心位置傾斜30°;所述一號擋板和二號擋板四周向圓心位置傾斜30°是為了使得廢水能夠通過自身重量快速從通孔流出;所述一號擋板和二號擋板分別水平固定安裝在圓筒底部內壁的三分之一處和三分之二處;所述一號擋板和二號擋板圓心位置通孔底部分別固定安裝有一號電磁閥和二號電磁閥;所述一號擋板和二號擋板圓心位置通孔底部分別固定安裝有一號電磁閥和二號電磁閥用于控制處理過后廢水的流出;所述一號擋板和二號擋板圓心位置通孔頂部分別固定安裝有一號過濾網和二號過濾網;所述一號擋板和二號擋板圓心位置通孔頂部分別固定安裝有一號過濾網和二號過濾網用于過濾雜質,所述三號過濾網轉動安裝在圓筒頂部內壁上;所述三號過濾網轉動安裝在圓筒頂部內壁上用于初步將廢水中的大顆粒雜質過濾出。
所述動力單元包括一號支架、轉動電機和轉軸;所述一號支架固定安裝在圓筒頂端;所述一號支架固定安裝在圓筒頂端是為了固定轉動電機;所述一號支架上豎直固定安裝有轉動電機;所述轉動電機上固定安裝有轉軸;所述轉軸與三號過濾網固定安裝;所述轉軸與三號過濾網固定安裝是為了帶動三號過濾網轉動。
所述輔助單元包括水管和二號支架;所述二號支架固定安裝在圓筒外表面上;所述二號支架固定安裝在圓筒外表面上用于安裝進藥單元與抽吸單元;所述水管分別與圓筒頂端進水口和圓筒底部側面出水口密封連接,所述水管分別控制廢水從進水口流進,從出水口排出。
所述進藥單元包括一號藥罐、二號藥罐、三號電磁閥和四號電磁閥;所述三號電磁閥和四號電磁閥一端分別固定安裝在圓筒外壁的圓孔上;所述三號電磁閥和四號電磁閥另一端分別與一號藥罐和二號藥罐固定安裝,且所述一號藥罐和二號藥罐分別豎直固定安裝在二號支架上;所述三號電磁閥和四號電磁閥分別控制一號藥罐和二號藥罐內部藥劑的流出。
所述抽吸單元包括一號吸管、二號吸管、三號吸管和雜質泵;所述一號吸管、二號吸管和三號吸管分別呈彎曲狀;所述一號吸管一段固定安裝在圓筒頂端內壁;所述一號吸管另一段垂直位于三號過濾網徑向二分之一處上方;且所述一號吸管另一段的自由端到三號過濾網的距離在2-5cm之間;所述一號吸管另一段的自由端到三號過濾網的距離在2-5cm之間是為了使得一號吸管能夠更加徹底的將雜質全部抽取干凈;所述二號吸管一段固定安裝在圓筒內壁上;所述二號吸管另一段垂直位于二號擋板通孔上方,且所述二號吸管另一段的自由端到通孔的距離在2-5cm之間;所述二號吸管另一段的自由端到通孔的距離在2-5cm之間是為了使得二號吸管能夠更加徹底的將雜質全部抽取干凈;所述三號吸管一段固定安裝在二號擋板底部上;所述三號吸管另一段垂直位于一號擋板通孔上方,且三號吸管另一段的自由端到通孔的距離在2-5cm之間;所述三號吸管另一段的自由端到通孔的距離在2-5cm之間是為了三號吸管能夠更加徹底的將雜質全部抽取干凈;所述一號吸管、二號吸管和三號吸管一段的自由端分別貫穿圓筒內壁與外部雜質泵密封連接,且所述雜質泵固定安裝在二號支架上;所述雜質泵固定安裝在二號支架上是為了減少管道的長度,使得抽取更加徹底。
所述一號擋板和二號擋板內部固定安裝有加熱管;所述一號擋板和二號擋板內部固定安裝有加熱管用于對液體進行加熱。
所述一號擋板和二號擋板內部分別固定安裝有超聲波發生器,且所述超聲波發生器位于加熱管之間;一號擋板和二號擋板內部分別固定安裝有超聲波發生器用于發射超聲波。
所述圓筒內壁一號擋板和二號擋板以上分別固定安裝有溫度傳感器;所述圓筒內壁一號擋板和二號擋板以上分別固定安裝有溫度傳感器用于檢測廢水的溫度。
所述超聲波發生器外表面固定安裝有隔熱棉;所述超聲波發生器外表面固定安裝有隔熱棉用于隔熱,防止加熱管在加熱時溫度升高,損壞了超聲波發生器。
本發明的有益效果如下:
1.本發明通過在圓筒外壁上固定安裝有進藥單元,通過一號藥罐和二號藥罐儲存藥劑,三號電磁閥和四號電磁閥分別控制不同的藥劑按一定的劑量加入裝置內部,實現了廢水連續進行兩次不同的反應,實現了操作簡單,同時也避免不同特殊藥劑之間發生反應。
2.本發明通過在圓筒內部固定安裝有過濾單元,通過一號擋板和二號擋板上的加熱管和超聲波發生器以及圓筒內壁上的溫度傳感器,實時檢測廢水溫度,使得廢水和藥劑混合更加均勻,在最適宜的溫度下反應更加充分徹底,同時通過一號擋板和二號擋板上的一號電磁閥和二號電磁閥控制反應后的液體流向下一個空腔進行反應排出,大大提高了廢水反應的效率。
3.本發明通過在圓筒內部固定安裝有抽吸單元,通過吸管以及雜質泵,可以將圓筒內部一號擋板和二號擋板上反應過后的雜質以及三號過濾網上的雜質抽取出來,減小了人工清理的勞動強度,也節省的清理的時間,同時通過雜質泵將雜質吸取出,節約了用水。
(發明人:洪建敏;程亦迪;朱良德;方斌;程典武;舒鑫;章小芹)






