公布日:2023.04.07
申請日:2022.12.30
分類號:C02F1/461(2023.01)I;C02F1/30(2023.01)I
摘要
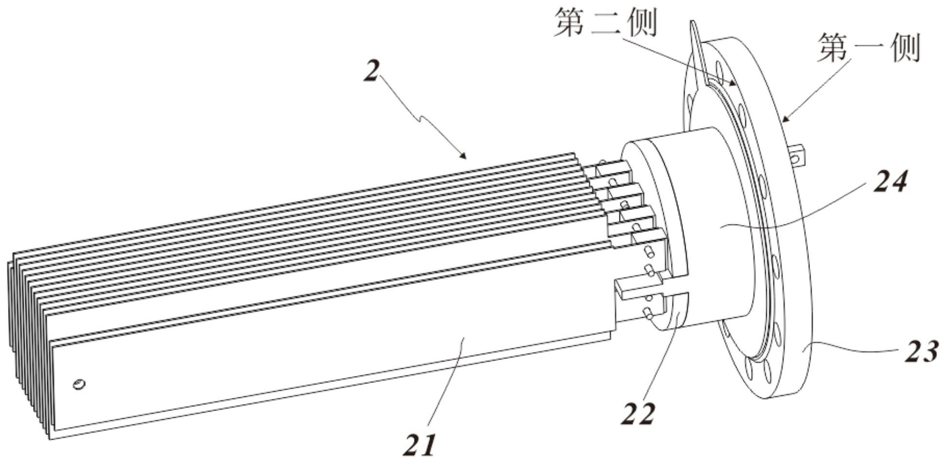
本申請公開了一種適用于廢水處理的電化學反應裝置,反應裝置包括反應罐,用于提供容納廢水的反應腔室;其中,反應罐設有若干與反應腔室連通的罐體孔;適用于廢水處理的電化學反應裝置還包括若干電極單元,若干電極單元包含用于實現放電的電極板;其中,電極單元還包含接頭件,用于連接電極板;電極單元還包含法蘭蓋,用于將電極單元可拆卸的安裝至反應罐;其中,接頭件包含安裝塊和接線柱;安裝塊設置于法蘭蓋與第一側相對的第二側以使法蘭蓋安裝至反應罐時電極板通過罐體孔懸置在反應腔室的內部。通過將若干電極單元可拆卸連接至反應罐,當某一電極單元發生故障時可單獨對其進行拆卸而不影響其他電極單元工作。

權利要求書
1.一種適用于廢水處理的電化學反應裝置,包括:反應罐,用于提供容納廢水的反應腔室;其中,所述反應罐設有若干與所述反應腔室連通的罐體孔;其特征在于:所述適用于廢水處理的電化學反應裝置還包括:若干電極單元,包含用于實現放電的電極板;其中,所述電極單元還包含:接頭件,用于連接所述電極板;法蘭蓋,用于將所述電極單元可拆卸的安裝至所述反應罐;其中,所述接頭件包含安裝塊和接線柱,其中,所述安裝部設有安裝孔;所述接線柱至少部分穿過所述法蘭蓋以設置在所述法蘭蓋的第一側;所述法蘭蓋設有若干供所述接線柱穿過的接線孔;所述安裝塊設置于所述法蘭蓋與所述第一側相對的第二側以使所述法蘭蓋安裝至所述反應罐時所述電極板通過所述罐體孔懸置在所述反應腔室的內部。
2.根據權利要求1所述的適用于廢水處理的電化學反應裝置,其特征在于:所述電極板分為陽極板和陰極板;所述接頭件分為陽極接頭和陰極接頭,其中,所述陽極板固定連接至所述陽極接頭,所述陰極板固定連接至所述陰極接頭。
3.根據權利要求2所述的適用于廢水處理的電化學反應裝置,其特征在于:所述電極單元還包含:絕緣座,至少部分設置在所述陽極接頭和陰極接頭之間以使它們之間絕緣隔離。
4.根據權利要求3所述的適用于廢水處理的電化學反應裝置,其特征在于:所述絕緣座包括:分隔部和基座部,其中,所述分隔部形成于所述陽極接頭和陰極接頭之間;所述基座部形成于所述接頭件與所述法蘭蓋之間。
5.根據權利要求4所述的適用于廢水處理的電化學反應裝置,其特征在于:所述基座部設有分別供所述陽極接頭和陰極接頭的穿過的基座孔。
6.根據權利要求5所述的適用于廢水處理的電化學反應裝置,其特征在于:所述接頭件還包含:卡接塊;所述卡接塊與所述絕緣座分別接觸;所述安裝塊和所述接線柱分別設置在所述卡接塊的相對的兩側。
7.根據權利要求6所述的適用于廢水處理的電化學反應裝置,其特征在于:所述卡接盤具有一個卡接邊,若干所述安裝孔沿所述卡接邊延伸的方向設置;所述接線柱沿垂直于所述卡接邊延伸的方向延伸。
8.根據權利要求6所述的適用于廢水處理的電化學反應裝置,其特征在于:所述接頭件還包含:定位柱;所述定位柱與所述接線柱設置于所述卡接盤的同側且穿過所述法蘭蓋以設置在所述法蘭蓋的第一側。
9.根據權利要求6所述的適用于廢水處理的電化學反應裝置,其特征在于:所述電極板和所述接頭件采用導電材料制成,所述法蘭蓋和所述絕緣座采用絕緣材料制成。
10.根據權利要求1至9任意一項所述的適用于廢水處理的電化學反應裝置中的電極單元。
發明內容
本申請的內容部分用于以簡要的形式介紹構思,這些構思將在后面的具體實施方式部分被詳細描述。本申請的內容部分并不旨在標識要求保護的技術方案的關鍵特征或必要特征,也不旨在用于限制所要求的保護的技術方案的范圍。
為解決以上背景技術部分提到的技術問題,本申請的一些實施例提供了一種適用于廢水處理的電化學反應裝置,反應裝置包括反應罐,用于提供容納廢水的反應腔室;其中,反應罐設有若干與反應腔室連通的罐體孔;適用于廢水處理的電化學反應裝置還包括若干電極單元,若干電極單元包含用于實現放電的電極板;其中,電極單元還包含接頭件,用于連接電極板;電極單元還包含法蘭蓋,用于將電極單元可拆卸的安裝至反應罐;其中,接頭件包含安裝塊和接線柱,其中,安裝部設有安裝孔;接線柱至少部分穿過法蘭蓋以設置在法蘭蓋的第一側;法蘭蓋設有若干供接線柱穿過的接線孔;安裝塊設置于法蘭蓋與第一側相對的第二側以使法蘭蓋安裝至反應罐時電極板通過罐體孔懸置在反應腔室的內部。
進一步的,電極板分為陽極板和陰極板;接頭件分為陽極接頭和陰極接頭,其中,陽極板固定連接至陽極接頭,陰極板固定連接至陰極接頭。
進一步的,電極單元還包含絕緣座,至少部分設置在陽極接頭和陰極接頭之間以使它們之間絕緣隔離。
進一步的,絕緣座包括分隔部和基座部,其中,分隔部形成于陽極接頭和陰極接頭之間;基座部形成于接頭件與法蘭蓋之間。
進一步的,基座部設有分別供陽極接頭和陰極接頭的穿過的基座孔。
進一步的,接頭件還包含:卡接塊;卡接塊與絕緣座分別接觸;安裝塊和接線柱分別設置在卡接塊的相對的兩側。
進一步的,卡接盤具有一個卡接邊,若干安裝孔沿卡接邊延伸的方向設置;接線柱沿垂直于卡接邊延伸的方向延伸。
進一步的,接頭件還包含:定位柱;定位柱與接線柱設置于卡接盤的同側且穿過法蘭蓋以設置在法蘭蓋的第一側。
進一步的,電極板和接頭件采用導電材料制成,法蘭蓋和絕緣座采用絕緣材料制成。
作為本申請的另一方面,本申請的一些實施例提供了適用于廢水處理的電化學反應裝置中的電極單元。
本申請的有益效果在于:提供了一種適用于廢水處理的電化學反應裝置,通過將若干電極單元可拆卸連接至反應罐,當某一電極單元發生故障時可單獨對其進行拆卸而不影響其他電極單元工作。
(發明人:姜筆存;袁浩;于偉華;王徐林;萬成;宋均軻)






