公布日:2023.11.21
申請日:2023.10.09
分類號:C02F9/00(2023.01)I;C02F7/00(2006.01)I;C02F1/00(2023.01)N;C02F1/50(2023.01)N
摘要
本發明涉及污水處理領域,具體為一種具備曝氣機構污水治理裝置及治理方法,解決了在通過藻類對污水進行曝氣處理時,曝氣器安裝位置靠近污水池中心,導致曝氣處理時污水池中的水體內氣體分布不均勻,導致藻類集中生長,藻類會因為對污水的處理導致生長速度增加,不進行定期處理會導致水體發臭,人工清理時間長、效率低的問題。一種具備曝氣機構污水治理裝置及治理方法,包括污水池、沉淀池、曝氣池、消毒池和靜置池,所述曝氣池的上表面安裝有曝氣模塊,所述曝氣模塊的上方安裝有漂浮藻類定期處理模塊。本發明可以保證曝氣池中的藻類處于最佳數量,避免藻類數量過多而導致曝氣池中的水體發臭,且清理速度塊,相較于人工清理效率高且節省成本。

權利要求書
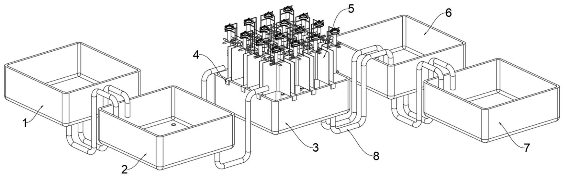
1.一種具備曝氣機構污水治理裝置,包括污水池(1)、沉淀池(2)、曝氣池(3)、消毒池(6)和靜置池(7),所述污水池(1)與沉淀池(2)、所述沉淀池(2)與曝氣池(3)、所述曝氣池(3)與消毒池(6)、所述消毒池(6)與靜置池(7)之間均連接有送水管(8),其特征在于:所述曝氣池(3)的上表面安裝有曝氣模塊(4),所述曝氣模塊(4)的上方安裝有漂浮藻類定期處理模塊(5);所述曝氣模塊(4)包括懸掛架(401),所述懸掛架(401)卡接在曝氣池(3)的上端,所述懸掛架(401)的中間穿插安裝有曝氣器(402),所述曝氣器(402)的頂端連接有曝氣連接管(403);所述懸掛架(401)包括多個中間連接板(4011),多個中間連接板(4011)矩形陣列分布且中間貫穿設有插接孔(4012),所述插接孔(4012)的內徑與曝氣器(402)的外徑一致,所述曝氣器(402)通過插接孔(4012)與懸掛架(401)連接,所述插接孔(4012)的四周均固定有連接板(4013),所述中間連接板(4011)與相鄰的中間連接板(4011)均通過連接板(4013)進行連接,位于最外側的連接板(4013)的外端向下呈九十度彎曲并搭接在曝氣池(3)頂端;所述漂浮藻類定期處理模塊(5)包括驅動組件,所述懸掛架(401)上方設置有驅動組件,所述驅動組件上設置有驅動旋轉桶(502),所述驅動組件用于驅動旋轉桶(502),所述旋轉桶(502)的底端外壁上固定有四個用于對藻類進行切割的藻類旋轉收集板(503);所述漂浮藻類定期處理模塊(5)還包括多個分隔隔板(501),所述分隔隔板(501)的底端與懸掛架(401)滑動接觸,縱向相鄰的兩個分隔隔板(501)頂端之間固定有連接片(520),所述連接片(520)的一側固定有升降塊(508),所述升降塊(508)的內部安裝有升降電機(525),所述升降電機(525)的輸出軸外側固定有升降齒輪(524),所述升降齒輪(524)的一側嚙合連接有套管齒輪(523),所述套管齒輪(523)的軸向安裝有內螺紋套管(522),所述套管齒輪(523)固定在內螺紋套管(522)的外表面,所述內螺紋套管(522)的外側螺紋連接有導向絲桿(521),所述導向絲桿(521)的頂端貫穿升降塊(508)的頂端,所述導向絲桿(521)的底端貫穿升降塊(508)的底端且固定在懸掛架(401)的表面;所述分隔隔板(501)的上方安裝有支撐板(513),所述驅動組件包括驅動電機(514),所述支撐板(513)的表面固定有驅動電機(514),所述驅動電機(514)的輸出軸外部固定有驅動齒輪(515),所述驅動齒輪(515)的一側嚙合連接有輸送齒輪(516),所述輸送齒輪(516)的軸向安裝有輸送螺旋槳(512),所述輸送螺旋槳(512)的頂端貫穿支撐板(513)和輸送齒輪(516)固定連接,所述輸送螺旋槳(512)安裝在旋轉桶(502)內,所述輸送齒輪(516)的下方安裝有傳動皮帶輪(517),所述傳動皮帶輪(517)的外側套有同步皮帶(519),所述同步皮帶(519)遠離傳動皮帶輪(517)的端部內側安裝有同步皮帶輪(518),所述同步皮帶輪(518)的下方設有同步齒輪(510),所述同步齒輪(510)的一側嚙合連接有旋轉齒輪盤(509)且旋轉齒輪盤(509)固定在旋轉桶(502)的外表面,所述同步齒輪(510)和同步皮帶輪(518)的軸向安裝有同步軸桿(511),所述同步軸桿(511)的頂端貫穿同步齒輪(510)和同步皮帶輪(518),所述支撐板(513)的外側固定有兩個支撐桿(505),兩個所述支撐桿(505)的底端與分隔隔板(501)的頂端內壁固定連接;所述同步軸桿(511)的下方安裝有支撐架(506),所述支撐架(506)套在旋轉桶(502)的外側且頂端與旋轉齒輪盤(509)的底面接觸,所述同步軸桿(511)的底端旋轉插接在支撐架(506)的上表面;所述藻類旋轉收集板(503)的一側表面開設有收集槽(504),所述旋轉桶(502)的頂端為開口而底端封閉,所述收集槽(504)的一端貫穿旋轉桶(502)的外壁并與旋轉桶(502)的內壁平齊。
2.根據權利要求1所述的一種具備曝氣機構污水治理裝置,其特征在于:所述支撐架(506)朝向兩個支撐桿(505)的側面與支撐桿(505)之間安裝有連接桿,所述連接桿的兩端分別與支撐架(506)和支撐桿(505)固定。
3.根據權利要求1所述的一種具備曝氣機構污水治理裝置,其特征在于:所述收集槽(504)的內壁為傾斜狀態,所述收集槽(504)傾斜的內壁與旋轉桶(502)的軸線之間夾角為一百二十度。
4.根據權利要求1所述的一種具備曝氣機構污水治理裝置,其特征在于:所述旋轉桶(502)的頂端外側固定有濾網(507),所述濾網(507)的兩側向上呈四十五度折疊在濾網(507)的上表面形成環形槽。
5.根據權利要求4所述的一種具備曝氣機構污水治理裝置,其特征在于:所述濾網(507)的底面分布有多個貫穿的濾孔,濾孔圍繞旋轉桶(502)的軸線陣列分布。
6.一種根據權利要求1-5中任意一項所述具備曝氣機構污水治理裝置的治理方法,其特征在于:所述治理方法包括以下步驟:S1:在曝氣池(3)中放入一定數量的藻類用于對污水中的雜質進行分解,然后在對污水進行曝氣處理時,首先接通裝置整體電源并啟動,電源啟動后曝氣器(402)通過曝氣連接管(403)連接的氣泵會順著曝氣連接管(403)向曝氣器(402)中輸送氣體,隨后通過穿插在懸掛架(401)中且底端插入污水中的曝氣器(402)將氣體送入污水中;S2:氣體通過曝氣器(402)進入污水中后會增加污水中的氧氣含量,污水中的氧氣含量增加后,培養在污水中的藻類會因為充足的氧氣而進行繁殖,并在繁殖過程中對污水中的雜質進行分解處理;S3:在長時間對污水進行曝氣處理后,曝氣池(3)中培養的藻類會由于水體中的氧氣含量過剩而進行過度繁殖,此時水體中的藻類數量會超出水體可以承受的藻類數量,此時需要對水體中的藻類進行控制;S4:在對水體中的藻類進行控制時,同時接通驅動電機(514)和升降電機(525)的電源,升降電機(525)啟動后會通過升降齒輪(524)和套管齒輪(523)驅動內螺紋套管(522)進行旋轉,內螺紋套管(522)旋轉后通過和導向絲桿(521)之間的螺紋傳動順著導向絲桿(521)向下移動,內螺紋套管(522)帶動升降塊(508)、連接片(520)和分隔隔板(501)向下移動,直至分隔隔板(501)的底端與曝氣池(3)的內壁底面接觸,此時旋轉桶(502)底端的藻類旋轉收集板(503)剛好一半浸入水中;S5:此時分隔隔板(501)會將曝氣池(3)中的藻類進行分隔,此時驅動電機(514)啟動并通過驅動齒輪(515)驅動輸送齒輪(516)、輸送螺旋槳(512)和傳動皮帶輪(517)同時轉動,傳動皮帶輪(517)通過同步皮帶(519)帶動同步皮帶輪(518)和同步軸桿(511)旋轉,同步軸桿(511)會通過同步齒輪(510)帶動旋轉齒輪盤(509)和旋轉桶(502)圍繞輸送螺旋槳(512)的軸線進行旋轉,且此時旋轉桶(502)的旋轉方向與輸送螺旋槳(512)的轉動方向相反,且由于同步齒輪(510)與旋轉齒輪盤(509)之間的傳動比大于驅動齒輪(515)和輸送齒輪(516)的傳動比,旋轉桶(502)和輸送螺旋槳(512)的旋轉速度也不相同;S6:旋轉桶(502)在帶動藻類旋轉收集板(503)旋轉時,會將水體表面漂浮的藻類送入收集槽(504)中,并順著收集槽(504)進入旋轉桶(502)內部,藻類混合水流進入旋轉桶(502)內部后,轉速較高的輸送螺旋槳(512)會將混合了藻類的污水運輸至旋轉桶(502)的頂端并從旋轉桶(502)的頂端流入濾網(507)中,在混合了藻類的污水進入濾網(507)后,污水會穿過濾網(507)回流至曝氣池(3)中,而藻類會被留在濾網(507)中,對曝氣池(3)中的藻類進行清除,避免藻類過渡生長使得水體發臭。
發明內容
本發明的目的在于提供一種具備曝氣機構污水治理裝置及治理方法,以解決上述背景技術中提出的在通過藻類對污水進行曝氣處理時,曝氣器安裝位置靠近污水池中心,導致曝氣處理時污水池中的水體內氣體分布不均勻,導致藻類集中生長,藻類會因為對污水的處理導致生長速度增加,不進行定期處理會導致水體發臭,人工清理時間長、效率低等問題。
為實現上述目的,本發明提供如下技術方案:一種具備曝氣機構污水治理裝置,包括污水池、沉淀池、曝氣池、消毒池和靜置池,所述污水池與沉淀池、所述沉淀池與曝氣池、所述曝氣池與消毒池、所述消毒池與靜置池之間均連接有送水管,所述曝氣池的上表面安裝有曝氣模塊,所述曝氣模塊的上方安裝有漂浮藻類定期處理模塊;
所述曝氣模塊包括懸掛架,所述懸掛架卡接在曝氣池的上端,所述懸掛架的中間穿插安裝有曝氣器,所述曝氣器的頂端連接有曝氣連接管;
所述懸掛架包括多個中間連接板,多個中間連接板矩形陣列分布且中間貫穿設有插接孔,所述插接孔的內徑與曝氣器的外徑一致,所述曝氣器通過插接孔與懸掛架連接,所述插接孔的四周均固定有連接板,所述中間連接板與相鄰的中間連接板均通過連接板進行連接,位于最外側的連接板的外端向下呈九十度彎曲并搭接在曝氣池頂端。
所述漂浮藻類定期處理模塊包括驅動組件,所述懸掛架上方設置有驅動組件,所述驅動組件上設置有驅動旋轉桶,所述驅動組件用于驅動旋轉桶,所述旋轉桶的底端外壁上固定有四個用于對藻類進行切割的藻類旋轉收集板。
優選的,所述漂浮藻類定期處理模塊包括多個分隔隔板,所述分隔隔板的底端與懸掛架滑動接觸,縱向相鄰的兩個分隔隔板頂端之間固定有連接片,所述連接片的一側固定有升降塊,所述升降塊的內部安裝有升降電機,所述升降電機的輸出軸外側固定有升降齒輪,所述升降齒輪的一側嚙合連接有套管齒輪,所述套管齒輪的軸向安裝有內螺紋套管,所述套管齒輪固定在內螺紋套管的外表面,所述內螺紋套管的外側螺紋連接有導向絲桿,所述導向絲桿的頂端貫穿升降塊的頂端,所述導向絲桿的底端貫穿升降塊的底端且固定在懸掛架的表面。
優選的,所述分隔隔板的上方安裝有支撐板,所述驅動組件包括驅動電機,所述支撐板的表面固定有驅動電機,所述驅動電機的輸出軸外部固定有驅動齒輪,所述驅動齒輪的一側嚙合連接有輸送齒輪,所述輸送齒輪的軸向安裝有輸送螺旋槳,所述輸送螺旋槳的頂端貫穿支撐板和輸送齒輪固定連接,所述輸送螺旋槳安裝在旋轉桶內,所述輸送齒輪的下方安裝有傳動皮帶輪,所述傳動皮帶輪的外側套有同步皮帶,所述同步皮帶遠離傳動皮帶輪的端部內側安裝有同步皮帶輪,所述同步皮帶輪的下方設有同步齒輪,所述同步齒輪的一側嚙合連接有旋轉齒輪盤且旋轉齒輪盤固定在旋轉桶的外表面,所述同步齒輪和同步皮帶輪的軸向安裝有同步軸桿,所述同步軸桿的頂端貫穿同步齒輪和同步皮帶輪,所述支撐板的外側固定有兩個支撐桿,兩個所述支撐桿的底端與分隔隔板的頂端內壁固定連接。
優選的,所述同步軸桿的下方安裝有支撐架,所述支撐架套在旋轉桶的外側且頂端與旋轉齒輪盤的底面接觸,所述同步軸桿的底端旋轉插接在支撐架的上表面。
優選的,所述支撐架朝向兩個支撐桿的側面與支撐桿之間安裝有連接桿,所述連接桿的兩端分別與支撐架和支撐桿固定。
優選的,所述藻類旋轉收集板的一側表面開設有收集槽,所述旋轉桶的頂端為開口而底端封閉,所述收集槽的一端貫穿旋轉桶的外壁并與旋轉桶的內壁平齊。
優選的,所述收集槽的內壁為傾斜狀態,所述收集槽傾斜的內壁與旋轉桶的軸線之間夾角為一百二十度。
優選的,所述旋轉桶的頂端外側固定有濾網,所述濾網的兩側向上呈四十五度折疊在濾網的上表面形成環形槽。
優選的,所述濾網的底面分布有多個貫穿的濾孔,濾孔圍繞旋轉桶的軸線陣列分布。
一種具備曝氣機構污水治理裝置的治理方法所述治理方法包括以下步驟:
S1:在曝氣池中放入一定數量的藻類用于對污水中的雜質進行分解,然后在對污水進行曝氣處理時,首先接通裝置整體電源并啟動,電源啟動后曝氣器通過曝氣連接管連接的氣泵會順著曝氣連接管向曝氣器中輸送氣體,隨后通過穿插在懸掛架中且底端插入污水中的曝氣器將氣體送入污水中;
S2:氣體通過曝氣器進入污水中后會增加污水中的氧氣含量,污水中的氧氣含量增加后,培養在污水中的藻類會因為充足的氧氣而進行繁殖,并在繁殖過程中對污水中的雜質進行分解處理;
S3:在長時間對污水進行曝氣處理后,曝氣池中培養的藻類會由于水體中的氧氣含量過剩而進行過度繁殖,此時水體中的藻類數量會超出水體可以承受的藻類數量,此時需要對水體中的藻類進行控制;
S4:在對水體中的藻類進行控制時,同時接通驅動電機和升降電機的電源,升降電機啟動后會通過升降齒輪和套管齒輪驅動內螺紋套管進行旋轉,內螺紋套管旋轉后通過和導向絲桿之間的螺紋傳動順著導向絲桿向下移動,內螺紋套管帶動升降塊、連接片和分隔隔板向下移動,直至分隔隔板的底端與曝氣池的內壁底面接觸,此時旋轉桶底端的藻類旋轉收集板剛好一半浸入水中;
S5:此時分隔隔板會將曝氣池中的藻類進行分隔,此時驅動電機啟動并通過驅動齒輪驅動輸送齒輪、輸送螺旋槳和傳動皮帶輪同時轉動,傳動皮帶輪通過同步皮帶帶動同步皮帶輪和同步軸桿旋轉,同步軸桿會通過同步齒輪帶動旋轉齒輪盤和旋轉桶圍繞輸送螺旋槳的軸線進行旋轉,且此時旋轉桶的旋轉方向與輸送螺旋槳的轉動方向相反,且由于同步齒輪與旋轉齒輪盤之間的傳動比大于驅動齒輪和輸送齒輪的傳動比,旋轉桶和輸送螺旋槳的旋轉速度也不相同;
S6:旋轉桶在帶動藻類旋轉收集板旋轉時,會將水體表面漂浮的藻類送入收集槽中,并順著收集槽進入旋轉桶內部,藻類混合水流進入旋轉桶內部后,轉速較高的輸送螺旋槳會將混合了藻類的污水運輸至旋轉桶的頂端并從旋轉桶的頂端流入濾網中,在混合了藻類的污水進入濾網后,污水會穿過濾網回流至曝氣池中,而藻類會被留在濾網中,對曝氣池中的藻類進行清除,避免藻類過渡生長使得水體發臭。
1、本發明定期啟動曝氣池上安裝的漂浮藻類定期處理模塊,使得分隔隔板插入污水中,將污水分為多個面積相同的區域,然后插入污水池中的分隔隔板內側的輸送螺旋槳和旋轉桶在驅動電機、驅動齒輪、輸送齒輪、傳動皮帶輪、同步齒輪和旋轉齒輪盤的驅動下旋轉,可以將被分隔在分隔隔板內側的漂浮藻類進行收集并送入濾網中,保證曝氣池中的藻類處于最佳數量,避免藻類數量過多而導致曝氣池中的水體發臭,且清理速度塊、時間短,相較于人工清理效率高且節省人工成本;
2、本發明通過由插接孔、連接板和中間連接板共同組成的懸掛架,將曝氣器呈矩形陣列安裝在曝氣池的上方,在進行曝氣處理時,使得曝氣池中的水體各處氧氣分布均勻,有利于曝氣池中的藻類均與生長和分布,藻類均勻伸長并均勻分布有利于對污水各處均勻凈化,提高對污水的凈化效果。
(發明人:劉靜;梁莉妮)






