公布日:2023.04.07
申請日:2022.12.31
分類號:C02F9/00(2023.01)I;C02F11/121(2019.01)I;C02F1/66(2023.01)I;C02F1/44(2023.01)I;C02F1/72(2023.01)I;C02F1/42(2023.01)I;C02F1/04(2023.01)I
摘要
本發明涉及水處理系統領域,具體公開一種石墨提純廢水的處理系統及方法。本發明提供的石墨提純廢水的處理系統包括依次設置的調節單元、鈣離子脫除單元、COD氧化單元和鉀鹽回收單元。廢水處理的主線為:通過通入CO2和KOH,在堿性條件下將鈣離子回收;然后經過多級過濾,濾掉廢水中的不溶物,然后經過納濾裝置去除廢水中的硫酸根離子。納濾產水再經過一級反滲透裝置脫鹽,形成一級反滲透濃水和一級反滲透產水,其中一級反滲透濃水需要繼續處理,降低其COD含量,再進一步濃縮、陽離子交換,然后蒸發結晶回收氯化鉀和硝酸鉀。本發明對石墨提純廢水進行處理的同時,可實現水廢的資源化利用,具有較高的經濟效益和環境效益。

權利要求書
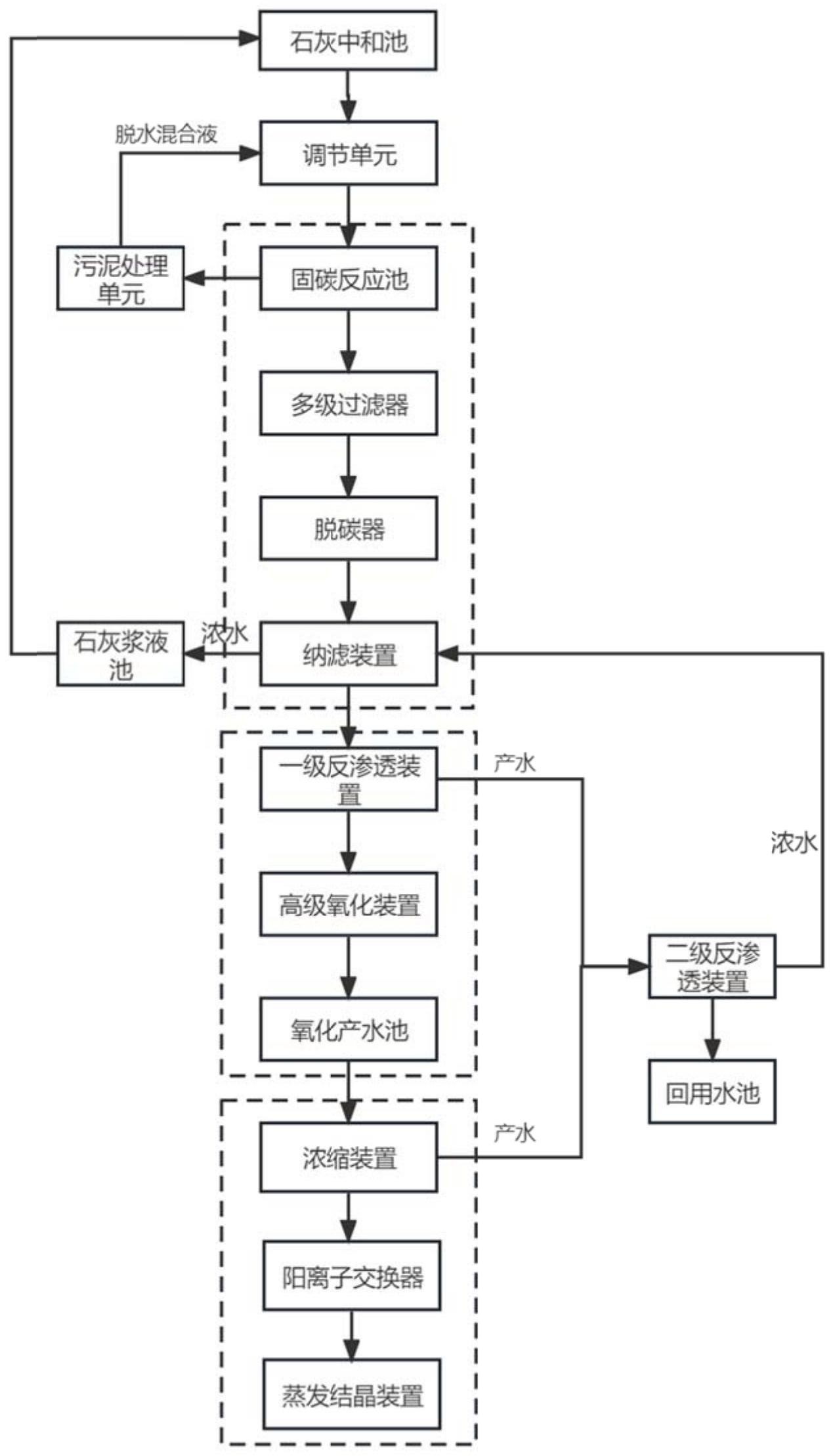
1.一種石墨提純廢水的處理系統,其特征在于,包括:依次設置的調節單元、鈣離子脫除單元、COD氧化單元和鉀鹽回收單元;其中,所述鈣離子脫除單元包括:依次連接的固碳反應池、軟水池、多級過濾器和納濾裝置,在所述固碳反應池內通入CO2和KOH以形成碳酸鈣沉淀,經所述多級過濾器去除碳酸鈣沉淀,濾液經所述納濾裝置截留其中的二價離子至納濾濃水側、納濾產水進入所述COD氧化單元;所述COD氧化單元包括:與所述納濾產水連通的一級反滲透裝置、高級氧化裝置和氧化產水池,其中,所述一級反滲透裝置用于脫鹽至一級滲透濃水側、一級滲透濃水連接至所述高級氧化裝置,在所述高級氧化裝置內通入強氧化劑以將一級反滲透濃水中的有機物氧化成二氧化碳和水、經氧化處理的濃水通入氧化產水池;所述鉀鹽回收單元包括濃縮裝置、陽離子交換器和蒸發結晶器,其中所述氧化產水池的水經所述濃縮裝置和陽離子交換器進入至蒸發結晶器,在所述蒸發結晶器依次析出回收氯化鉀和硝酸鉀。
2.如權利要求1所述的石墨提純廢水的處理系統,其特征在于,所述COD氧化單元中的一級反滲透裝置產水以及所述鉀鹽回收單元中的濃縮裝置產水合并連接至二級反滲透裝置;其中,經所述二級反滲透裝置處理的二級反滲透濃水與所述納濾產水合并進行處理,經所述二級反滲透裝置的產水收集、回用至石墨提純工序;所述納濾裝置的濃水回套至石灰漿液池,與所述石灰漿液池中的氧化鈣反應后回套至石灰中和池,再匯入所述調節單元進行處理。
3.如權利要求1所述的石墨提純廢水的處理系統,其特征在于,還包括污泥處理單元,所述污泥處理單元包括依次設置的污泥儲池、污泥脫水機和污水收集池;其中,所述污泥儲池與所述固碳反應池連接,用于收集和存儲所述碳酸鈣沉淀;所述污泥脫水機,用于對所述碳酸鈣沉淀進行脫水,得碳酸鈣和脫水混合液;所述脫水混合液經所述污水收集池與所述調節單元連接。
4.如權利要求1所述的石墨提純廢水的處理系統,其特征在于,在所述多級過濾器與所述納濾裝置之間還設有脫碳器,所述脫碳器用于脫除廢水中殘余CO2,所述脫碳器的氣體出口與所述固碳反應池連接。
5.如權利要求1所述的石墨提純廢水的處理系統,其特征在于,所述鉀鹽蒸發結晶單元包括依次串聯連接的氯化鉀蒸發結晶裝置和硝酸鉀蒸發結晶裝置。
6.一種石墨提純廢水處理的方法,其特征在于,包括以下步驟:S1、廢水流入調節單元處理后得廢水混合液;S2、所述廢水混合物流經固碳反應池,在所述固碳反應池加入CO2和KOH,得含碳酸鈣沉淀的固碳反應混合物,固液分離得上清液,將所述上清液調節pH至5.8~6.2,由多級過濾器處理,再經納濾裝置處理得納濾濃水和納濾產水;S3、所述納濾產水經一級滲透裝置處理,得滲透產水和滲透濃水,其中滲透濃水進入高級氧化裝置,在所述高級氧化裝置內通入強氧化劑,廢水中的COD生成二氧化碳和水,經氧化處理的濃水通入氧化產水池;S4、所述氧化產水池內的濃水經濃縮、陽離子交換單元處理,得去除二價離子的陽離子交換軟化水,所述陽離子交換軟化水由鉀鹽蒸發結晶單元處理,得氯化鉀和硝酸鉀。
7.如權利要求6所述的石墨提純廢水處理的方法,其特征在于,步驟S2中,所述納濾濃水回套至石灰漿液池,與所述石灰漿液池中的氧化鈣反應后回套至石灰中和池進行固液分離后,再匯入S1中的所述調節單元進行閉環處理。步驟S2中,固液分離所得的碳酸鈣沉淀通過污泥脫水機,得碳酸鈣和脫水混合液,其中,所述脫水混合液回流至S1中所述調節單元進行處理。
8.如權利要求6所述的石墨提純廢水處理的方法,其特征在于,步驟S3中的所述一級滲透產水和步驟S4中濃縮產水合并經二級反滲透裝置處理,其中,二級反滲透濃水與所述納濾產水合并處理,二級反滲透產水收集、回用至石墨提純工序。
9.如權利要求6所述的石墨提純廢水處理的方法,其特征在于,步驟S2中,所述上清液經所述多級過濾器處理后,還進行脫碳處理,以脫除廢水中殘余CO2;其中,脫除的CO2回套至所述固碳反應池。
10.如權利要求6所述的石墨提純廢水處理的方法,其特征在于,步驟S4中,所述陽離子交換軟化水依次經氯化鉀蒸發結晶器和硝酸鉀蒸發結晶器,分別回收氯化鉀和硝酸鉀。
發明內容
針對上述問題,本發明提供一種石墨提純廢水的處理系統及方法,通過對石墨提純廢水分級處理,實現水廢的資源化利用,具有較高的經濟效益和環境效益。
為達到上述發明目的,本發明采用了如下的技術方案:
第一方面,本申請提供一種石墨提純廢水的處理系統,包括:依次設置的調節單元、鈣離子脫除單元、COD(ChemicalOxygenDemand,化學需氧量)氧化單元和鉀鹽回收單元;其中,
所述鈣離子脫除單元包括:依次連接的固碳反應池、軟水池、多級過濾器和納濾裝置,在所述固碳反應池內通入CO2和KOH以形成碳酸鈣沉淀,經所述多級過濾器去除碳酸鈣沉淀,濾液經所述納濾裝置截留其中的二價離子至納濾濃水側、納濾產水進入所述COD氧化單元;
所述COD氧化單元包括:與所述納濾產水連通的一級反滲透裝置、高級氧化裝置和氧化產水池,其中,所述一級反滲透裝置用于脫鹽至一級滲透濃水側、一級滲透濃水連接至所述高級氧化裝置,在所述高級氧化裝置內通入強氧化劑以將一級反滲透濃水中的有機物氧化成二氧化碳和水、經氧化處理的濃水通入氧化產水池;
所述鉀鹽回收單元包括濃縮裝置、陽離子交換器和蒸發結晶器,其中所述氧化產水池的水經所述濃縮裝置和陽離子交換器進入至蒸發結晶器,在所述蒸發結晶器依次析出回收氯化鉀和硝酸鉀。
上述技術方案中,通過向固碳反應池投加CO2和KOH,在堿性條件下,去除廢水中的鈣離子。其中投入的CO2一方面實現碳固定,另一方面回收鈣離子,實現資源回收,再一方面,相比現有技術中采用Na2CO3或NaHCO3回收鈣離子,本申請不會引入多余Na+;投入KOH,一方面確保堿性條件、利于鈣離子的脫除和回收,另一方面,K+可以通過后續的KCl和KNO3的回收實現資源利用。除去鈣離子后的廢水經過納濾單元用于截留廢水中的硫酸根離子,以保證后續結晶析出的鉀鹽的純度。一級反滲透裝置脫鹽至一級反滲透濃水側,然后一級反滲透濃水經強氧化單元將COD濃度降低至符合要求,再濃縮、去除二價陽離子,最后經結晶蒸發回收氯化鉀和硝酸鉀,以實現氯離子和硝酸根離子的回收利用。其中,氯化鉀的純度達到97%以上,硝酸鉀的純度達到99%。綜上,采用上述技術方案,在實現石墨提純廢水治理的同時以及碳酸鈣、氯化鉀和硝酸鉀的回收,具有較高的經濟效益和環境效益。
在一些實施例中,所述COD氧化單元中的一級反滲透裝置產水以及所述鉀鹽回收單元中的濃縮裝置產水合并連接至二級反滲透裝置;其中,經所述二級反滲透裝置處理的二級反滲透濃水與所述納濾產水合并進行處理,經所述二級反滲透裝置的產水收集、回用至石墨提純工序;
所述納濾裝置的濃水回套至石灰漿液池,與所述石灰漿液池中的氧化鈣反應后回套至石灰中和池,再匯入所述調節單元進行處理。
在上述實施例中,一級反滲透裝置產水以及鉀鹽回收單元中的濃縮裝置產水經過二級反滲透裝置處理的產水可以直接排放或者用于石墨提純工序,實現處理用水的循環利用。納濾裝置的濃水中含有硫酸根離子,為了防止納濾濃水中硫酸根離子累積,設置單獨的石灰漿液池,將硫酸根離子形成硫酸鈣沉淀,然后經過用于中和石墨提純廢水的石灰中和池后,并在石灰中和池進行固液分離后,匯入到調節單元進行閉環處理。石灰漿液池的設置使硫酸根離子的濃度可降到1000mg/L以下,延長后續納濾單元的使用壽命,避免了硫酸根離子的富集。
在一些實施例中,還包括污泥處理單元,所述污泥處理單元包括依次設置的污泥儲池、污泥脫水機和污水收集池;其中,所述污泥儲池與所述固碳反應池連接,用于收集和存儲所述碳酸鈣沉淀;所述污泥脫水機,用于對所述碳酸鈣沉淀進行脫水,得碳酸鈣和脫水混合液;所述脫水混合液經所述污水收集池與所述調節單元連接。通過污泥處理單元可實現碳酸鈣沉淀的回收利用,同時產生的廢水重新通過調節單元進入廢水閉環處理系統。
優選地,所述固碳反應池包括三個以上不同的投料區,用于二氧化碳和氫氧化鉀的投放。通過在固碳反應單元設置三個以上不同的投料區,可實現二氧化碳和氫氧化鉀的分級投放,提高二氧化碳的吸收速率,減少設備體積,降低投資成本。
在一些實施例中,在所述多級過濾器與所述納濾裝置之間還設有脫碳器,所述脫碳器用于脫除廢水中殘余CO2,所述脫碳器的氣體出口與所述固碳反應池連接。通過將所述脫碳單元的氣體出口與所述固碳反應池連接,可將脫碳單元產生的二氧化碳進行再利用,實現二氧化碳的全吸收。設置脫碳單元還可以防止殘余的CO2與廢水中殘余Ca2+發生反應,堵塞納濾裝置,降低納濾裝置的使用壽命。
本發明第二方面提供了一種石墨提純廢水回收利用的方法,包括以下步驟:
S1、廢水流入調節單元處理后得廢水混合液;
S2、所述廢水混合物流經固碳反應池,在所述固碳反應池加入CO2和KOH,得含碳酸鈣沉淀的固碳反應混合物,固液分離得上清液,將所述上清液調節pH至5.8~6.2,由多級過濾器處理,再經納濾裝置處理得納濾濃水和納濾產水;
S3、所述納濾產水經一級滲透裝置處理,得滲透產水和滲透濃水,其中滲透濃水進入高級氧化裝置,在所述高級氧化裝置內通入強氧化劑,廢水中的COD生成二氧化碳和水,經氧化處理的濃水通入氧化產水池;
S4、所述氧化產水池內的濃水經濃縮、陽離子交換單元處理,得去除二價離子的陽離子交換軟化水,所述陽離子交換軟化水由鉀鹽蒸發結晶單元處理,得氯化鉀和硝酸鉀。
相對于現有技術,本發明提供的石墨提純廢水回收利用處理方法可實現水廢的資源化利用,對水廢中的鈣離子、氯離子、硝酸根離子以及二氧化碳氣體進行回收利用,具有較高的經濟效益和環境效益。
優選的,固碳反應池分三級加入二氧化碳,第一級加入總量的50%,第二級加入總量的30%,第三級加入總量的20%,用于提高二氧化碳的處理效率,減少設備體積。分三級加入氫氧化鉀,在第一級加入氫氧化鉀調節pH至11.2~11.4,第二級加入氫氧化鉀調節pH至10.2~10.4,第三級加入氫氧化鉀調節pH至9.0~9.2。
可選地,步驟S2中,所述納濾濃水回套至石灰漿液池,與所述石灰漿液池中的氧化鈣反應后回套至石灰中和池進行固液分離后,再匯入S1中的所述調節單元進行閉環處理。
步驟S2中,固液分離所得的碳酸鈣沉淀通過污泥脫水機,得碳酸鈣和脫水混合液,其中,所述脫水混合液回流至S1中所述調節單元進行處理。
優選地,步驟S3中的所述一級滲透產水和步驟S4中濃縮產水合并經二級反滲透裝置處理,其中,二級反滲透濃水與所述納濾產水合并處理,二級反滲透產水收集、回用至石墨提純工序。
優選地,步驟S2中,所述上清液經所述多級過濾器處理后,還進行脫碳處理,以脫除廢水中殘余CO2;
其中,脫除的CO2回套至所述固碳反應池。
優選地,步驟S4中,所述陽離子交換軟化水依次經氯化鉀蒸發結晶器和硝酸鉀蒸發結晶器,分別回收氯化鉀和硝酸鉀。
(發明人:王維;李偉;張寶庫;劉東旭;楊永哲)






