公布日:2023.11.21
申請日:2023.10.09
分類號:E02F5/28(2006.01)I;C02F9/00(2023.01)I;E02F3/88(2006.01)I;E02F3/90(2006.01)I;E02F3/92(2006.01)I;E02F7/06(2006.01)I;E03F9/00(2006.01)I;B63B35/00(2020.01)I
;C02F1/00(2023.01)N;C02F1/52(2023.01)N;C02F1/48(2023.01)N
摘要
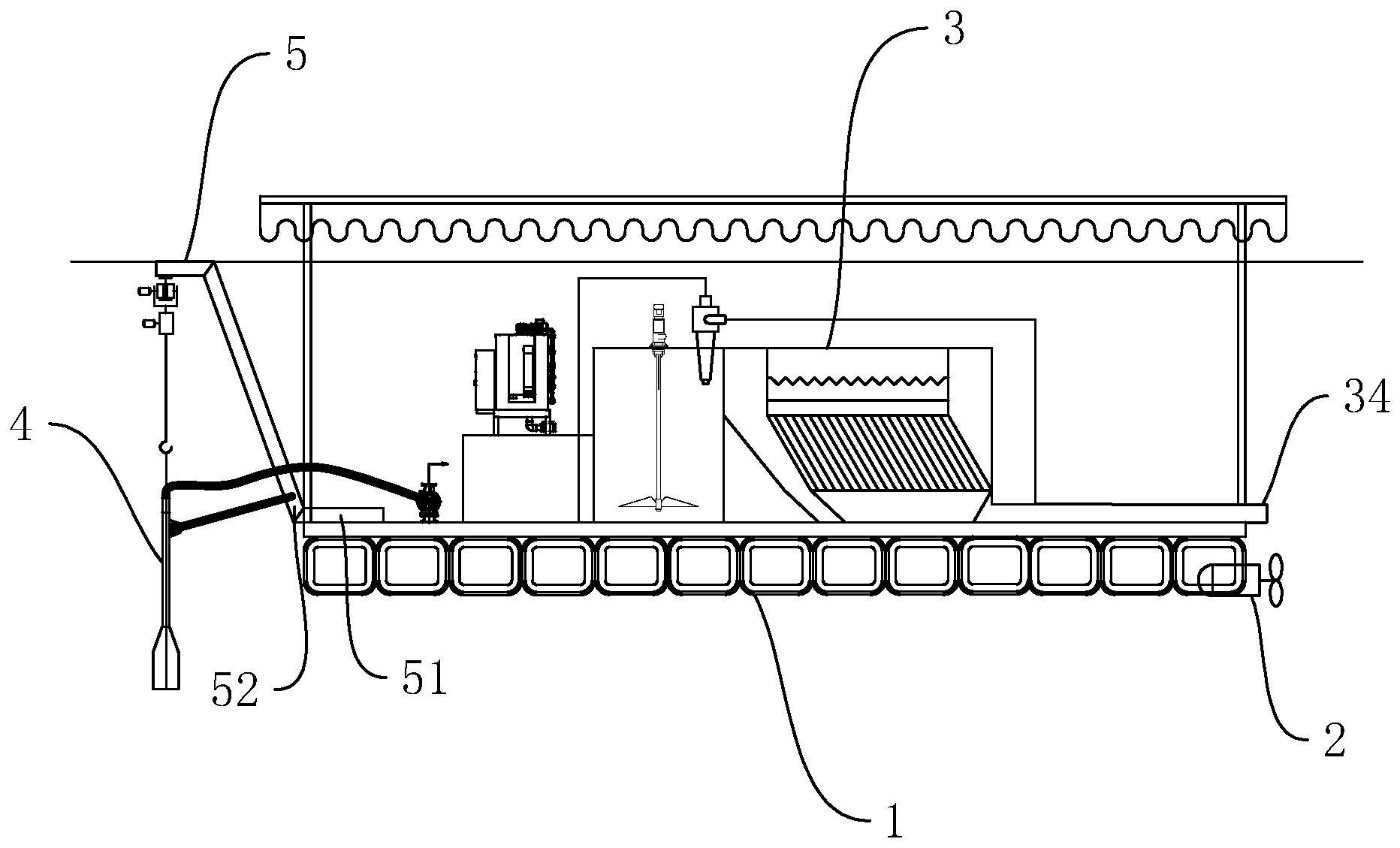
本申請涉及一種浮臺式河湖污水底泥處理裝置,其包括若干浮筒,相鄰的兩個浮筒之間通過連接組件可拆卸連接,若干浮筒連接組成可浮于河湖水面上的浮臺,浮臺的底部設置有用于驅動浮臺移動的驅動裝置,浮臺上安裝有水體治理裝置和抽水裝置,抽水裝置通過輸水管道連通于水體治理裝置,抽水裝置用于抽取河湖水體和污泥并傳輸至水體治理裝置,水體治理裝置用于對河湖水質進行過濾除雜處理,水體治理裝置上連通有排水管道,排水管道的另一端延伸進河湖內,排水管道用于將經過除污過濾后的清水排進原河湖水質內。本申請可以不需要土建即可快速實現河湖水質治理,且使用過程中可移動浮臺實現大區域治理理河湖水質。

權利要求書
1.一種浮臺式河湖污水底泥處理裝置,其特征在于:包括若干浮筒(11),相鄰的兩個所述浮筒(11)之間通過連接組件可拆卸連接,所述若干浮筒(11)連接組成可浮于河湖水面上的浮臺(1),所述浮臺(1)的底部設置有用于驅動浮臺(1)移動的驅動裝置(2),所述浮臺(1)上安裝有水體治理裝置(3)和抽水裝置,所述抽水裝置通過輸水管道連通于水體治理裝置(3),所述抽水裝置用于抽取河湖水體和污泥并傳輸至水體治理裝置(3),所述水體治理裝置(3)用于對河湖水質進行過濾除雜處理,所述水體治理裝置(3)上連通有排水管道(34),所述排水管道(34)的另一端延伸進河湖內,所述排水管道(34)用于將經過除污過濾后的清水排進原河湖水質內。
2.根據權利要求1所述的一種浮臺式河湖污水底泥處理裝置,其特征在于:所述浮臺(1)上還設置有調節裝置(5),所述調節裝置(5)包括固定座(51)、調節桿(52)和橫梁(53),所述固定座(51)固定在浮臺(1)的前端,所述調節桿(52)的一端轉動連接于固定座(51),所述橫梁(53)固定連接于調節桿(52)遠離固定座(51)的一端,所述橫梁(53)上開設有滑軌(531)且滑動連接有滑動設備(532),所述滑動設備(532)連接于抽取裝置(4)。
3.根據權利要求1所述的一種浮臺式河湖污水底泥處理裝置,其特征在于:所述抽取裝置(4)包括抽液泵(41)和抽液頭(42),所述抽液泵(41)和抽液頭(42)連通有抽泥管(43),所述抽液泵(41)安裝在浮臺(1)上,所述抽液頭(42)伸入河湖水內,所述抽液頭(42)連接于滑動設備(532),所述抽液頭(42)上開設有吸泥口,所述吸泥口上開設有高壓沖泥口(421)。
4.根據權利要求1所述的一種浮臺式河湖污水底泥處理裝置,其特征在于:所述水體治理裝置(3)包括過濾設備(31)、凈化設備(32)和水泵,所述水泵、過濾設備(31)和凈化設備(32)通過輸水管道依次連通,所述過濾設備(31)通過管道連通于抽取裝置(4)以接收污水和底泥,所述過濾設備(31)用于將污水和底泥過濾區分并排出無底泥的污水至凈化設備(32),所述凈化設備(32)用于對污水進行凈化治理,形成清水排出至排水管道(34)。
5.根據權利要求4所述的一種浮臺式河湖污水底泥處理裝置,其特征在于:所述水體治理裝置(3)還包括污泥處理設備(33),所述污泥處理設備(33)包括污泥池,所述污泥池通過污泥管連通于過濾設備(31),所述污泥處理設備(33)用于收集處理河湖水質中的污泥。
6.根據權利要求4所述的一種浮臺式河湖污水底泥處理裝置,其特征在于:所述過濾設備(31)包括磁混凝沉淀器(311)和沉淀池(312),所述磁混凝沉淀器(311)連通于抽取裝置(4),所述磁混凝沉淀器(311)用于對污水中的底泥實現絮凝絮體沉降一次過濾,所述沉淀池(312)通過管道連通于磁混凝沉淀器(311),所述沉淀池(312)用于對河湖底泥實現二次過濾,所述沉淀池(312)設置有排泥口,所述排泥口連通于污泥管。
7.根據權利要求4所述的一種浮臺式河湖污水底泥處理裝置,其特征在于:所述凈化設備(32)包括投藥器(321)、污水處理池(322)、清水池(323)和設置在清水池(323)內的水質檢測儀,所述污水處理池(322)連通于沉定池以接收經過處理的污水,所述投藥器(321)與污水處理池(322)相連,所述投藥器(321)用于往進入污水處理池(322)的污水投放藥物,所述清水池(323)通過輸水管與污水處理池(322)連通,所述污水處理池(322)排出的清水進入清水池(323),經所述水質檢測儀檢測后選擇性地排至排水管道(34)或重新進入所述污水處理池(322)。
發明內容
為了提供一種不需要土建且能夠快速處理河湖水體的污水底泥處理裝置,本申請提供一種浮臺式河湖污水底泥處理裝置。
本申請提供的一種浮臺式河湖污水底泥處理裝置采用如下的技術方案:一種浮臺式河湖污水底泥處理裝置,包括若干浮筒,相鄰的兩個所述浮筒之間通過連接組件可拆卸連接,所述若干浮筒連接組成可浮于河湖水面上的浮臺,所述浮臺的底部設置有用于驅動浮臺移動的驅動裝置,所述浮臺上安裝有水體治理裝置和抽水裝置,所述抽水裝置通過輸水管道連通于水體治理裝置,所述抽水裝置用于抽取河湖水體和污泥并傳輸至水體治理裝置,所述水體治理裝置用于對河湖水質進行過濾除雜處理,所述水體治理裝置上連通有排水管道,所述排水管道的另一端延伸進河湖內,所述排水管道用于將經過除污過濾后的清水排進原河湖水質內。
通過采用上述技術方案,通過若干浮筒組裝形成一個可漂浮于河湖水面上的浮臺,驅動裝置可驅動浮臺在河湖水面上移動,安裝在浮臺上的抽水裝置將河湖的水體和污泥抽取上來并通過輸水管道運輸至水體治理裝置,通過水體治理裝置對抽取上來的河湖水體和污泥進行處理,且水體治理裝置將處理后的清水直接排出補回至河湖水系中,實現連續透析處理模式對河湖水體進行治理,進一步提高河湖水質的治理效率,將水體治理裝置安裝在浮臺上,不需要土建即可快速實現河湖水質治理,且使用過程中可移動浮臺實現大區域治理理河湖水質。
可選的,所述浮臺上還設置有調節裝置,所述調節裝置包括固定座、調節桿和橫梁,所述固定座固定在浮臺的前端,所述調節桿的一端轉動連接于固定座,所述橫梁固定連接于調節桿遠離固定座的一端,所述橫梁上開設有滑軌且滑動連接有滑動設備,所述滑動設備連接于抽取裝置。
通過采用上述技術方案,在進行抽取污水和污泥時,可通過調節裝置的橫梁上的滑動裝置使抽取裝置沿橫梁的軸線方向進行橫向滑動,擴大抽取裝置抽取污水污泥的面積,當抽取裝置不使用時,可通過調節桿將抽取裝置縮進回浮臺上,增加抽取裝置的實用性。
可選的,所述抽取裝置包括抽液泵和抽液頭,所述抽液泵和抽液頭連通有抽泥管,所述抽液泵安裝在浮臺上,所述抽液頭伸入河湖水內,所述抽液頭連接于滑動設備,所述抽液頭上開設有吸泥口,所述吸泥口上開設有高壓沖泥口。
通過采用上述技術方案,抽液泵和抽液頭共同作用將河湖水中的污水和污泥抽取上來,通過在抽液頭上開設有高壓沖泥口,能夠沖刷吸附在吸泥口上的污泥,防止吸泥口堵塞,影響抽取污泥污水的效率。
可選的,所述水體治理裝置包括過濾設備、凈化設備和水泵,所述水泵、過濾設備和凈化設備通過輸水管道依次連通,所述過濾設備通過管道連通于抽取裝置以接收污水和底泥,所述過濾設備用于將污水和底泥過濾區分并排出無底泥的污水至凈化設備,所述凈化設備用于對污水進行凈化治理,形成清水排出至排水管道。
通過采用上述技術方案,水泵將抽取裝置中的河湖水中的污水和底泥運輸出至過濾設備,過濾設備對污水和底泥進行過濾處理,將底泥過濾出來,形成純污水運輸至凈化設備,凈化設備對污水進行凈化治理,形成清水排出至排水管道,通過排水管道排回至河湖水域內,實現對河湖水體治理功能。
可選的,所述水體治理裝置還包括污泥處理設備,所述污泥處理設備包括污泥池,所述污泥池通過污泥管連通于過濾設備,所述污泥處理設備用于收集處理河湖水質中的污泥。
通過采用上述技術方案,過濾設備過濾出來的底泥通過污泥管排出至污泥池中,污泥池將污泥集中存儲處理,可定期定量轉運岸上處理,防止污泥再次排入河湖內。
可選的,所述過濾設備包括磁混凝沉淀器和沉淀池,所述磁混凝沉淀器連通于抽取裝置,所述磁混凝沉淀器用于對污水中的底泥實現絮凝絮體沉降一次過濾,所述沉淀池通過管道連通于磁混凝沉淀器,所述沉淀池用于對河湖底泥實現二次過濾,所述沉淀池設置有排泥口,所述排泥口連通于污泥管。
通過采用上述技術方案,通過磁混凝沉淀器和沉淀池對污水中的底泥進行兩次過濾,提高污水中底泥的過濾效果,過濾后的底泥通過污泥管排出至污泥處理設備,實現污水的底泥過濾功能。
可選的,所述凈化設備包括投藥器、污水處理池、清水池和設置在清水池內的水質檢測儀,所述污水處理池連通于沉定池以接收經過處理的污水,所述投藥器與污水處理池相連,所述投藥器用于往進入污水處理池的污水投放藥物,所述清水池通過輸水管與污水處理池連通,所述污水處理池排出的清水進入清水池,經所述水質檢測儀檢測后選擇性地排至排水管道或重新進入所述污水處理池。
通過采用上述技術方案,經過底泥過濾后的污水進入污水處理池內,投藥器往污水處理池內投放凈化污水的藥物,污水處理池內通過藥物的作用實現對污水進行凈化處理,形成凈化處理過的清水運輸至清水池,清水池內的水質檢測儀對清水池內進入的清水進行水質檢測,根據檢測結果后再選擇性地排至排水管,實現污水凈化治理功能。
綜上所述,本申請包括以下至少一種有益技術效果:1.通過若干浮筒組裝形成一個可漂浮于河湖水面上的浮臺,通過將水體治理裝置安裝在浮臺上,不需要土建即可快速實現河湖水質治理,減少成本,且使用過程中可移動浮臺實現大區域治理理河湖水質;2.水體治理裝置對抽取上來的河湖水體和污泥進行處理,且水體治理裝置將處理后的清水直接排出補回至河湖水系中,實現連續透析處理模式對河湖水體進行治理,治理后的河湖水會不斷的流動擴散,一方面促進河湖水稀釋和持續補氧,還可進一步提高河湖水質的治理效率;3.在進行抽取污水和污泥時,可通過調節裝置的橫梁上的滑動裝置使抽取裝置沿橫梁的軸線方向進行橫向滑動,擴大抽取裝置抽取污水污泥的面積;4.通過在抽液頭上開設有高壓沖泥口,能夠沖刷吸附在吸泥口上的污泥,防止吸泥口堵塞,影響抽取污泥污水的效率。
(發明人:王超;張光亞;葛文杰;王宗亮;賈玉民)






