申請日2017.09.26
公開(公告)日2017.12.15
IPC分類號B01F13/10; B01F11/00; C02F1/52
摘要
本發明涉及隧道施工領域,尤其涉及一種隧道施工污水處理用絮凝劑制備設備。本發明要解決的技術問題是提供一種能夠進行多級混勻制備、制備耗時短和方便工人進行收集的隧道施工污水處理用絮凝劑制備設備。為了解決上述技術問題,本發明提供了這樣一種隧道施工污水處理用絮凝劑制備設備,包括有制備箱等;制備箱左側最上部連接有驅動機構,制備箱內連接有制備機構,制備機構與驅動機構連接。本發明通過設置了驅動機構和制備機構,來實現對注入到制備箱內的原料進行混勻制備絮凝劑的目的,通過握住第一連接桿不斷的向外側運動和松放,來實現讓敲塊不斷的對制備箱外壁進行敲打,達到避免原料粘住制備箱內壁的目的。
權利要求書
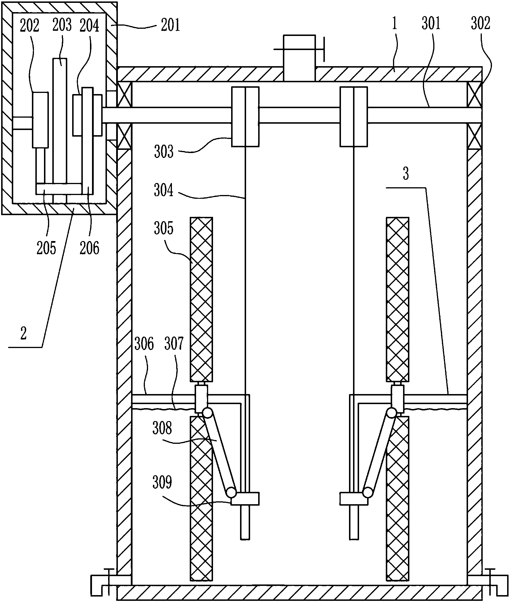
1.一種隧道施工污水處理用絮凝劑制備設備,其特征在于,包括有制備箱(1)、驅動機構(2)和制備機構(3),制備箱(1)左側最上部連接有驅動機構(2),制備箱(1)內連接有制備機構(3),制備機構(3)與驅動機構(2)連接。
2.根據權利要求1所述的一種隧道施工污水處理用絮凝劑制備設備,其特征在于,驅動機構(2)包括有安裝箱(201)、電動推桿(202)、第一滑軌(203)、第一齒輪(204)、第一滑塊(205)和齒條(206),制備箱(1)左側最上部連接有安裝箱(201),安裝箱(201)內底部中間連接有第一滑軌(203),第一滑軌(203)上滑動式連接有第一滑塊(205),第一滑塊(205)與第一滑軌(203)配合,安裝箱(201)內左側中部連接有電動推桿(202),電動推桿(202)底端與第一滑塊(205)頂部連接,制備機構(3)上連接有第一齒輪(204),第一齒輪(204)位于安裝箱(201)內,第一滑塊(205)右端連接有齒條(206),齒條(206)位于第一齒輪(204)前側,齒條(206)與第一齒輪(204)嚙合。
3.根據權利要求2所述的一種隧道施工污水處理用絮凝劑制備設備,其特征在于,制備機構(3)包括有第一轉桿(301)、第一軸承座(302)、繞線輪(303)、拉繩(304)、濾網板(305)、L形導桿(306)、第一彈簧(307)、連桿(308)和導套(309),制備箱(1)內左右兩側下部均連接有L形導桿(306),L形導桿(306)上均滑動式連接有導套(309),導套(309)均與L形導桿(306)配合,上下兩部的導套(309)之間均轉動式連接有連桿(308),導套(309)頂部與底部均連接有濾網板(305),制備箱(1)左右兩壁最上部均連接有第一軸承座(302),第一軸承座(302)上連接有第一轉桿(301),第一轉桿(301)穿過左側的第一軸承座(302)和安裝箱(201),第一轉桿(301)左端與第一齒輪(204)連接,第一轉桿(301)中部對稱連接有繞線輪(303),繞線輪(303)上均繞有拉繩(304),拉繩(304)末端均與下側的導套(309)頂部連接,上側的導套(309)外側與制備箱(1)內左右兩側下部之間均連接有第一彈簧(307)。
4.根據權利要求3所述的一種隧道施工污水處理用絮凝劑制備設備,其特征在于,還包括有錐齒輪(4)、第二軸承座(5)、第二轉桿(6)、螺旋桿(7)和攪拌桿(8),制備箱(1)內后壁中間上部連接有第二軸承座(5),第二軸承座(5)上連接有第二轉桿(6),第二轉桿(6)穿過第二軸承座(5),第二轉桿(6)頂端與第一轉桿(301)偏左部均連接有錐齒輪(4),上下兩側的錐齒輪(4)嚙合,第二轉桿(6)底端連接有螺旋桿(7),螺旋桿(7)上左右對稱連接有攪拌桿(8),攪拌桿(8)中部均開有第一通孔(9)。
5.根據權利要求4所述的一種隧道施工污水處理用絮凝劑制備設備,其特征在于,還包括有扭轉彈簧(10)、第一連接桿(11)和敲塊(12),制備箱(1)左右兩壁下部均連接有扭轉彈簧(10),扭轉彈簧(10)上均連接有第一連接桿(11),第一連接桿(11)末端均連接有敲塊(12),敲塊(12)內側均與制備箱(1)左右兩側下部接觸。
6.根據權利要求5所述的一種隧道施工污水處理用絮凝劑制備設備,其特征在于,還包括有升降桿(13)和支桿(14),下側的導套(309)內側之間連接有升降桿(13),升降桿(13)前后兩側和升降桿(13)底部均勻連接有支桿(14),升降桿(13)底部連接的支桿(14)中部均開有第二通孔(15)。
7.根據權利要求6所述的一種隧道施工污水處理用絮凝劑制備設備,其特征在于,還包括有第二滑塊(16)、第二滑軌(17)、第二彈簧(18)、撞塊(19)、L形連接桿(20)、踩踏板(21)和底板(22),制備箱(1)底部中間連接有第二滑軌(17),第二滑軌(17)底部連接有底板(22),第二滑軌(17)上滑動式連接有第二滑塊(16),第二滑塊(16)與第二滑軌(17)配合,第二滑塊(16)底部中間連接有踩踏板(21),第二滑塊(16)外側均連接L形連接桿(20),左右兩側的L形連接桿(20)頂部與制備箱(1)底部之間均連接有第二彈簧(18),L形連接桿(20)末端均連接有撞塊(19),撞塊(19)頂部均與制備箱(1)底部接觸。
說明書
一種隧道施工污水處理用絮凝劑制備設備
技術領域
本發明涉及隧道施工領域,尤其涉及一種隧道施工污水處理用絮凝劑制備設備。
背景技術
隧道施工,是新奧地利隧道施工方法的簡稱,它是奧地利學者在長期從事隧道施工實踐中,從巖石力學的觀點出發而提出的一種合理的施工方法,是采用噴錨技術、監控量測等并與巖石力學理論構成的一個體系而形成的一種新的工程施工方法。
為了確保戶外隧道施工所產生廢水對有限的自然生態環境部造成破壞,環保部門現在規定隧道施工廢水要經過廢水處理達到排放標準后才能外排,特別是隧道在建于自然保護區、水源保護區等生態敏感區時更應做好環境保護,污水的治理當中通常需要使用到絮凝劑,然而在對絮凝劑制備的過程中,不能進行多級混勻制備導致得到的絮凝劑不純正。
因此亟需研發一種能夠進行多級混勻制備、制備耗時短和方便工人進行收集的隧道施工污水處理用絮凝劑制備設備,來克服現有技術中不能夠進行多級混勻制備、制備耗時長和不方便工人進行收集的缺點。
發明內容
(1)要解決的技術問題
本發明為了克服現有技術中不能夠進行多級混勻制備、制備耗時長和不方便工人進行收集的缺點,本發明要解決的技術問題是提供一種能夠進行多級混勻制備、制備耗時短和方便工人進行收集的隧道施工污水處理用絮凝劑制備設備。
(2)技術方案
為了解決上述技術問題,本發明提供了這樣一種隧道施工污水處理用絮凝劑制備設備,包括有制備箱、驅動機構和制備機構,制備箱左側最上部連接有驅動機構,制備箱內連接有制備機構,制備機構與驅動機構連接。
優選地,驅動機構包括有安裝箱、電動推桿、第一滑軌、第一齒輪、第一滑塊和齒條,制備箱左側最上部連接有安裝箱,安裝箱內底部中間連接有第一滑軌,第一滑軌上滑動式連接有第一滑塊,第一滑塊與第一滑軌配合,安裝箱內左側中部連接有電動推桿,電動推桿底端與第一滑塊頂部連接,制備機構上連接有第一齒輪,第一齒輪位于安裝箱內,第一滑塊右端連接有齒條,齒條位于第一齒輪前側,齒條與第一齒輪嚙合。
優選地,制備機構包括有第一轉桿、第一軸承座、繞線輪、拉繩、濾網板、L形導桿、第一彈簧、連桿和導套,制備箱內左右兩側下部均連接有L形導桿,L形導桿上均滑動式連接有導套,導套均與L形導桿配合,上下兩部的導套之間均轉動式連接有連桿,導套頂部與底部均連接有濾網板,制備箱左右兩壁最上部均連接有第一軸承座,第一軸承座上連接有第一轉桿,第一轉桿穿過左側的第一軸承座和安裝箱,第一轉桿左端與第一齒輪連接,第一轉桿中部對稱連接有繞線輪,繞線輪上均繞有拉繩,拉繩末端均與下側的導套頂部連接,上側的導套外側與制備箱內左右兩側下部之間均連接有第一彈簧。
優選地,還包括有錐齒輪、第二軸承座、第二轉桿、螺旋桿和攪拌桿,制備箱內后壁中間上部連接有第二軸承座,第二軸承座上連接有第二轉桿,第二轉桿穿過第二軸承座,第二轉桿頂端與第一轉桿偏左部均連接有錐齒輪,上下兩側的錐齒輪嚙合,第二轉桿底端連接有螺旋桿,螺旋桿上左右對稱連接有攪拌桿,攪拌桿中部均開有第一通孔。
優選地,還包括有扭轉彈簧、第一連接桿和敲塊,制備箱左右兩壁下部均連接有扭轉彈簧,扭轉彈簧上均連接有第一連接桿,第一連接桿末端均連接有敲塊,敲塊內側均與制備箱左右兩側下部接觸。
優選地,還包括有升降桿和支桿,下側的導套內側之間連接有升降桿,升降桿前后兩側和升降桿底部均勻連接有支桿,升降桿底部連接的支桿中部均開有第二通孔。
優選地,還包括有第二滑塊、第二滑軌、第二彈簧、撞塊、L形連接桿、踩踏板和底板,制備箱底部中間連接有第二滑軌,第二滑軌底部連接有底板,第二滑軌上滑動式連接有第二滑塊,第二滑塊與第二滑軌配合,第二滑塊底部中間連接有踩踏板,第二滑塊外側均連接L形連接桿,左右兩側的L形連接桿頂部與制備箱底部之間均連接有第二彈簧,L形連接桿末端均連接有撞塊,撞塊頂部均與制備箱底部接觸。
工作原理:使用時,工人首先將制備原料注入到制備箱內,再啟動驅動機構來帶動制備機構運作,制備機構則會對注入到制備箱內的原料進行混勻制備,制備完成之后,停止啟用驅動機構,然后對制備箱內制備完成得到的絮凝劑進行收集即可。
因為驅動機構包括有安裝箱、電動推桿、第一滑軌、第一齒輪、第一滑塊和齒條,制備箱左側最上部連接有安裝箱,安裝箱內底部中間連接有第一滑軌,第一滑軌上滑動式連接有第一滑塊,第一滑塊與第一滑軌配合,安裝箱內左側中部連接有電動推桿,電動推桿底端與第一滑塊頂部連接,制備機構上連接有第一齒輪,第一齒輪位于安裝箱內,第一滑塊右端連接有齒條,齒條位于第一齒輪前側,齒條與第一齒輪嚙合。當需要進行制備絮凝劑并且注入制備原料到制備箱內之后,工人控制電動推桿不斷的伸縮,電動推桿則會通過第一滑塊帶動齒條不斷的上下運動,齒條則會通過齒輪來帶動制備機構運作,對注入到制備箱內的原料進行混勻制備,制備完成之后,關閉電動推桿。
因為制備機構包括有第一轉桿、第一軸承座、繞線輪、拉繩、濾網板、L形導桿、第一彈簧、連桿和導套,制備箱內左右兩側下部均連接有L形導桿,L形導桿上均滑動式連接有導套,導套均與L形導桿配合,上下兩部的導套之間均轉動式連接有連桿,導套頂部與底部均連接有濾網板,制備箱左右兩壁最上部均連接有第一軸承座,第一軸承座上連接有第一轉桿,第一轉桿穿過左側的第一軸承座和安裝箱,第一轉桿左端與第一齒輪連接,第一轉桿中部對稱連接有繞線輪,繞線輪上均繞有拉繩,拉繩末端均與下側的導套頂部連接。當齒條不斷的上下運動時,齒條則會齒輪來帶動第一轉桿不斷的順逆交替轉動,第一轉桿則會通過繞線輪來不斷的收放拉繩,當拉繩收起時,拉繩則會拉動下側的導套向上滑動,下側的導套則會通過連桿來推動上側的導套向外側滑動,第一彈簧被壓縮,上側的導套則會帶動上下兩側的濾網板向外側運動,當拉繩放出時,上側的導套則會在第一彈簧彈力的作用下向內側滑動回到原位,進而上側的導套則會帶動上下兩側的濾網板向內側運動回到原位,同時上側的導套則會通過連桿來推動下側的導套向下滑動至回到原位,如此反復,通過讓拉繩不斷的收放來實現讓左右兩部的上下兩側的濾網板不斷的背向或相向運動,這樣,能夠通過濾網板不斷的晃動來實現對注入到制備箱內的原料進行混勻制備的目的。
因為還包括有錐齒輪、第二軸承座、第二轉桿、螺旋桿和攪拌桿,制備箱內后壁中間上部連接有第二軸承座,第二軸承座上連接有第二轉桿,第二轉桿穿過第二軸承座,第二轉桿頂端與第一轉桿偏左部均連接有錐齒輪,上下兩側的錐齒輪嚙合,第二轉桿底端連接有螺旋桿,螺旋桿上左右對稱連接有攪拌桿,攪拌桿中部均開有第一通孔。通過第一轉桿不斷的順逆交替轉動,第一轉桿則會通過錐齒輪來帶動第二轉桿不斷的順逆交替轉動,第二轉桿則會帶動螺旋桿和攪拌桿不斷的順逆交替轉動,這樣,則能夠對注入到制備箱內的原料進行多級混勻制備,攪拌桿上開有的第一通孔,能夠在攪拌桿不斷的順逆交替轉動的過程中不斷的擠壓原料,使得注入到制備箱內的原料得到進一步的混勻制備。
因為還包括有扭轉彈簧、第一連接桿和敲塊,制備箱左右兩壁下部均連接有扭轉彈簧,扭轉彈簧上均連接有第一連接桿,第一連接桿末端均連接有敲塊,敲塊內側均與制備箱左右兩側下部接觸。為了避免原料粘住制備箱內壁,工人在進行收集時,通過握住第一連接桿向外側運動,第一連接桿則會帶動敲塊向外側運動,松開第一連接桿,敲塊則會在扭轉彈簧彈力的作用下回到原位,敲塊則會對制備箱外壁進行敲打,如此反復,通過握住第一連接桿不斷的向外側運動和松放,來實現讓敲塊不斷的對制備箱外壁進行敲打,達到避免原料粘住制備箱內壁的目的。
因為還包括有升降桿和支桿,下側的導套內側之間連接有升降桿,升降桿前后兩側和升降桿底部均勻連接有支桿,升降桿底部連接的支桿中部均開有第二通孔。通過左右兩部的下側的導套不斷的上下運動,來帶動升降桿不斷的上下運動,設置的支桿和開有的第二通孔,能夠對注入到制備箱內的原料再次進行混勻,這樣能夠達到提高制備絮凝劑的效率,縮短制備耗時的目的。
因為還包括有第二滑塊、第二滑軌、第二彈簧、撞塊、L形連接桿、踩踏板和底板,制備箱底部中間連接有第二滑軌,第二滑軌底部連接有底板,第二滑軌上滑動式連接有第二滑塊,第二滑塊與第二滑軌配合,第二滑塊底部中間連接有踩踏板,第二滑塊外側均連接L形連接桿,左右兩側的L形連接桿頂部與制備箱底部之間均連接有第二彈簧,L形連接桿末端均連接有撞塊,撞塊頂部均與制備箱底部接觸。為了方便工人進行收集,通過踩住踩踏板通過第二滑塊向下運動,第二滑塊則會帶動L形連接桿和撞塊向下運動,第二彈簧被拉伸,松開踩踏板,L形連接桿和撞塊則會在第二彈簧彈力的作用下通過第二滑塊向上滑動回到原位,撞塊則會對制備箱底部進行敲打,如此反復,通過不斷的踩松踩踏板,來實現讓撞塊不斷的制備箱底部進行敲打,能夠達到方便工人進行收集的目的。
(3)有益效果
本發明通過設置了驅動機構和制備機構,來實現對注入到制備箱內的原料進行混勻制備絮凝劑的目的,通過讓第二轉桿帶動螺旋桿和攪拌桿不斷的順逆交替轉動,這樣能夠對注入到制備箱內的原料進行多級混勻制備,通過握住第一連接桿不斷的向外側運動和松放,來實現讓敲塊不斷的對制備箱外壁進行敲打,達到避免原料粘住制備箱內壁的目的,通過左右兩部的下側的導套不斷的上下運動,來帶動升降桿不斷的上下運動,能夠對注入到制備箱內的原料再次進行混勻,這樣能夠達到提高制備絮凝劑的效率,縮短制備耗時的目的,能夠對注入到制備箱內的原料再次進行混勻,這樣能夠達到提高制備絮凝劑的效率,縮短制備耗時的目的。







