申請日2017.09.26
公開(公告)日2017.12.29
IPC分類號C02F9/14; C02F103/20
摘要
本發明公開了一種畜禽生產廢水處理裝置,包括廢水收集罐,廢水收集罐的頂部設置有進料管道,廢水收集罐通過焊錫與進料管道緊密焊接,廢水收集罐采用不銹鋼材料制造而成,廢水收集罐的底部右側設置有連接管道,連接管道的中部位置設置有截止閥門,截止閥門與連接管道轉動連接,連接管道的右側設置有處理設備,連接管道與廢水收集罐以及處理設備之間均通過焊錫緊密焊接,處理設備的頂部設置有催化劑添加口,處理設備的正面設置有壓力計,處理設備的前端設置有控制裝置,控制裝置的表面設置有若干操作手柄,操作手柄與控制裝置傳動連接,該種畜禽生產廢水處理裝置,整體體積較小使用較為方便,污水處理效果較好,滿足實際需要。
權利要求書
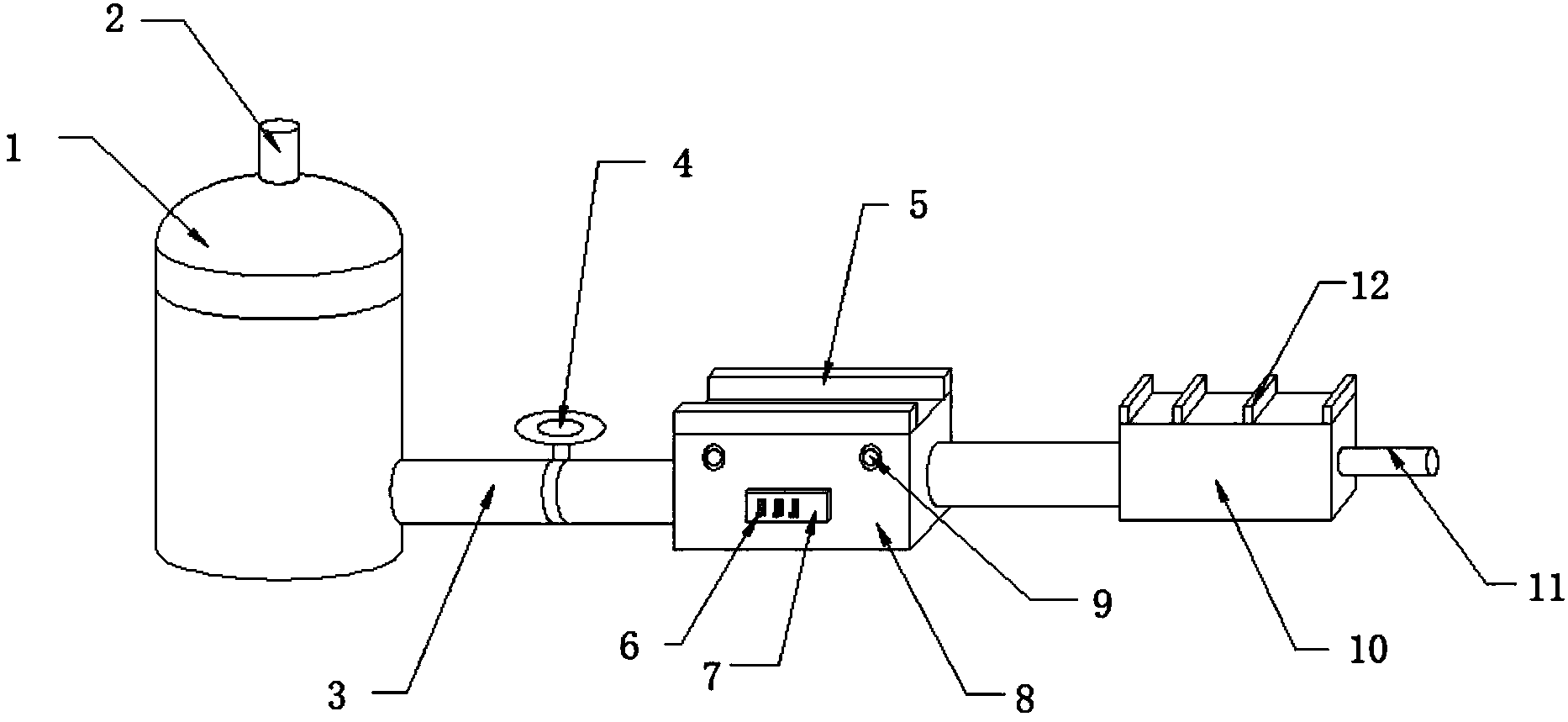
1.一種畜禽生產廢水處理裝置,包括廢水收集罐(1),其特征在于:所述廢水收集罐(1)的頂部設置有進料管道(2),所述廢水收集罐(1)通過焊錫與所述進料管道(2)緊密焊接,所述廢水收集罐(1)采用不銹鋼材料制造而成,所述廢水收集罐(1)的內部容積為1000L,所述廢水收集罐(1)的底部右側設置有連接管道(3),所述連接管道(3)的中部位置設置有截止閥門(4),所述截止閥門(4)與所述連接管道(3)轉動連接,所述連接管道(3)的右側設置有處理設備(8),所述連接管道(3)與所述廢水收集罐(1)以及所述處理設備(8)之間均通過焊錫緊密焊接,所述處理設備(8)的頂部設置有催化劑添加口(5),所述處理設備(8)的正面設置有壓力計(9),所述壓力計(9)與所述處理設備(8)信號連接,所述處理設備(8)的前端設置有控制裝置(7),所述控制裝置(7)的表面設置有若干操作手柄(6),所述操作手柄(6)與所述控制裝置(7)傳動連接。
2.根據權利要求1所述的一種畜禽生產廢水處理裝置,其特征在于:所述處理設備(8)的右側設置有氧化裝置(10),所述氧化裝置(10)與所述處理設備(8)之間設置有連接管道(3),所述氧化裝置(10)的頂部設置有氧化劑添加口(12),所述氧化裝置(10)的右側設置有出料管(11)。
3.根據權利要求1所述的一種畜禽生產廢水處理裝置,其特征在于:所述處理設備(8)的內部設置有電動機(13),所述電動機(13)的具體型號為Y355型。
4.根據權利要求3所述的一種畜禽生產廢水處理裝置,其特征在于:所述電動機(13)之間設置有轉軸(15),所述轉軸(15)的側面設置有旋轉葉片(14),所述旋轉葉片(14)采用耐腐蝕強度高的合金材料制成,所述轉軸(15)與所述電動機(13)之間傳動連接。
5.根據權利要求1所述的一種畜禽生產廢水處理裝置,其特征在于:所述催化劑添加口(12)的內部設置有過濾網,所述過濾網采用芳綸抽絲編制而成。
說明書
一種畜禽生產廢水處理裝置
技術領域
本發明涉及廢水處理技術領域,具體為一種畜禽生產廢水處理裝置。
背景技術
隨著科技的進步和發展,禽畜的飼養和生產變得越來越集中化專業化,在飼養的過程中,會產生大量廢水,這些廢水中混合著動物糞便,飼料以及其他物質,其中氮、磷等物質較多,如不進行處理直接排放出去會使得周圍的生態系統遭到破壞,污染環境,現有的污水處理設備,體積較大,占地面積較大,對于規模較小的畜禽生產企業成本較高實用性較差。
所以,如何設計一種畜禽生產廢水處理裝置,成為我們當前要解決的問題。
發明內容
本發明的目的在于提供一種畜禽生產廢水處理裝置,以解決上述背景技術中提出的現有的污水處理設備,體積較大,占地面積較大,對于規模較小的畜禽生產企業成本較高實用性較差的問題。
為實現上述目的,本發明提供如下技術方案:一種畜禽生產廢水處理裝置,包括廢水收集罐,所述廢水收集罐的頂部設置有進料管道,所述廢水收集罐通過焊錫與所述進料管道緊密焊接,所述廢水收集罐采用不銹鋼材料制造而成,所述廢水收集罐的內部容積為1000L,所述廢水收集罐的底部右側設置有連接管道,所述連接管道的中部位置設置有截止閥門,所述截止閥門與所述連接管道轉動連接,所述連接管道的右側設置有處理設備,所述連接管道與所述廢水收集罐以及所述處理設備之間均通過焊錫緊密焊接,所述處理設備的頂部設置有催化劑添加口,所述處理設備的正面設置有壓力計,所述壓力計與所述處理設備信號連接,所述處理設備的前端設置有控制裝置,所述控制裝置的表面設置有若干操作手柄,所述操作手柄與所述控制裝置傳動連接。
進一步的,所述處理設備的右側設置有氧化裝置,所述氧化裝置與所述處理設備之間設置有連接管道,所述氧化裝置的頂部設置有氧化劑添加口,所述氧化裝置的右側設置有出料管。
進一步的,所述處理設備的內部設置有電動機,所述電動機的具體型號為Y355型。
進一步的,所述電動機之間設置有轉軸,所述轉軸的側面設置有旋轉葉片,所述旋轉葉片采用耐腐蝕強度高的合金材料制成,所述轉軸與所述電動機之間傳動連接。
進一步的,所述催化劑添加口的內部設置有過濾網,所述過濾網采用芳綸抽絲編制而成。
與現有技術相比,本發明的有益效果是:該種畜禽生產廢水處理裝置,整體體積較小,處理設備內部設置有轉軸以及旋轉葉片,可以將廢水進行攪拌,將大顆粒物質破碎,便于與相應的催化劑進行反應,對污水中的氮磷等物質進行分解,同時處理設備外部設置有操縱桿,可以控制內部電動機的轉動速度,使用更加方便,此外設備還設置有氧化裝置,通過氧化劑對內部污水進行氧化處理,使其可以達標排放,該種畜禽生產廢水處理裝置,整體體積較小使用較為方便,污水處理效果較好,滿足實際需要。



