申請日2017.09.26
公開(公告)日2018.01.09
IPC分類號C02F1/461
摘要
本發明涉及一種具有反沖洗功能的焦化廢水電解裝置,包括罐體,所述罐體內設有與罐體固定連接的支撐架,該支撐架上豎直設置有一個陽極板和兩個陰極板,所述陽極板設置在兩個陰極板之間,所述陽極板、陰極板與外部電源連接,該陽極板與陰極板之間布設有多個填充有復合催化劑的載體棒,該多個載體棒通過一吊板吊掛在罐體的頂部,所述支撐架上還設置有多個噴水管,本發明通過在電解裝置內設置多個噴水管,該多個噴水管布設在陰極板、陽極板的兩側,并利用電解過濾后的廢水對電解裝置內的電極板進行反沖洗,充分清理附著在電極板表面的污垢,延長電極板的使用壽命,而且反沖洗的水使用處理后的廢水,循環利用,減少水資源的浪費與污染,節省成本。
權利要求書
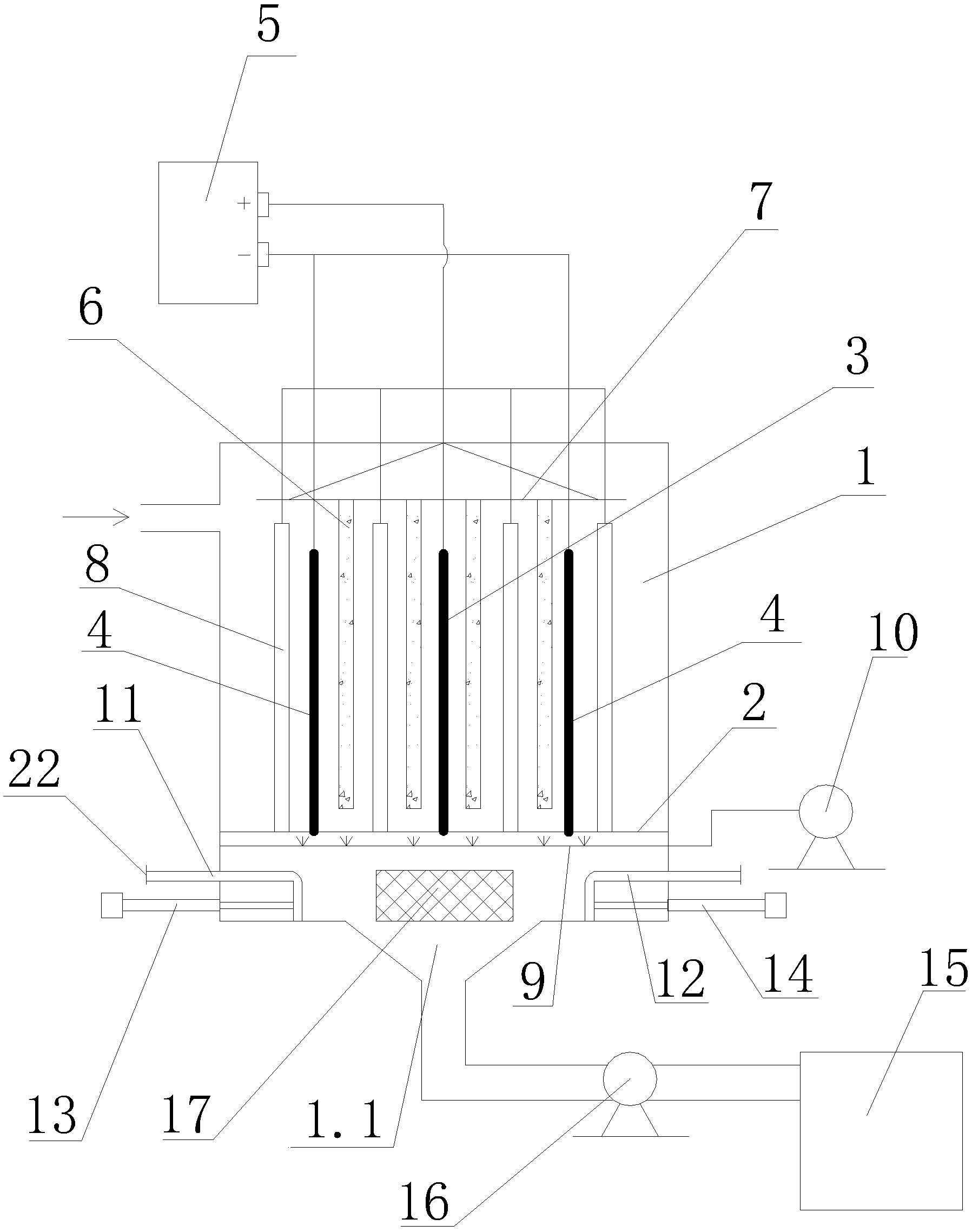
1.一種具有反沖洗功能的焦化廢水電解裝置,包括罐體(1),其特征在于,所述罐體(1)內設有與罐體(1)固定連接的支撐架(2),該支撐架(2)上豎直設置有一個陽極板(3)和兩個陰極板(4),所述陽極板(3)設置在兩個陰極板(4)之間,所述陽極板(3)、陰極板(4)與外部電源(5)連接,該陽極板(3)與陰極板(4)之間布設有多個填充有復合催化劑的載體棒(6),該多個載體棒(6)通過一吊板(7)吊掛在罐體(1)的頂部,該載體棒(6)下端到支撐架(2)的距離大于零,所述支撐架(2)上還設置有多個噴水管(8),所述多個噴水管(8)與支撐架(2)相垂直,所述多個噴水管(8)與陽極板(3)、陰極板(4)相平行,所述罐體(1)內還設有曝氣管(9),該曝氣管(9)位于支撐架(2)的下方,曝氣管(9)連接有進氣泵(10),所述罐體(1)的底部對稱設置有可水平移動的第一刮板(11)和第二刮板(12),所述第一刮板(11)通過第一氣缸(13)驅動,所述第二刮板(12)通過第二氣缸(14)驅動,所述罐體(1)的底部開設有沉淀物出口(1.1),該沉淀物出口(1.1)通過管路連接有沉淀物收集箱(15),該沉淀物出口(1.1)與沉淀物收集箱(15)之間的管路上設有第一抽泵(16),所述罐體(1)的底部側面開有出液口(1.2),該出液口(1.2)上安裝有第一過濾網(17),該出液口(1.2)通過管路連接有廢液罐(18),該出液口(1.2)與廢液罐(18)之間的管路上設有第二抽泵(19),所述廢液罐(18)通過循環泵(20)與所述多個噴水管(8)連接,所述支撐架(2)由緯筋(2.2)與經筋(2.1)交錯而成,該緯筋(2.2)與經筋(2.1)的交叉點的數量等于噴水管(8)的數量,所述噴水管(8)定位在交叉點上,所述緯筋(2.2)與經筋(2.1)的橫截面呈三角形狀。
2.根據權利要求1所述的一種具有反沖洗功能的焦化廢水電解裝置,其特征在于,所述噴水管(8)呈柱狀,該噴水管(8)上密布有多個噴水孔,所述噴水管(8)的高度大于陰極板(4)、陽極板(3)的高度。
3.根據權利要求1所述的一種具有反沖洗功能的焦化廢水電解裝置,其特征在于,所述出液口(1.2)與第二抽泵(19)之間的管路上還設有第二過濾網(21)。
4.根據權利要求1所述的一種具有反沖洗功能的焦化廢水電解裝置,其特征在于,所述第一刮板(11)、第二刮板(12)均包含一水平面與一豎直面,該水平面與豎直面相垂直,所述水平面與豎直面之間為圓弧過渡,所述豎直面的底部與罐體(1)的底面相貼合,所述第一刮板(11)、第二刮板(12)的寬度與罐體(1)底面的寬度相等。
5.根據權利要求4所述的一種具有反沖洗功能的焦化廢水電解裝置,其特征在于,所述水平面的端部延伸有限位擋片(22)。
6.根據權利要求1所述的一種具有反沖洗功能的焦化廢水電解裝置,其特征在于,所述多個噴水管(8)布設在陰極板(4)、陽極板(3)的兩側,所述陽極板(3)的左面、右面均設有噴水管(8),所述陰極板(4)的左面、右面均設有噴水管(8)。
說明書
一種具有反沖洗功能的焦化廢水電解裝置
技術領域
本發明涉及焦化廢水處理領域,尤其涉及一種具有反沖洗功能的焦化廢水電解裝置。
背景技術
焦化廢水是原煤高溫干餾、煤氣凈化和化學產品回收精制等過程產生的一種有毒有害、高濃度難降解有機廢水,其難度在于廢水的可生化性差,能夠對環境造成長期影響,且部分已被證實會致癌,目前,普遍采用的方法是通過氧氣、催化劑與電極電解反應對難降解的污染物進行電解處理,將廢水中大分子有機物及芳香烴化合物降解成小分子或二氧化碳,但是反應后,會有一些污垢粘附在電極板或者催化劑載體上,會影響電極板和催化劑的使用壽命與電解效率。
發明內容
針對上述現有技術的現狀,本發明所要解決的技術問題在于提供一種能對電解裝置進行反沖洗,清除粘附的污垢,延長電極板的使用壽命的具有反沖洗功能的焦化廢水電解裝置。
本發明解決上述技術問題所采用的技術方案為:一種具有反沖洗功能的焦化廢水電解裝置,包括罐體,所述罐體內設有與罐體固定連接的支撐架,該支撐架上豎直設置有一個陽極板和兩個陰極板,所述陽極板設置在兩個陰極板之間,所述陽極板、陰極板與外部電源連接,該陽極板與陰極板之間布設有多個填充有復合催化劑的載體棒,該多個載體棒通過一吊板吊掛在罐體的頂部,該載體棒下端到支撐架的距離大于零,所述支撐架上還設置有多個噴水管,所述多個噴水管與支撐架相垂直,所述多個噴水管與陽極板、陰極板相平行,所述罐體內還設有曝氣管,該曝氣管位于支撐架的下方,曝氣管連接有進氣泵,所述罐體的底部對稱設置有可水平移動的第一刮板和第二刮板,所述第一刮板通過第一氣缸驅動,所述第二刮板通過第二氣缸驅動,所述罐體的底部開設有沉淀物出口,該沉淀物出口通過管路連接有沉淀物收集箱,該沉淀物出口與沉淀物收集箱之間的管路上設有第一抽泵,所述罐體的底部側面開有出液口,該出液口上安裝有第一過濾網,該出液口通過管路連接有廢液罐,該出液口與廢液罐之間的管路上設有第二抽泵,所述廢液罐通過循環泵與所述多個噴水管連接,所述支撐架由緯筋與經筋交錯而成,該緯筋與經筋的交叉點的數量等于噴水管的數量,所述噴水管定位在交叉點上,所述緯筋與經筋的橫截面呈三角形狀。
進一步地,所述噴水管呈柱狀,該噴水管上密布有多個噴水孔,所述噴水管的高度大于陰極板、陽極板的高度,噴水管的底部與電極板的底部等高,都是設置在支撐架上,使得噴水管噴水時,可以從上到下對電極板進行全面的沖洗,沖刷掉表面附著的污垢。
進一步地,所述出液口與第二抽泵之間的管路上還設有第二過濾網,雙重過濾,充分過濾電解后的廢水,防止循環泵將廢水循環至噴水管進行反沖洗時堵塞噴水管。
進一步地,所述第一刮板、第二刮板均包含一水平面與一豎直面,該水平面與豎直面相垂直,所述水平面與豎直面之間為圓弧過渡,所述豎直面的底部與罐體的底面相貼合,所述第一刮板、第二刮板的寬度與罐體底面的寬度相等,豎直面的設置可以清理罐體底面沉積的污垢,水平面的設置是防止污垢太厚,在豎直面往前刮的時候,污垢堆高越過豎直面掉到背側而形成污垢死角,設了水平面后,越過的污垢可以堆積在水平面上,當刮板向后退的時候,罐體的側壁可將水平面上的污垢刮落到罐體底面上,再下一次豎直面向前推的時候,將污垢推至沉淀物出口處排出,圓弧過渡是方便污垢從水平面滑落到罐體底面上,而豎直面的底部與罐體的底面相貼合,第一刮板、第二刮板的寬度與罐體底面的寬度相等,是為了將罐體底面沉積的污垢完全清除,保證污垢能完全被往前刮落至沉淀物出口處排出,防止廢水進入罐體后污垢又混入廢水中進行再次電解,浪費電源又影響效率。
進一步地,所述水平面的端部延伸有限位擋片,刮板水平移動時可以起到臨界位限位保護的作用,當刮板豎直面與沉淀物出口邊緣齊平時,限位擋片與罐體外壁貼合,防止刮板完全伸入罐體內,影響刮板往復運動。
進一步地,所述多個噴水管布設在陰極板、陽極板的兩側,所述陽極板的左面、右面均設有噴水管,所述陰極板的左面、右面均設有噴水管,對電極板的左右面進行充分的沖洗,清除污垢,延長使用壽命。
與現有技術相比,本發明的優點在于:本發明通過在電解裝置內設置多個噴水管,該多個噴水管布設在陰極板、陽極板的兩側,并利用電解過濾后的廢水對電解裝置內的電極板進行反沖洗,充分清理附著在電極板表面的污垢,延長電極板的使用壽命,而且反沖洗的水使用處理后的廢水,循環利用,減少水資源的浪費與污染,節省成本,另外,配合第一刮板、第二刮板的往復移動,保證污垢能完全被刮落至沉淀物出口處排出,防止下一輪廢水進入罐體后污垢又混入廢水中進行再次電解反應,浪費電源又影響效率,本發明能連貫高效地完成電解、抽液、反沖洗、抽液、抽污垢的步驟,利用處理后的廢水反沖洗電極板,延長電極板的使用壽命,循環利用廢水,操作環保。



