申請日2017.09.26
公開(公告)日2018.02.27
IPC分類號C02F9/02; B01D24/10
摘要
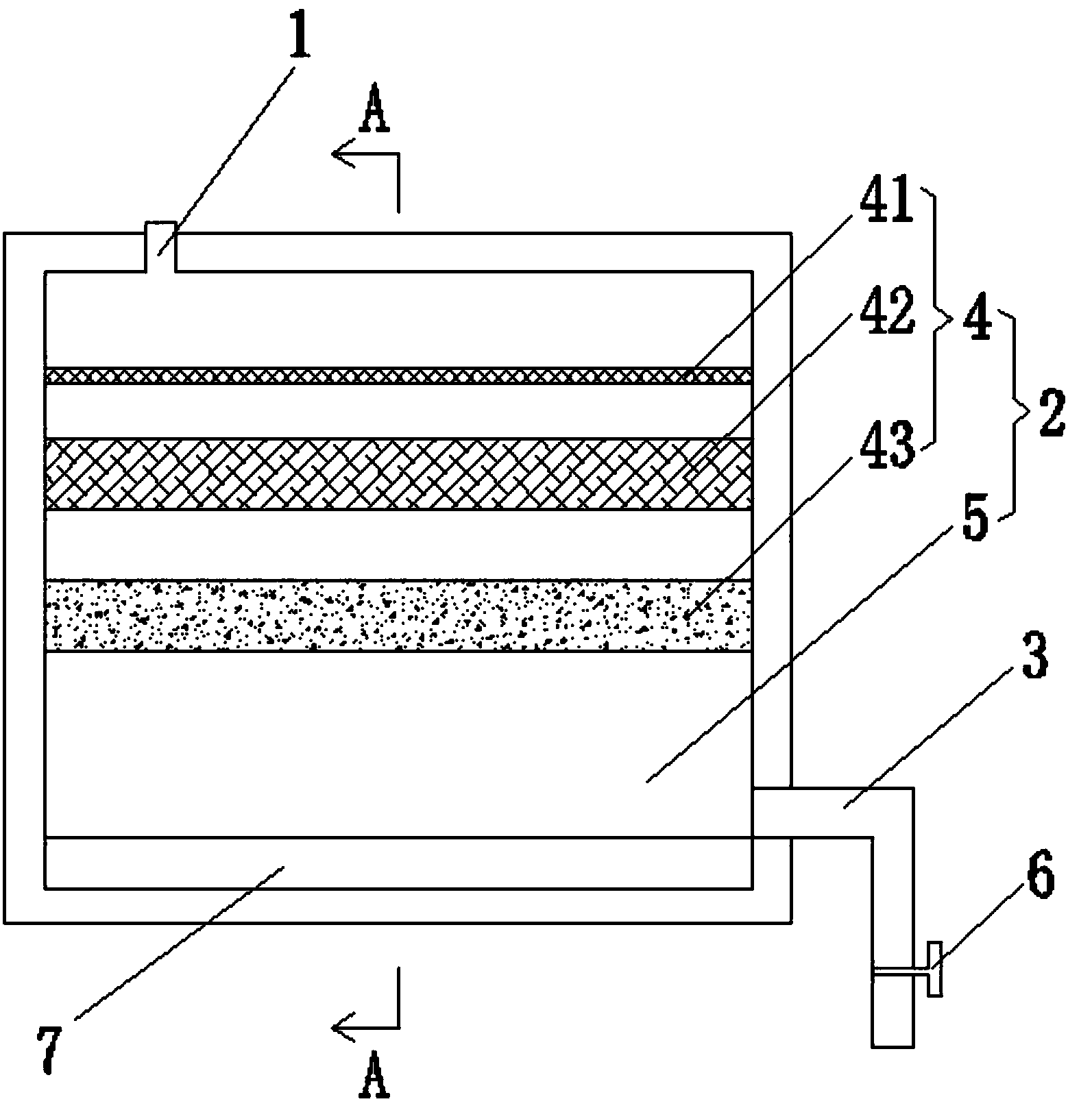
本發明公開了一種雨水處理裝置,包括進水口、雨水凈化器和出水口;所述雨水凈化器從上往下依次設置的凈化層和蓄水層;所述凈化層包括泥沙過濾網、煤渣層和活性炭層;所述凈化層均可拆卸式安裝在雨水凈化器上;所述出水口處設置有出水閥;所述蓄水層的底部設置有一個可拆卸的集屑槽。本發明的雨水處理裝置,將收集到的雨水通過雨水凈化器凈化回用,能在水資源短缺的大環境下實現對雨水的資源化利用,且凈化層和可拆卸式安裝在雨水凈化裝置內,方便根據使用情況進行更換及清理。
權利要求書
1.一種雨水處理裝置,其特征在于:包括進水口(1)、雨水凈化器(2)和出水口(3);所述雨水凈化器(2)從上往下依次設置的凈化層(4)和蓄水層(5);所述凈化層(4)包括泥沙過濾網(41)、煤渣層(42)和活性炭層(43);所述凈化層(4)均可拆卸式安裝在雨水凈化器(2)上;所述出水口(3)處設置有出水閥(6);所述蓄水層(5)的底部設置有一個可拆卸的集屑槽(7);所述出水口(3)的位置高于集屑槽(7);所述泥沙過濾網(41)的一側設置有清洗滾刷(45);所述清洗滾刷(45)連接有驅動裝置,其控制清洗滾刷(45)從泥沙過濾網(41)的一側端部滾向另一側端部。
2.根據權利要求1所述的一種雨水處理裝置,其特征在于:所述煤渣層(42)和活性炭層(43)的下方均安裝有防漏網層(44),用于托住煤渣層(42)和活性炭層(43)。
3.根據權利要求2所述的一種雨水處理裝置,其特征在于:所述泥沙過濾網(41)和防漏網層(44)安裝在抽屜狀固定架(8),其前端鉸接連接在固定架(8)的前端,后端卡扣式可拆卸連接在固定架(8)的尾端;當凈化層(4)拉出雨水凈化器(2)時,泥沙過濾網(41)和防漏網層(44)的后端卡扣式連接處可向下打開。
4.根據權利要求3所述的一種雨水處理裝置,其特征在于:所述凈化層(4)和集屑槽(7)的外側均設置有一個拉手(9)。
說明書
一種雨水處理裝置
技術領域
本發明涉及污水處理技術領域,主要是一種雨水處理裝置。
背景技術
雨水是城市水循環的重要環節,但是隨著城市化的發展,自然地表被建筑、道路、停車場等人工構筑物所替代導致不透水面積增加,而在城市“多水”的同時,又面臨這水資源的嚴重短缺。目前水資源的缺乏已經成為嚴重性的世界問題,在傳統的水資源開發方式已無法再增加水源時,回收利用雨水成為一種既經濟又實用的水資源開發方式。收集雨水并進行處理,最后把處理過的雨水作為日常非飲用水用,如澆花、拖地、洗衣等,能減低家庭供水成本,節省水資源。因此,有必要研發一款適合家庭使用的雨水處理裝置。
發明內容
針對上述存在的技術問題,本發明的目的是:提出了一種可以將收集到的雨水進行處理以便用于日用的雨水處理裝置。
本發明的技術解決方案是這樣實現的:一種雨水處理裝置,包括進水口、雨水凈化器和出水口;所述雨水凈化器從上往下依次設置的凈化層和蓄水層;所述凈化層包括泥沙過濾網、煤渣層和活性炭層;所述凈化層均可拆卸式安裝在雨水凈化器上;所述出水口處設置有出水閥;所述蓄水層的底部設置有一個可拆卸的集屑槽;所述出水口的位置高于集屑槽;所述泥沙過濾網的一側設置有清洗滾刷;所述清洗滾刷連接有驅動裝置,其控制清洗滾刷從泥沙過濾網的一側端部滾向另一側端部。
優選的,所述煤渣層和活性炭層的下方均安裝有防漏網層,用于托住煤渣層和活性炭層。
優選的,所述泥沙過濾網和防漏網層安裝在抽屜狀固定架,其前端鉸接連接在固定架的前端,后端卡扣式可拆卸連接在固定架的尾端;當凈化層拉出雨水凈化器時,泥沙過濾網和防漏網層的后端卡扣式連接處可向下打開。
優選的,所述凈化層和集屑槽的外側均設置有一個拉手。
由于上述技術方案的運用,本發明與現有技術相比具有下列優點:
本發明的雨水處理裝置,通過設置多層雨水凈化層,能夠對雨水進行收集凈化,并儲存在蓄水層中,能夠將收集凈化的雨水用來拖地、洗衣服、澆花和沖洗馬桶等,能在水資源短缺的大環境下實現對雨水的資源化利用。



