申請日2017.09.25
公開(公告)日2017.12.29
IPC分類號C02F11/12
摘要
本發明公開了一種新型污泥脫水干燥輸出裝置,屬于環保設備領域,包括箱體;所述箱體設置有支撐腿,支撐腿和箱體固定連接;所述箱體內部通過隔板分隔成脫水腔和干燥腔;所述脫水腔內設置有脫水裝置,脫水腔右下方設置有排液管;所述第二轉輪通過支架設置在箱體左端,支架和箱體固定連接;所述驅動電機固定設置在箱體右端,驅動電機上設置有第一轉輪;所述第一轉輪和第二轉輪通過傳送帶連接,傳送帶水平設置在干燥腔內;所述脫水罐設置成截面為正方形的空心長方體,頂部與箱體頂部下表面固定連接,底部與隔板上表面固定連接;本發明結構設計合理,使用方便,能夠對污泥先進行脫水處理再進行干燥,干燥效率高。
權利要求書
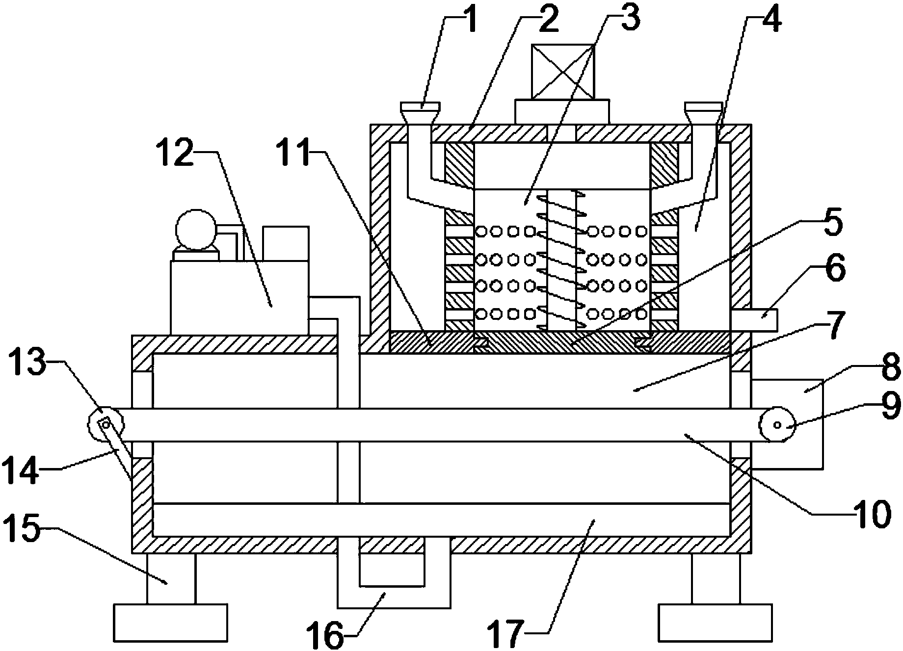
1.一種新型污泥脫水干燥輸出裝置,包括箱體;其特征在于,所述箱體設置有支撐腿,支撐腿和箱體固定連接;所述箱體內部通過隔板分隔成脫水腔和干燥腔;所述脫水腔內設置有脫水裝置,脫水腔右下方設置有排液管;所述干燥腔設置在脫水腔下側,干燥腔內設置有驅動電機、第一轉輪、傳送帶、第二轉輪、支架和空氣散出箱;所述第二轉輪通過支架設置在箱體左端,支架和箱體固定連接;所述驅動電機固定設置在箱體右端,驅動電機上設置有第一轉輪;所述第一轉輪和第二轉輪通過傳送帶連接,傳送帶水平設置在干燥腔內;所述脫水裝置包括脫水電機、脫水塊、脫水罐、絲杠、排水孔和減速器;所述脫水罐設置成截面為正方形的空心長方體,頂部與箱體頂部下表面固定連接,底部與隔板上表面固定連接;所述脫水罐頂部側壁上對稱設置有兩套進料管,且脫水罐表面均布有若干排水孔;所述減速器和脫水電機固定在頂端中心線上;所述空氣加熱裝置包括蓄電池、鼓風管、鼓風機、空氣加熱箱和電熱絲;所述空氣加熱箱固定設置在箱體左側;所述蓄電池固定設置在空氣加熱箱上方左側面上;所述鼓風機固定設置在空氣加熱箱上方右側面上;所述鼓風管一端固定設置在鼓風機上,另一端設置在空氣加熱箱中;所述電熱絲設置在空氣加熱箱中,電熱絲通過導線與蓄電池連接。
2.根據權利要求1所述的新型污泥脫水干燥輸出裝置,其特征在于,所述隔板上設置有抽板,抽板設置成抽屜式,與隔板活動連接。
3.根據權利要求1所述的新型污泥脫水干燥輸出裝置,其特征在于,所述空氣散出箱固定設置在干燥腔底部,空氣散出箱通過進氣管和空氣加熱裝置連接,且空氣散出箱上均勻的設置有空氣散出孔。
4.根據權利要求1所述的新型污泥脫水干燥輸出裝置,其特征在于,所述脫水罐內部設置有絲杠,絲杠上通過螺紋連接的方式與脫水塊連接,且絲杠頂部通過減速器與脫水電機連接。
說明書
一種新型污泥脫水干燥輸出裝置
技術領域
本發明涉及一種環保設備領域,具體是一種新型污泥脫水干燥輸出裝置。
背景技術
污泥含有豐富的養分,不僅能增加土壤氮、磷、鉀養分,還能改善土壤的板結、堿化等性狀,我國作為一個發展中的國家,又是一個農業大國,因此從經濟與資源利用考慮,污泥的土地利用特別一種符合我國國情的方式;在污泥處理設備中,污泥干燥機是常見的處理設備,而現有的污泥干燥機中只能使潮濕的污泥在槳葉的攪動下,與熱載體以及熱表面充分接觸,從而達到干燥目的,這種污泥干燥機對污泥的干燥效率低下,不能滿足現在的污泥處理需要;因此,我們需要一種新型污泥脫水干燥輸出裝置。
發明內容
針對上述現有技術的不足,本發明要解決的技術問題是提供一種結構合理且干燥效率高的新型污泥脫水干燥輸出裝置。
為實現上述目的,本發明提供如下技術方案:
一種新型污泥脫水干燥輸出裝置,包括箱體;所述箱體設置有支撐腿,支撐腿和箱體固定連接;所述箱體內部通過隔板分隔成脫水腔和干燥腔;所述脫水腔內設置有脫水裝置,脫水腔右下方設置有排液管;所述干燥腔設置在脫水腔下側,干燥腔內設置有驅動電機、第一轉輪、傳送帶、第二轉輪、支架和空氣散出箱;所述第二轉輪通過支架設置在箱體左端,支架和箱體固定連接;所述驅動電機固定設置在箱體右端,驅動電機上設置有第一轉輪;所述第一轉輪和第二轉輪通過傳送帶連接,傳送帶水平設置在干燥腔內;所述脫水裝置包括脫水電機、脫水塊、脫水罐、絲杠、排水孔和減速器;所述脫水罐設置成截面為正方形的空心長方體,頂部與箱體頂部下表面固定連接,底部與隔板上表面固定連接;所述脫水罐頂部側壁上對稱設置有兩套進料管,且脫水罐表面均布有若干排水孔;所述減速器和脫水電機固定在頂端中心線上;所述空氣加熱裝置包括蓄電池、鼓風管、鼓風機、空氣加熱箱和電熱絲;所述空氣加熱箱固定設置在箱體左側;所述蓄電池固定設置在空氣加熱箱上方左側面上;所述鼓風機固定設置在空氣加熱箱上方右側面上;所述鼓風管一端固定設置在鼓風機上,另一端設置在空氣加熱箱中;所述電熱絲設置在空氣加熱箱中,電熱絲通過導線與蓄電池連接。
作為本發明進一步的方案:所述隔板上設置有抽板,抽板設置成抽屜式,與隔板活動連接。
作為本發明進一步的方案:所述空氣散出箱固定設置在干燥腔底部,空氣散出箱通過進氣管和空氣加熱裝置連接,且空氣散出箱上均勻的設置有空氣散出孔。
作為本發明再進一步的方案:所述脫水罐內部設置有絲杠,絲杠上通過螺紋連接的方式與脫水塊連接,且絲杠頂部通過減速器與脫水電機連接。
與現有技術相比,本發明的有益效果是:
本發明通過脫水裝置的設置,利用脫水電機驅動絲杠旋轉,絲杠驅動脫水塊向下運動,對污泥進行擠壓脫水,脫出的污水通過脫水罐上的排水孔排出,通過脫水塊多次對污泥進行擠壓,實現污泥的高效脫水;脫水后的污泥落下干燥腔中的傳送帶上,啟動空氣加熱裝置產生熱的空氣通過進氣管進入空氣散出箱中散出,對脫水后的污泥干燥,啟動驅動電機帶動傳送帶轉動,使脫水干燥后的污泥輸送出來。



