申請日2017.09.23
公開(公告)日2018.01.09
IPC分類號C02F9/02; F23G7/00
摘要
本發明公開了一種高效自動化污水處理裝置,包括污水池,污水池的底部設有垃圾存放空間,垃圾存放空間的上方為卵石過濾層,卵石過濾層上設有二次過濾層,垃圾存放空間的一側設有多級液壓缸,多級液壓缸的內層伸縮桿的端面上固定設有推板,垃圾存放空間的下方設有垃圾焚燒空間,垃圾存放空間內設有與垃圾焚燒空間相通的通口,通口上鉸接設有電磁開關板,垃圾焚燒空間的底面成傾斜狀,電磁開關板設置在垃圾焚燒空間的較高處,垃圾焚燒空間的上表面設有向下垂掛的限位片,限位片遠離電磁開關板的一側面設有壓力傳感器;本自動化污水處理裝置通過簡單的結構可以高效的實現對污水的處理,并同時解決了污水中的垃圾問題,體現了環保性。
權利要求書
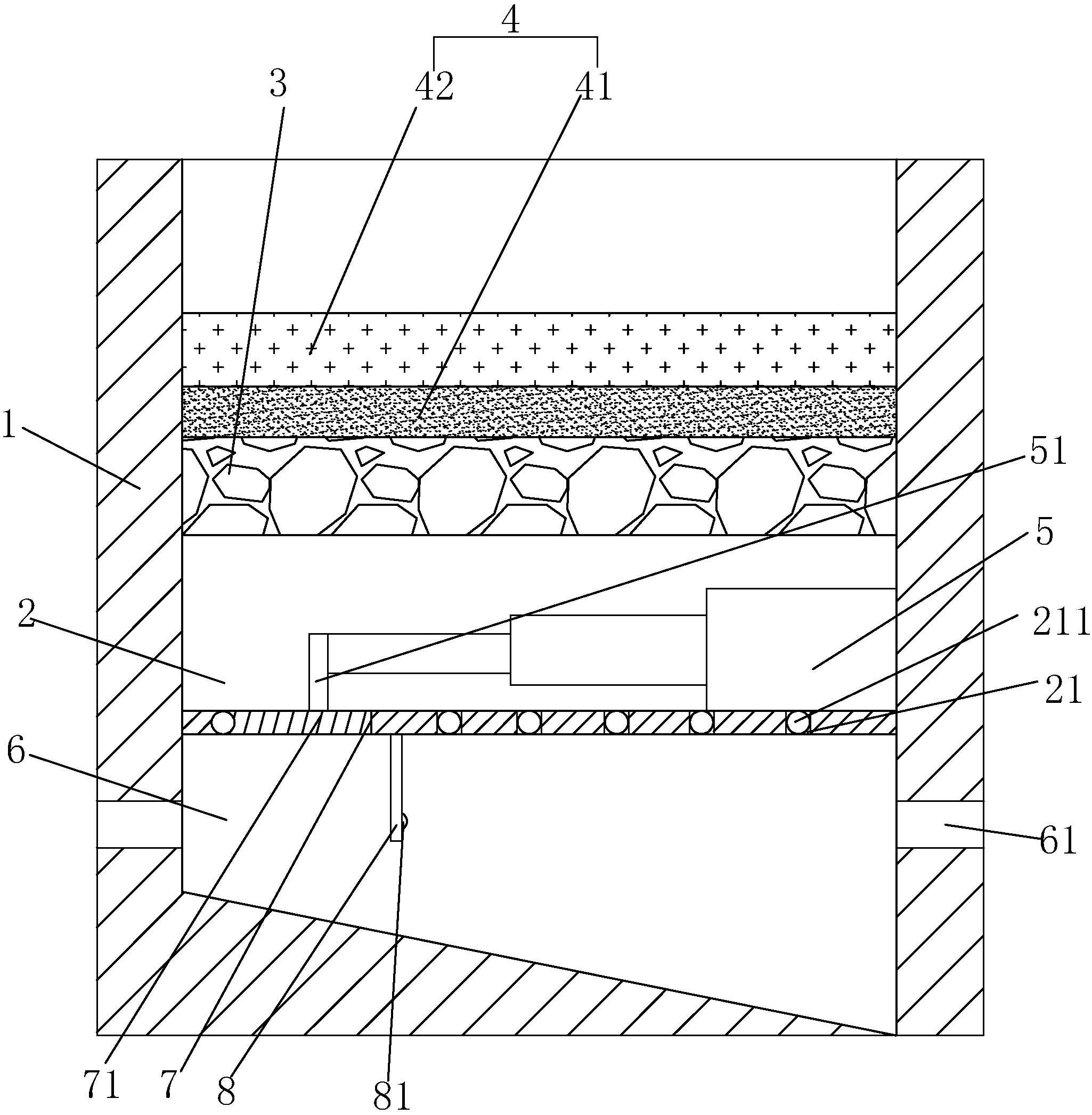
1.一種高效自動化污水處理裝置,包括污水池(1),其特征在于:所述污水池(1)的底部設有垃圾存放空間(2),所述垃圾存放空間(2)的上方為卵石過濾層(3),所述卵石過濾層(3)上設有二次過濾層(4),所述垃圾存放空間(2)的一側設有多級液壓缸(5),所述多級液壓缸(5)的內層伸縮桿的端面上固定設有推板(51),所述垃圾存放空間(2)的下方設有垃圾焚燒空間(6),所述垃圾存放空間(2)內設有與垃圾焚燒空間(6)相通的通口(7),所述通口(7)上鉸接設有電磁開關板(71),所述垃圾焚燒空間(6)的底面成傾斜狀,所述電磁開關板(71)設置在垃圾焚燒空間(6)的較高處,所述垃圾焚燒空間(6)的上表面設有向下垂掛的限位片(8),所述限位片(8)遠離電磁開關板(71)的一側面設有壓力傳感器(81)。
2.根據權利要求1所述的一種高效自動化污水處理裝置,其特征在于:所述二次過濾層(4)從下至上依次包括過濾砂層(41)以及活性炭層(42)。
3.根據權利要求1所述的一種高效自動化污水處理裝置,其特征在于:所述垃圾焚燒空間(6)內設有多個加熱口(61)。
4.根據權利要求1所述的一種高效自動化污水處理裝置,其特征在于:所述垃圾存放空間(2)的底部設有多個與垃圾焚燒空間(6)相通的蒸汽過濾孔(21)。
說明書
一種高效自動化污水處理裝置
技術領域
本發明涉及污水處理技術領域,尤其涉及一種高效自動化污水處理裝置。
背景技術
污水處理是我們現代生活中不可小視的問題之一,正確處理生活污水不僅可以解決環境污染問題,還可以實現水資源的循環利用,大大提高了現代生活的環保意識。
發明內容
本發明的目的是提供一種高效自動化污水處理裝置,可以解決環境污染問題,同時可以實現水資源的循環使用。
本發明的上述技術目的是通過以下技術方案得以實現的: 一種高效自動化污水處理裝置,包括污水池,所述污水池的底部設有垃圾存放空間,所述垃圾存放空間的上方為卵石過濾層,所述卵石過濾層上設有二次過濾層,所述垃圾存放空間的一側設有多級液壓缸,所述多級液壓缸的內層伸縮桿的端面上固定設有推板,所述垃圾存放空間的下方設有垃圾焚燒空間,所述垃圾存放空間內設有與垃圾焚燒空間相通的通口,所述通口上鉸接設有電磁開關板,所述垃圾焚燒空間的底面成傾斜狀,所述電磁開關板設置在垃圾焚燒空間的較高處,所述垃圾焚燒空間的上表面設有向下垂掛的限位片,所述限位片遠離電磁開關板的一側面設有壓力傳感器。
通過采用上述技術方案,污水進入垃圾存放空間內,水液可以通過卵石層進入二次過濾層得到過濾,一些垃圾留在垃圾存放空間內,并在多級液壓缸以及推板的作用下,通過電磁開關板,被推送入垃圾焚燒空間內,當垃圾與限位片上的壓力傳感器抵觸后,可以發出垃圾焚燒空間內存儲垃圾較多的信號,以便后期的焚燒處理;本裝置結構簡單,分工明確,且采用壓力傳感器可以自動檢測垃圾焚燒空間的垃圾存量以便及時進行處理。
本發明進一步設置為:所述二次過濾層從下至上依次包括過濾砂層以及活性炭層。
通過采用上述技術方案,通過過濾砂層以及活性炭層,可以對污水進行較好的過濾處理,使得污水變廢為寶,得到合理的循環使用。
本發明進一步設置為:所述垃圾焚燒空間內設有多個加熱口。
通過采用上述技術方案,在加熱口的作用下,可以實現對垃圾焚燒空間加熱的工作,使得垃圾焚燒空間內不會過于潮濕,不便焚燒。
本發明進一步設置為:所述垃圾存放空間的底部設有多個與垃圾焚燒空間相通的蒸汽過濾孔。
通過采用上述技術方案,在蒸汽過濾孔的作用下,可以使得加熱過程中的蒸汽通過真氣過濾孔再次得到有效利用。
綜上所述,本發明具有以下有益效果:
1、通過簡單的裝置可以高效的實現對污水的處理,并同時解決了污水中的垃圾問題,體現了環保性;
2、用壓力傳感器可以自動檢測垃圾焚燒空間的垃圾存量以便及時進行處理;
3、在加熱口的作用下,可以實現對垃圾焚燒空間加熱的工作,使得垃圾焚燒空間內不會過于潮濕,不便焚燒;
4、在蒸汽過濾孔的作用下,可以使得加熱過程中的蒸汽通過真氣過濾孔再次得到有效利用。



